![]()
Installation Instructions

9 x Max 60W Candelabra Base
Safety Information
READ AND SAVE THESE INSTRUCTIONS
- For your protection and safety, carefully read and understand the information provided in this manual completely before attempting to assemble, install, or operate this product. Failure to do so could lead to electrical shock, fire, or other injuries that could be hazardous or even fatal.
- Before touching any wire, use a voltage tester to make sure it not live.
- When replacing fuses, turn off the main power firs. Make sure your hands and feet are dry, and place one hand behind your back to prevent electricity from making a complete circuit through your chest. Touch the plug fuse only by its insulated rim. Remove cartridge fuses with a fuse puller.
- Use tools with insulated handles and ladders made of wood or fiberglass.
- To protect children, place a safely cover over any unused outlets.
![]()
DANGER: Before staring installation of this fixture or removal of a previous fixture, disconnect the power by turning off the circuit breaker, removing the fuse at the fuse box, or tripping the breaker that controls that circuit. Tape a sign to the panel warning others to leave the circuit alone while you work.
![]()
CAUTION: CONSULT A QUALIFIED ELECTRICIAN IF YOU HAVE ANY ELECTRICAL QUESTIONS. If you have any non-electrical questions about this fixture please contact our customer service via the distributor where you purchased this product from. We will be more than happy to assist.
Pre-Installation
PLANNING INSTALLATION
Read all instructions before installing.
To avoid damaging this product, place it on a soft, non-abrasive surface, such as carpet or cardboard.
TOOLS REQUIRED (NOT INCLUDED)
Phillips Screwdriver
Wire Stripper
Pliers
Safety Goggles
Electrical Tape
Warranty
ONE (1) YEAR WARRANTY
WHAT IS COVERED
The manufacturer warrants this fixture to be free from defects in materials and workmanship for a period of one (1) year from date of purchase.
The warranty applies only to the original consumer purchaser and only to products used in normal use and service.
If this product is found to be defective, the manufacturer’s only obligation, and your exclusive remedy, is the repair or replacement of the product at the manufacturer’s discretion, provided that the product has not been damaged through misuse, abuse, accident, modifications, alteration, way not in accordance with the instructions supplied with the product. This warranty shall not apply to a failure of the product as a result of an accident, misuse, abuse, negligence, alteration, faulty installation, or any other failure not relating to faulty material or workmanship.
This warranty shall not apply to the finish on any portion of the product, such as surface and/or weathering, as this is considered normal wear and tear.
WHAT IS NOT COVERED
The manufacturer does not warrant and specifically disclaims any warranty, whether expressed or implied, of fitness for a particular purpose, other than the warranty contained herein. The manufacturer specifically disclaims any liability and shall not be liable for any consequential or incidental loss or damage, including but not limited to any labor/expense costs involved in the replacement or repair of said product.
ASSEMBLY GUIDE

Assembly Instructions
Assembly of this fixture will be accomplished by first determining the length of stem or chain required, attaching the mounting plate to the junction box, making all necessary electrical connections, hanging the fixture from the ceiling and then installing the fixture.
Safety Warning
Read wiring and grounding instruction and any additional directions. Turn power supply off during installation. If new wiring is required, consult a qualified electrician or local authorities for code requirements.
HARDWARE INCLUDED
[A] [B]
![]()
Mounting plate Support screw(long) x 2
[C] [D]
![]()
Outlet box screw(short) x 2 Hex nut x 2
[E]
![]()
Green ground screw (on mounting plate)
[F] [G]
![]()
Wire connector x 3 Canopy
[H] [I]
![]()
Chain end Loop x 8 Flat washer x 2
[J] [K]
![]()
Finial x 2 Chain
Package 1
[L]
![]()
Socket sleeves x 9Socket sleeves ~ x 9
Package 2
[M]

Connector ringConnector ~ring
Package 3
2081012
STEP 1

STEP 2

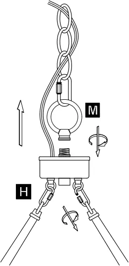
Use the chain end look to connect side hanging rods to the wheel and wiring chamber.
STEP 3

STEP 4

2080212
STEP 5

Connect the lanyard to the mounting bracket to help hold the fixture in place while making the wire connections.

- WHITE SUPPLY
- WHITE OR IDENTIFIED
- WIRE
- FIXTURE WIRE
- WIRE NUTS
- BLACK SUPPLY
- PLAIN OR BLACK
- BARE OR GREEN
- GROUND WIRE FROM SUPPLY
- FIXTURE GROUND WIRE
- GREEN GROUND SCREW
Thank you for choosing ACROMA®
6409













