MARQUANT 920541 Bluetooth Speaker Instruction Manual

OPERATING INSTRUCTIONS
Important! Read the user instructions carefully before use. Save them for future reference. (Translation of the original instructions).
Care for the environment!
Recycle discarded product in accordance with local regulations.
![]()
JULA AB. BOX 363, SE-532 24 SKARA
2022-02-01
© Jula AB
SAFETY INSTRUCTIONS
Read the operating instructions carefully before use.
Save them for future reference.
- This appliance can be used by children from eight years and upwards and by persons with physical, sensorial or mental disabilities, or persons who lack experience or knowledge, if they are supervised or receive instructions concerning the safe use of the appliance and understand the risks involved with its use.
- Do not allow children to play with the appliance.
- Cleaning and maintenance must not be carried out by children unless they are more than eight years old, and are kept under supervision.
- Do not subject the product to knocks and blows
- Do not expose the product to moisture or heat. The performance of the produce is reduced at low temperature.
- Do not burn the product.
- Do not block the speaker.
- Any repairs must be carried out by an authorised service centre. Never try to open or dismantle the product.
TECHNICAL DATA
| Charging voltage | 5 VDC |
| Battery | 3.74 DC / 520 mAh |
| Speaker unit | Size: Ø 45 mm Impedance: 4 Ø Output: 3 W |
| Distortion | ≤ 0.5% |
| Signal/noise ratio | ≥ 95 dR |
| Frequency range | 280 Hz – 16 kHz |
| Connection | Bluetooth 3.0/ AUX in |
| Memory card | MicroSD |
| Standby time | Approx. 12 h |
| Size | 60 x 60 x 50 mm |
| Weight | 230 g |
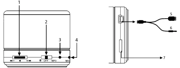
DESCRIPTION

- Multifunction button
- Bluetooth /AV/ Mp3
- Status lamp
- Microphone
- USB port for charging
- AUX connection
- MicroSD card slot
USE
Tap in SD/Bluetooth mode: Go to next track. Press and hold: Increase volume. Disabled in AUX mode.
Tap in SD/Bluetooth mode: Go to previous track. Press and hold: Lower volume. Disabled in AUX mode.
Tap in SD mode: Play/pause music. In Bluetooth mode, tap: Play/pause music/answer/end/cancel call/pair. In Bluetooth mode: Double tap: Call last dialed number. Press and hold for 2 seconds: Dismiss call. In SD/AUX mode, press to switch between SD card and AUX.
Bluetooth pairing
- Check that Bluetooth speaker is switched off.
- Press ON/OFF button to activate Bluetooth mode. The blue status lamp flashes 6 times. Tap the button for playback/pause. The blue and the red status lamps flash alternately.
- Follow instructions for Bluetooth in mobile phone and allow phone to search for Bluetooth headset. This setting is usually made from the Settings, Connection or Bluetooth menu on your phone, where you select an option to find Bluetooth devices.
- The phone finds S10 Bluetooth Speaker and asks if you want to pair the phone with this speaker. Press Yes or Confirm to start the pairing.
- Enter the password or PIN code 0000, then press Yes or Confirm. IMPORTANT: The blue status lamp flashes if the pairing is successful. The blue and the red status lamps flash alternately if the pairing has failed. In which case you must repeat the pairing.
Status lamp
- Green status lamp flashes: SD card MP3 mode.
- Green status lamp flashes: SD card MP3 paused or in AUX mode.
- Blue status lamp flashes: Bluetooth mode.
- Red and blue status lamps flash alternately: Bluetooth pairing.
- Red status lamp goes on: Charging.
- Red status lamp off: Fully charged.
- Red status light flashes: Discharged battery.
Playing music
Music can either be played via Bluetooth or AUX connection. The speaker has an integrated SD card reader so that music in MP3 format can be played directly from the memory card.
FM settings
Connect the stereo audio cable 3.5 mm plug to the speaker connection LINE IN. Press the button to switch to MP3 mode. The blue status lamp goes on. Keep the button WI pressed for 2 seconds to listen to FM music.
Tap in FM mode: Go to next station. Press and hold: Increase volume.
Tap in FM mode: Go to previous station. Press and hold: Lower volume.



















