IKEA 704.071.24 SKURUP Pendant Lamp Black15 Inch

IMPORTANT
Always shut off power to the circuit before starting installation work. In some countries electrical installation work may only be carried out by a authorised electrical contractor. Contact your local electricity authority for advice.
Safety Precaution

Package Contents


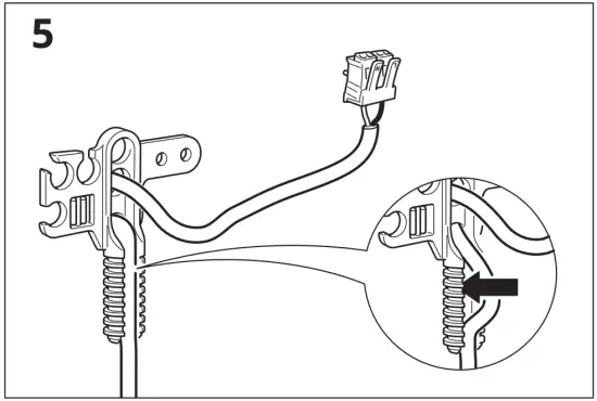
Assembly and Installation















CAUTION! Do not overtighten
.



WHEN CHANGING BULB – use only GU10 LED bulb.
Do not use GU10 Halogen.



















