IKEA 104.883.97 BUNKEFLO 14 Inch Pendant Lamp Instruction Manual
IMPORTANT
Always shut off power to the circuit before starting installation work. In some countries electrical installation work may only be carried out by a authorised electrical contractor. Contact your local electricity authority for advice.
Safety Instruction

Parts List

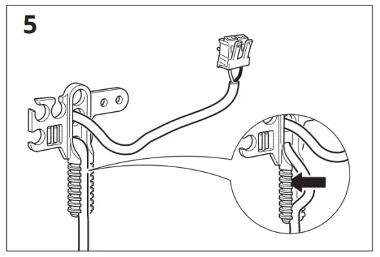
Assembly Instruction















CAUTION! Do not overtighten. 




















