SI Solo Pro 2 Lithium Rechargeable Motors Instruction Manual
Please use these QR Codes to access the updated installation instructions and video tutorials.
Thank you for purchasing an SI product. If you have any questions or need any assistance with your Solo Pro, we would love to help you.
INITIAL CONSIDERATIONS
Thank you for your purchase of Solo/Pro 2. The screen is mountable outdoors, but is not waterproof. It has not been designed to be run or left in the rain or condensing humidity. Also avoid water spray, splash and extreme heat or cold. Protect your Solo/Pro 2. and you can expect years of quality use.
For RF controlled projection screens, they operate at 433.42MHz. Minimize or eliminate any sources of RF interference and shielding. Any metal, wire, or foliage can reduce or block the signal – reducing the operating range of the controls. Other nearby transmitters may cause interference also.
The Short Throw material is not 100% opaque. Light sources behind the screen may be visible in the viewing surface.
PARTS IN THE BOX

SPACER BLOCKS & LEVELING SHIMS
Spacer Blocks are used to clear an obstruction on the wall. Connect spacer block to each wall bracket before installation.

Spacer Blocks & Leveling Shims
Leveling Shims are used if the ceiling or other mounting surface is out of level or plumb. Connect to ceiling brackets before installation.

INSTALLATION
Proper mounting preparation will ensure a great installation. Mounting brackets must be level to each other, as well as plumb. They must be screwed into structural members of some kind, such as ceiling joists or wall studs. You may use the wood screws provided, or other anchors (not provided) capable of carrying the load, that is suitable to the substrate.
DO NOT MOUNT TO HOLLOW SHEET ROCK.
- The drop is adjustable in the field between 0” and the max drop (12”, 24”, or 36”, 2” for short throw) ordered for your screen. Use the provided bracket height (refer to drawing on pg.5 ) that will allow you to extend your screen to achieve the desired vertical position of your viewing area.

- Determine the desired horizontal viewing position centerline of the projected viewing area.
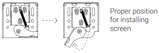
- The Solo/Pro 2 screen must be installed with the brackets between 2 – 8 inches from each end of the cassette. Measure the overall length of the cassette to determine the min and max horizontal spacing of the mounts. Mark the location of the brackets over a stud or ceiling joist and within an appropriate distance from the ends. If the location of the stud or ceiling joist does not allow the center of the screen to match the projector lens’ center, another board or plate will have to be installed on the wall or ceilng to take the mount fasteners.

- Ensure the wall bracket lever is down.

- Hang the screen on the mounting brackets ensuring that all hooks are engaged in the channel in the back of the cassette for all the brackets.

- Slide the cassette left to right to verify it is positioned at your desired viewing location, then lock the screen in place, rotating the wall bracket lever to the upward position.

START UP
- Connect the Charger – Solo/Pro 2 are shipped in sleep mode. Prior to first use, wake the screen from sleep:
a. Plug the charger into the wall, connecting the charging cable to the charger and magnetic charging port on the cassette. The screen will jog up and down once to signal that the motor is now awake.
b. In case that the charger does not wake up the screen, use a thin tool to briefly press the motor button through the small hole just in front of charging port. The screen will jog once to indicate it is awake.
- Remove the weight bar screw before deploying screen (see red label on the weight bar)
- Open the screen up by pressing the down button on the remote and remove the weight bar shipping locks.
FLATTEN THE MATERIAL AT THE WEIGHT BAR
- Bump the bottom of the weight bar up several times along it.
- Use 2 fingers to pinch the material just above the middle of the weight bar and lightly pull on the material to smoothe out any wrinkles at the weight bar.
- Repeat the process to move the material from the center toward the other edge.
- If the screen has been stored in a wrinkled condition. The wrinkles may not fall out immediately. If wrinkles remain after an hour, call 512.832.6939 (opt.1) for further instructions.

RUNNING
Solo/Pro 2 is very easy to operate. The RF remote, supplied with the screen, controls the opening and closing from up to 30 feet away. Enjoy your Solo/Pro 2 !
RF controlled projection screens operate at 433.42MHz. Minimize or eliminate any sources of RF interference and shielding. Any metal, wire, or foliage can reduce or block the signal – reducing the operating range of
the controls. Other nearby transmitters may cause interference also.
CHARGING
The battery can last up to a year on a single charge. You can tell if the battery is low by pressing a button on the remote while looking into the hole at the left end of the cassette. If you see a red light flash, then the battery is low. Simply connect the magnetic charging cable to the magnet and the other end to the wall battery charger. The light on the charger turns red if the battery is charging, and turns green when it is done charging.
PROGRAMMING
Setting the Drop – Solo/Pro 2 is factory preset to have 1” of drop, the distance between the top of the viewing area and the cassette. The drop can be changed to be up to the MAX DROP (see model number or order information for your screen’s max drop) to customize the viewing surface’s vertical position. To adjust the drop, do the following:
- Press the down button on the RF remote to send the screen to its lower limit and wait untill it stops there.
Screen must be at its current lower limit before you can alter it. - Hold the UP and DOWN buttons simultaneously until the screen jogs once.
- Use the DOWN and UP buttons to position the viewing area vertically, up to Max Drop from the bottom of the cassette.
DO NOT set the lower limit (top of viewing) more than MAX DROP from the cassette. Doing so risks damaging the screen material. - Once the viewing area is positioned, hold the middle square STOP button until the screen jogs once. This saves the new lower limit. If this Step is not completed, the screen will jog once after about 3 minutes, indicating that its no longer in program mode, and the motor will only recall the previous lower limit. No changes will be saved.

PAIRING ANOTHER RF REMOTE USING ORIGINAL REMOTE
If another remote was purchased, it will not come paired to your screen motor. To pair it, first take the working remote supplied with the Solo/Pro 2 and press the Program button on the back of the remote until the screen jogs once. Holding the new remote, briefly press* the Program button on the back. The screen will jog once. The new remote is now paired with the screen.

A brief press is about ½ second long. Too short or too long of a button press may not perform the desired operation. Pairing another RF remote.
STORAGE AND TRANSPORT
Before storing or transporting, deactivate the motor by putting it in sleep mode, to make sure the screen does not deploy and get damaged.
Putting The Motor To Sleep – Use a thin tool to hold the button on the back of the remote until the screen jogs once. Press and hold the UP, STOP, and DOWN buttons at the same time until the screen jogs again. The motor is now asleep. To wake up the screen, see the steps outlined in the START UP.

It is preferred to store or transport your Solo/Pro 2 horizontally. Although it may be stored vertically in a closet, or out of the way, it should only be transported horizontally or as near horizontally as possible.
To prevent the weight bar getting stuck in the cassette snap on the shipping locks removed on pg. 12 to the end caps.
Shock and vibration experienced during transportation when vertical may shift the screen material and cause wrinkles. If this occurs, the wrinkles may be removed in most cassettes by manually redistributing the material with the following steps:
- Bump the bottom of the weight bar up several times along it.
- Use 2 fingers to pinch the material just above the middle of the weight bar and lightly pull on the material to smoothe out any wrinkles at the weight bar.
- Repeat the process to move the material from the center toward the other edge.
- If the screen has been stored in a wrinkled condition. The wrinkles may not fall out immediately. If wrinkles remain after an hour, call 512.832.6939 (opt.1) for further instructions.

Storage temperature is important for the battery and the screen material. Store it between 0°C and 50°C.
CARE AND MAINTENANCE
DO NOT scrub the screen material. This will damage the viewing surface.
These screens are designed and engineered to be virtually maintenance free. There are no user serviceable parts inside, except for the screen material. The screen needs to be kept clean – free of dust, dirt, hair, particles, and any other foreign material. Loose material will cause dimples in viewing and can be carefully brushed away with a microfiber cloth. Smudges and splotches from water soluble dirt may be removed with a damp microfiber cloth.
Although the cassette is protective, it should not be handled roughly. Inadvertent small scratches, dents or dings may be unsightly, but they will not affect the operation of the screen. Wipe any smudges or handprints off with a damp cloth. Dry thoroughly after wiping.
TROUBLESHOOTING
Solo/Pro 2 is 100% programmed and tested at the factory. In case of a malfunction please use the troubleshooting guide table.
| Symptom | Possible Cause | Solution |
| RTS won’t operate | Motor is asleep | Plug the charger and connect cable |
| Too far away | Move to within 30 ft. of Solo | |
| Remote orientation | Hold remote vertical | |
| RF interference | Turn off other sources of RF | |
| RF Shielding | Move to position where metal objects, wiring, or foliage does not block the signal. (cont. on next pg) |
| Symptom | Possible Cause | Solution |
| RTS won’t operate (cont.) | Remote battery is dead | Replace with CR2430 3V lithium button battery |
| Antenna is not exposed. | Adjust the antenna location | |
| Vertical wrinkles in screen | Material has shifted at the weight bar | Gently move the material out to each end of the weight bar until smooth |
| When down button is pressed, screen stops halfway | An intermediate stop was set for the motor | Call SI Customer Support to fix at 512.832.6939, Opt. 1 |
| Dimples in screen | Debris rolled up in screen material | Clean material, refer to pg. 21 |
MOUNTING ACCESSORIES
(purchased seperately)

MOTOR ACCESSORIES – RTS
(purchased seperately)

WARRANTY
New SI products carry a standard 1- year warranty on parts and labor.
FCC INFORMATION
This device complies with Part 15 of the FCC Results. Operation is subject to the following two conditions:
- This device may not cause harmful interference, and
- This device must accept any interference received, including that which may cause undesired operation.
NOTE: This equipment has been tested and found to comply with the limits for CLASS B digital device, pursuant to Part 15 of FCC Rules. These limits are designed to provide reasonable protection against harmful interference when the equipment is operated in a commercial environment.
Changes or modifications not expressly approved by the manufacturer could void the user’s authority to operate the equipment.
Solo/Pro 2, the Solo wordmark, and the Screen Innovations logo are registered trademarks and the exclusive property of Screen Innovations.
Screen Innovations
9715-B Burnet Rd, Suite 400 Austin, TX 78758
512.832.6939
www.screeninnovations.com
Technical Support: 512.832.6939
Hours of Support: 7:30am – 5pm CST
screeninnovations.com
[email protected]






























