
INSTALLATION INSTRUCTIONS
RECESSED LUMINAIRES – CARINA V, AURA V, ELSA V, TITAN V, DELIA V
CARINA V Recessed Luminaires
| Type | Ø Mounting hole [mm] |
| AURA V8, ELSA V2 | 246 |
| TITAN V1, DELIA V1 | 278 |
| AURA V10, ELSA V3 | 296 |
| AURA V11, ELSA V4 | 346 |
| AURA V5, TITAN V2, DELIA V2 | 375 |
| ELSA V5 | 416 |
| AURA V9, ELSA V6,TITAN V3, DELIA V3, CARINA V | 470 |

Mounting into solid materials – plasterboard, wood.


| Type | Shade holder | Picture |
| AURA V5,V9 TITAN V1-V3 DELIA V1-V3 CARINA V | Two-step folding clamps | A |
| AURA V8,V10,V11 ELSA V2-V6 | Bayonet | B |





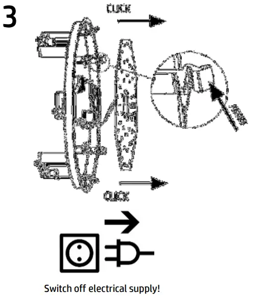
Electrical installation and safety:
Generally it is necessary to follow the EU regulations. At any revision or service activity it is necessary to disconnect lighting fitting from the electrical network. Only qualified and experienced person must do this work. CAUTION when handling the LED module and feeder cables connected to the LED module! Do not touch the LEDs!















