

Braukmann
FK06 DialSet®
LOW LEAD PRESSURE REGULATING FILTER COMBINATION
FK06-101-DUS-LF, FK06-101-DUT-LF, FK06-102-DUS-LF, FK06-102-DUT-LF, FK06-103-DUS-LF, FK06-103-DUT-LF
INSTALLATION INSTRUCTIONS
READ BEFORE INSTALLING

SAFETY GUIDELINES
- Follow the installation instructions.
- Use and install the appliance
• according to its intended use
• in good condition
• with due regard to safety and risk of danger, according to local codes and standards. - Note that the appliance is exclusively for use in the applications detailed in these installation instructions. Any other use will not be considered to comply with requirements and would invalidate the warranty.
- Please take note that any assembly, commissioning, servicing and adjustment work may only be carried out by authorized persons.
- Immediately rectify any malfunctions which may influence safety.
DESCRIPTION OF FUNCTION
The filter combination integrates a pressure reducing valve and a rinsable fine filter cartridge in one appliance.
During normal operation, water flows through the filter mesh to the body outlet. To rinse the filter, the ball valve is opened which discharges the dirt particles. A continous supply of filtered water is available also during the rinse cycle.
The integral pressure reducing valve functions on a balanced force principle whereby the force exerted by a diaphragm is balanced against the force of an adjustment spring. The inlet pressure has no influence on opening or closing of the valve. Inlet pressure fluctuation does not therefore affect the outlet pressure.
APPLICATION
Medium: Water
Inlet pressure: 250 psi (17.24 bar)
Outlet pressure: 25–90 psi (1.5–6 bar)
The filter is constructed for drinking water installations. In case of a process water application the filter has to be proven individually.
WARNING
Install indoors only. Do not use in applications where UV radiation and solvent vapors are present.
TECHNICAL DATA
Installation position: horizontal with filter bowl downward
Operating pressure: 250 psi (17.24 bar)
Operating temperature: 104°F (40°C)
Connection size: 3/4” (19 mm), 1” (25.4 mm), 1-1/4” (31.7 mm)
SCOPE OF DELIVERY
The filter combination consists of:
- Housing with pressure gauge connections on both sides
- Threaded or sweat connections, based on model
- Valve insert complete with diaphragm and valve seat
- Spring bonnet with setting knob and scale
- Adjustment spring
- Fine filter in clear filter bowl
- Ball valve

OPTIONS
FK06-…DUT = with clear filter bowl, threaded union connectors, filter mesh size 50 µm
FK06-…DUS = with clear filter bowl, sweat union connectors, filter mesh size 50 µm
ASSEMBLY
Installations Guidelines
When Installing this Product…
- Read these instructions carefully. Failure to follow them could damage the product or cause a hazardous condition.
- Check the ratings given in these instructions and on the product to make sure the product is suitable for your application.
- Installer must be a trained, experienced service technician.
- After installation is complete, check out the product operation as provided in these instructions.
It is necessary during installation to follow the installation instructions, to comply with local requirements and to follow the codes of good practice.
- Install in horizontal pipework with filter bowl downwards
— This position ensures optimum filter efficiency - Install shutoff valves
- Ensure good access
— Degree of contamination can be easily seen with clear filter bowl
— Simplifies maintenance and inspection - The installation location should be protected against frost.
Assembly Instructions
It is recommended to install an inlet non-return valve.
IMPORTANT
When using soldering connections, do not solder the connections together with the filter combination. High temperature will irreparably damage important internal working components.
- Thoroughly flush pipework.
- Fit filter combination.
• Note flow direction (indicated by arrow).
• Install without tension or bending stresses. - Set outlet pressure.
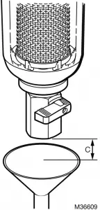
Drain for rinse water
The rinse water must be piped to the drain in such a way that no back pressure can occur.
- Discharge into drain connector.
- Discharge into floor drain.

Fig. 1. Drain for rinse water.
Table 1. Rinsing Quantity.
Filter size | Rinsing quantity | * C in in. (mm) |
| 3/4″–1 1/4“… 101-103 | 6.6 gallons (25 liters) | 3/4 (20) |
* at 58 psi (4 bar) inlet pressure and a rinse duration of 15 seconds
COMMISSIONING
Setting outlet press
Changing the Downstream Pressure (See Fig. 2)
Remove the dust cap from the FK06. The FK06 is factory set to 60 psi.
To adjust the outlet pressure to a desired setting:
- Loosen the locking screw by turning counterclockwise
(Do not remove this screw.) - Turn the adjusting knob counter-clockwise
to reduce pressure or clockwise
to increase pressure. - Lock the setting by turning the locking screw clockwise
. - Replace the dust cap over the dial.
2

ADJUST SETPOINT AT THE DESIRED VALUE BY ACTUATING SELECTOR.

Fig. 2. Changing outlet pressure.
INLET PRESSURE (MAXIMUM): 250 PSI
REDUCED PRESSURE RANGE: 25 TO 90PSI 3/4 IN. TO 1-1/4 IN. SIZE
NOTE: DO NOT DISMANTLE KNOB
SET-POINT READOUT HAS BEEN CALIBRATED IN THE FACTORY AND SET AT 60 PSI. DISMANTLING THE SELECTOR KNOB WILL CANCEL THIS CALIBRATION. RECALIBRATE USING A PRESSURE GAUGE. SEE RECALIBRATION.
MAINTENANCE
We recommend a planned maintenance contract with an installation company.
Inspection
Filter
Frequency: at least every 2 month (depending on local operating conditions.
- Non-compliance can lead to the filter becoming blocked This results in a drop in pressure and decreasing water flow
- The filter meshes are made of stainless steel. A red coating as a consequence of rust from the pipelines has no influence on function or the way the filter works
To be carried out by an installation company or the operator.
NOTES
— Filtered water can be drawn during rinsing.
— If rinsing is into a container, then a suitable container must first be put underneath.
- Open the ball valve by turning the rinse knob. Rinse knob must be vertical.
- Close the ball valve after approximately 15 seconds.
NOTE: A longer rinse period may be necessary if the filter is very dirty (Replace filter mesh see Maintenance)

Fig. 3. Rinsing the filter.
Pressure reducing valve
Replacing the Cartridge (Fig. 4)
The working parts of the FK06, including diaphragm, valve seat, strainer, and disk are all contained in a replaceable cartridge. To replace the cartridge:
1. Close shutoff valve on inlet.
2. Release pressure on outlet side (e.g. through water tap).
3. Close shutoff valve on outlet.
4. Loosen slotted screw (do not remove the screw).
CAUTION
To prevent injury and/or equipment damage, loosen locknut and turn adjusting screw counter-clockwise
to remove spring tension.
5. Slacken tension in compression spring by turning counter clockwise until it does not move anymore.
6. Unscrew Bonnet.
7. Remove slip ring.
8. Remove cartridge using a pliers as a lever.
9. Reassemble bonnet in reverse order.
Recalibrate
If the dial knob assembly has been disassembled recalibration is necessary.
- Close shutoff valve on inlet.
- Release pressure on outlet side (e.g. through water tap).
- Close shutoff valve on outlet.
- Remove dust cap.
- Loosen slotted screw (do not remove screw).
- Fit pressure gauge.
- Slowly open shutoff valve on inlet.
- Set desired outlet pressure (e.g. 60 psi).
- Align scale (e.g. 60 psi) in middle of viewing window.
- Re-tighten slotted screw.
- Slowly open shutoff valve on outlet.
3
1 LOOSEN THE SETPOINT DIAL LOCKING SCREW.
2 UNSTRESS THE PRESSURE SPRING BY TURNING COUNTERCLOCKWISE
.

3 UNSCREW THE BONNET WITH A 1-5/8″ WRENCH.

4 REMOVE CARTRIDGE USING A PLIERS AS A LEVER.
5 WHEN REASSEMBLING, ENSURE O-RINGS AND WASHER ARE PROPERLY INSTALLED
6 REASSEMBLE BONNET IN REVERSE ORDER.

Fig. 4. Replacing the FK06 cartridge.
Cleaning
CAUTION
Do not use any cleansers that contain solvents and/or alcohol for cleaning the plastic parts.
If necessary, the filter bowl and the filter can be cleaned.
Frequency: every 6 month (depending on local operating conditions)
To be carried out by an installation company. Detergents must not be allowed to enter the environment or the sewerage system!
- Close shutoff valve on inlet
- Release pressure on outlet side (e.g. through water tap)
- Close shutoff valve on outlet
- Unscrew filter bowl
• Use double ring wrench ZR06F - Remove filter, clean and reinsert
- Place O-ring onto filter bowl
- Screw in filter bowl hand-tight (without tools)
- Slowly open shutoff valve on inlet
- Slowly open shutoff valve on outlet
DISPOSAL
- Dezincification resistant brass housing
- Brass connections
- High-quality synthetic material valve insert
- High-quality synthetic material spring bonnet with adjustment knob and setting scale
- Spring steel adjustment spring
- Stainless steel fine filter
- Shock-resistant, clear transparent synthetic material filter bowl
- Fibre-reinforced NBR diaphragm
- NBR seals
NOTE: Observe the local requirements regarding correct waste recycling/disposal!
4
TROUBLESHOOTING
Table 2. Troubleshooting.
Problem | Cause | Remedy |
| Beating sounds | Filter combination is too large | Call our Technical Customer Services |
| Water is escaping from the spring bonnet | Diaphragm in valve insert is faulty | Replace valve insert |
| Too little or no water pressure | Shutoff valves upstream or downstream from filter not fully open | Open the shutoff valves fully |
| Filter combination is not set to the desired outlet pressure | Set outlet pressure | |
| Filter mesh dirty | Clean or replace filter | |
| Not fitted in flow direction | Fit filter in flow direction (note direction of arrow on housing) | |
| The outlet pressure set does not remain constant | Filter mesh dirty | Clean or replace filter |
| Valve insert, sealing ring or edge of nozzle is contaminated or worn | Replace valve insert | |
| Rising pressure on outlet (e.g. in boiler) | Check check valve, safety group etc. |
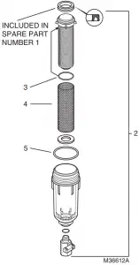
Spare Parts


Fig. 5. Spare parts diagram.
Table 3. Filter Combination FK06.
No | Description | Dim. | Part No. |
| 1 | Valve cartridge complete (without filter insert) | 3/4″ (19 mm) | D06FA-1/2 |
| 1” (25.4 mm), 1-1/4” (31.7 mm) | D06FA-1B | ||
| 2 | Clear filter bowl complete with filter and carrier body | 3/4″ (19 mm) | KF06-1/2AZ |
| 1” (25.4 mm), 1-1/4” (31.7 mm) | KF06-1AZ | ||
| 3 | O-ring-set for carrier body (pack of 10) | 3/4″ (19 mm) | 0903127 |
| 1” (25.4 mm), 1-1/4” (31.7 mm) | 0903128 | ||
| 4 | Replacement filter insert 50 micron | 3/4″ (19 mm) | AS06-1/2C |
| 1” (25.4 mm), 1-1/4” (31.7 mm) | AS06-1C | ||
| 5 | O-ring-set for filter bowl (pack of 10) | 3/4″ (19 mm) | 0901246 |
| 1” (25.4 mm), 1-1/4” (31.7 mm) | 0901499 | ||
| 6 | Double ring wrench For removing filter bowl (no fig.) | 1/2” (12.7 mm)– 1-1/4” (31.7 mm) | ZR06F |
NOTE: Spare parts can be purchased separately only in addition.
5
ACCESSORIES
| ZR06K | Double-ring wrench For removing spring bonnet |
| K06U1077/U (3/4″) | Union kit for 3/4-in. (19 mm) NPT valves. Includes union nut, threaded tailpiece, and gasket |
| K06U1085/U (1″) | Union kit for 1-in. (25.4 mm) NPT valves. Includes union nut, threaded tailpiece, and gasket |
| K06U1135/U (1-1/4″) | Union kit for 1-1/4-in. (31.7 mm) NPT valves. Includes union nut, threaded tailpiece, and gasket |
| K06U1101/U (3/4″) | Union kit for 3/4-in. (19 mm) sweat valves. Includes union nut, sweat tailpiece, and gasket |
| K06U1119/U (1″) | Union kit for 1-in. (25.4 mm) sweat valves. Includes union nut, sweat tailpiece, and gasket |
| K06U1143/U (1-1/4″) | Union kit for 1-1/4-in. (31.7 mm) sweat valves. Includes union nut, sweat tailpiece, and gasket |

Resideo Technologies, Inc.
1985 Douglas Drive North, Golden Valley, MN 55422
1-800-468-1502
38-00059EFS—05 M.S. Rev. 08-20 | Printed in United State
© 2020 Resideo Technologies, Inc. All rights reserved.
This product is manufactured by Resideo Technologies, Inc. and its affiliates.



















