036 31 CenterBase 2 Adjustable Base
Instruction Manual
Completely read through the operating instructions, the,, Warranty and Additional Information” booklet as well as the latest information under the internet link at the end of these instructions. Follow the instructions they contain. This document must be kept in a safe place and passed on together with the device.
Function / Application
Alignment base for SuperPlane-Laser 3D / 3G Pro
- Robust metal base with vernier adjustment
- The free-moving alignment socket allows the floor or ceiling cross to be positioned exactly, even when the unit is mounted on a tripod.
- Adjustable feet and circular bubble level for optimum set-up
- For 3D line laser with 5/8″ thread

- 5/8″ threaded adapter
- Threaded adapter holder
- Free-moving base
- Circular bubble level
- Adjustable feet
- 5/8″ tripod thread
- Lock
- Threaded adapter lock screw
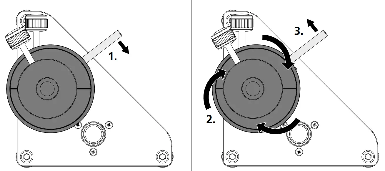
- Vernier adjustment mechanism
Mounting laser measuring devices
Alignment with free-moving base
Positioning 3D line laser
Alignment with vernier adjustment
Technical requirements 3D line laser
Technical data
(Subject to technical alterations. 18W05)
| Angle of rotation | 3° |
| Weight | 650 g |
| Dimensions (W x H x D) | 120 x 150 x 140 mm |
EU directives
This device complies with all necessary standards for the free movement of goods within the EU.
Further safety and supplementary notices at: http://laserliner.com/info?an=centbas2

![]()
SERVICE
Umarex GmbH & Co. KG
Laserliner Möhnestraße 149, 59755 Arnsberg, Germany
Tel.: +49 2932 638-300,
Fax: +49 2932 638-333
[email protected]
Umarex GmbH & Co. KG
Donnerfeld 2 59757 Arnsberg, Germany
Tel.: +49 2932 638-300,
Fax: -333 www.laserliner.com
8.036.96.44.1
Rev18W05




















