
CP-C11G
CROSSLINE LASER LEVEL
CP-C11G Product Code: 400114
INSTRUCTION MANUAL
Laser Safety
Read the following safety instructions before attempting to operate this tool.
Keep these instructions in a safe place or store in the carry pouch for future reference.
WARNING! SAVE ALL WARNINGS & INSTRUCTIONS FOR FUTURE REFERENCE.
Read and understand all instructions.
- Use the tool only with the specifically designated batteries.
- Store the tool out of reach of children and other untrained persons. Laser tools are dangerous in the hands of untrained users.
- Use only accessories that are recommended for your model.
- Tool service must be performed only by qualified repair personnel. Repairs, service or maintenance performed by unqualified personnel will void the warranty. Only approved and authorized service technicians can carry out warranty repairs.
- Do not use optical tools such as a telescope or transit to view the laser beam. Serious eye injury could result.
- Do not place the tool in a position which may cause anyone to intentionally or unintentionally stare into the laser beam. Serious eye injury could result.
- Do not position the tool near a reflective surface which may reflect the laser beam toward anyone’s eyes. Serious eye injury could result.
- Do not set up the tool at a position where the laser beam can cross any person at head height.
- Do not let children come in contact with the tool.
- Turn the tool off when it is not in use. Leaving the tool on increases the risk of staring into the laser beam.
- Do not operate the tool around children or allow children to operate the tool. Serious eye injury may result.
- Position the tool securely on a level surface. Damage to the laser or serious injury could result if the laser falls.
- Do not remove or deface warning labels.
WARNING!
DO NOT DISASSEMBLE THE LASER.
There are no user serviceable parts inside.
Disassembling the tool will void all warranties on the product. Do not modify the tool in any way. Modifying the tool may result in hazardous laser radiation exposure.
CAUTION!
CLASS 2 LASER PRODUCT
- Never look into the laser beam directly and intentionally.
- Do not use optical tools to view the laser beam.
- Do not set up the tool at a position where the laser beam can cross any person at head height.
- Do not let children come in contact with the laser.
Item Checklist
Please ensure the following items are included with your laser level.
If anything is missing please contact your retailer.

CP-11G KIT
Using the Laser

FRONT OVERVIEW
POWER SUPPLY
- The laser level is powered by two AA alkaline batteries.
BATTERY REPLACEMENT
- Remove the battery cover door and the batteries.
- Insert the batteries according to polarity and replace the battery cover door (Fig.1 & Fig.2).
SET UP
- Select a place as close as practical to the worksite. Ensure the location is clear of traffic.
- Place the laser level on a level surface such as a bench or mount.
OPERATION
- To turn the laser level on, slide the power switch to the “on” position. Self-levelling will commence and all the beams will activate.
- If the laser level is outside the self-leveling range the laser beam will turn off. If this occurs, reposition the laser level onto a level surface until the laser level can level off and laser beams will reactivate.
The laser diode is visible up to 20m indoors in ideal light conditions. The operating range will be significantly reduced under very bright outdoor conditions.
- To turn the laser level off, slide the power switch to the ‘off’ position. Always turn the laser level off before moving the laser level around the job site.

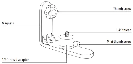
Magnetic Mount![]()
OVERVIEW
USING THE MAGNETIC MOUNT
Mounting onto a magnetic surface
- Attach the laser level to the mount using the thumbscrew.
- Attach the mount to a metal surface, ensuring that the mount has a stronghold before releasing your hands (Fig. 3).
- To rotate the laser level on the mount, loosen the thumbscrew, position the laser level, and then re-tighten the thumbscrew.

Care & Maintenance
- This is a precision measuring tool and should always be handled with care and transported within the carry pouch provided.
- Always turn the tool off when transporting the laser level or moving around the job site.
- Whenever possible, store the tool in a dry, shady location.
- When the tool is not in use or is being stored, it is highly recommended to remove the batteries.
- Calibration of the tool is recommended: every six months, if ongoing accurate levelling is required, or an impact has occurred.
- The operator should check the accuracy of the tool before precision levelling is attempted. Failure to do so may result in inaccurate measurements.
- Clean the tool with a dry, soft cloth after use in dusty, damp or wet conditions before storing.
- Smudges and fingerprints may be removed with a damp tissue or a soft, lint-free cloth.
Trouble Shooting
| ERROR | CAUSE & SOLUTION |
| Laser does not turn on | • Check the batteries. They may be in the wrong way or need replacing. • Check the battery compartment for signs of damage and ensure that the compartment is clean and that the battery terminals are not bent. |
| Laser does not remain on for long periods of use | • Check the batteries. They may need replacing. • Check the battery compartment for signs of damage and ensure that the compartment is clean and that the battery terminals are not bent. |
| The laser does not level off | • The tool may be outside its self levelling range and may require an adjustment before self-levelling can commence. • The tool may have impact damage. |
Warranty
This tool comes with a standard 3 year warranty. Extend the warranty of your laser level to 7 years by registering online. See website for terms and conditions.
www.spoton.com.au/warranty-information
All Spot-on measurement tools are carefully checked and tested to our precise quality assurance standards.
We offer a warranty in accordance with the following conditions:
- Our warranty provides the correction of deficiencies to the tool once verified by an authorised service centre that the deficiencies were caused by a manufacturing fault within the warranty period.
- The warranty period is 3 years from the date of purchase. The warranty period can be extended to 7 years upon registration of the tool within 30 days of purchase.
- The warranty does not cover:
a) Calibrations and components that are subject to wear and tear.
b) Defects in the tool caused by non-compliance with the operation instructions, improper use, abnormal environmental conditions, inappropriate operating conditions or insufficient maintenance.
c) Defects caused by using accessories or spare parts other than approved parts.
d) Services or repairs carried out by non-authorised persons. - Defects recognised by an authorised service centre as being covered by the warranty shall be corrected either by repair or replacement of the tool.
- The warranty claim must be lodged within the warranty period. This requires the complete tool with the original sales receipt containing the purchase date and place of purchase. Partial or disassembled tools cannot be submitted for a warranty claim.
- Services provided under warranty do not lengthen or renew the warranty of the tool.
“Our goods come with guarantees that cannot be excluded under the Australian Consumer Law.
You are entitled to a replacement or refund for a major failure and for compensation for any other reasonably foreseeable loss or damage.
You are also entitled to have the goods repaired or replaced if the goods fail to be of acceptable quality and the failure does not amount to a major failure.”
For more information please visit consumerlaw.gov.au
Specifications
| SPECIFICATIONS | CP-C11G |
| Product code | 400114 |
| Warranty | 7 Years (with online registration) |
| Accuracy | ±2mm at 10m |
| Operating range | 50m (with optional detector)* |
| Levelling range | ±4° |
| Laser class | 2 Green |
| Battery life | 8 hours |
| Battery type | 2x 1.5v AA |
| Vertical lines | 1 |
| Horizontal lines | 1 |
| IP rating | 54 |
| Weight (kg) | 0.34 |
| Dimensions (mm) | 90 x 60 x 85 |

Customer Support
To assist you with any queries or technical questions please contact customer support. 1300 658 338
Visit www.spoton.com.au for more information.
*This operating range can only be achieved with the use of an optional detector (part sold separately). Without a detector, the laser diode is visible up to 20m indoors in ideal light conditions. The operating range will be significantly reduced under very bright conditions.
Spot-on Laser & Tool Company Pty Ltd
Spot-on Laser & Tool Company Pty Ltd reserves the right to make changes to specifications and
product descriptions at any time. © Spot-on Laser & Tool Company Pty Ltd. 2021. Printed in China.



















