Ozito RTR-040 42 Piece 170W Rotary Tool Kit

SPECIFICATIONS
| Voltage | 220-240V ~ 50Hz |
| Power | 170W |
| No Load Speed | 8,000 – 35,000/min |
| Collet Chuck Size | ø 1.5 – 3.2mm |
| Flexible Shaft Length | 1.0m |
| Tool Weight | 1.2kg |
STANDARD EQUIPMENT
| |
|
|
|
|
WARRANTY
IN ORDER TO MAKE A CLAIM UNDER THIS WARRANTY YOU MUST RETURN THE PRODUCT TO YOUR NEAREST BUNNINGS WAREHOUSE WITH YOUR BUNNINGS REGISTER RECEIPT. PRIOR TO RETURNING YOUR PRODUCT FOR WARRANTY PLEASE TELEPHONE OUR CUSTOMER SERVICE HELPLINE:
Australia 1800 069 486
New Zealand 0508 069 486
TO ENSURE A SPEEDY RESPONSE PLEASE HAVE THE MODEL NUMBER AND DATE OF PURCHASE AVAILABLE. A CUSTOMER SERVICE REPRESENTATIVE WILL TAKE YOUR CALL AND ANSWER ANY QUESTIONS YOU MAY HAVE RELATING TO THE WARRANTY POLICY OR PROCEDURE.
The benefits provided under this warranty are in addition to other rights and remedies which are available to you at law.
Our goods come with guarantees that cannot be excluded at law. You are entitled to a replacement or refund for a major failure and for compensation for any other reasonably foreseeable loss or damage. You are also entitled to have the goods repaired or replaced if the goods fail to be of acceptable quality and the failure does not amount to a major failure.
Generally you will be responsible for all costs associated with a claim under this warranty, however, where you have suffered any additional direct loss as a result of a defective product you may be able to claim such expenses by contacting our customer service helpline above.
3 YEAR REPLACEMENT WARRANTY
Your product is guaranteed for a period of 36 months from the original date of purchase and is intended for DIY (Do It Yourself) use only. If a product is defective it will be replaced in accordance with the terms of this warranty. Warranty excludes consumable parts, for example: accessories, carbon brushes etc.
WARNING
The following actions will result in the warranty being void.
- If the tool has been operated on a supply voltage other than that specified on the tool.
- If the tool shows signs of damage or defects caused by or resulting from abuse, accidents or alterations.
- Failure to perform maintenance as set out within the instruction manual.
- If the tool is disassembled or tampered with in any way.
- Professional, industrial or high frequency use.
KNOW YOUR PRODUCT
ROTARY TOOL
- Collet Nut
- Shaft Collar
- Spindle Lock Button
- Accessible Brushes
- Variable Speed Dial
- On/off Switch
- Hanging Ring
- Power Cord

ACCESSORIES - Flexible Shaft
- Locking Chuck
- Spindle Lock
- Fitting Collar
- Rotary Bits x 42
- Desk Stand Shaft
- Desk Stand Clamp
- Spanner

ONLINE MANUAL
Scan this QR Code with your mobile device to take you to the online manual www.ozito.com.au/RTR-040
SETUP & PREPARATION
CHANGING ACCESSORIES
![]() | WARNING! ENSURE THE TOOL IS DISCONNECTED FROM THE POWER SUPPLY BEFORE PERFORMING ANY OF THE FOLLOWING OPERATIONS. |
- Press and hold the spindle lock button.

- Unscrew the collet nut and remove completely.

- Select a suitable collet for the accessory to be used and insert. Then cover with collet nut.

- Lightly tighten the collet nut so that it stays in place.

- Fully insert the shaft of the accessory into the collet.

- Tighten collet nut using spindle lock and spanner.

Note: Always ensure the shaft of the accessory bit is fully inserted into the collet and is tightened correctly before use.
Locating a cutting/sanding disc
- Remove the screw from the end of the disc holder.

- Fit the fibre flange either side of the cutting disc, then insert the screw.

- Tighten the cutting disc onto the cutting disc holder.

Note: Do not over-tighten the screw as it could result in damage to the cutting disc.
Locating a sanding drum
- Loosen the screw on the top of the sanding drum holder.

- Slide the sanding drum onto the sanding drum holder.

- Tighten the screw until the sanding drum sleeve is secured.

FLEXIBLE SHAFT
- Remove the shaft collar

- Loosen the collet nut.

- Raise the handle end of the flexible shaft & shake gently until the inner flexible shaft protrudes from the fitting collar.

- Insert the inner flexible shaft into the collet then tighten the collet nut.

- Screw the flexible shaft fitting collar onto the rotary tool.

- Insert the hex key into the hole on the handle.

- Loosen collet nut then insert shank of accessory into collet

- Tighten collet nut and check all fittings to ensure they are securely fastened.

WARNING! DO NOT OPERATE THE FLEXIBLE SHAFT WITH MULTIPLE OR SHARP BENDS. ENSURE THAT THERE ARE NO SHARP RESIDUAL BENDS OR KINKS IN THE FLEXIBLE SHAFT BEFORE OPERATION. OVER BENDING THE SHAFT CAN GENERATE EXCESSIVE HEAT ON THE JACKET OR HAND PIECE AND MAY CAUSE THE FLEXIBLE SHAFT TO DISENGAGE FROM THE TOOL. 
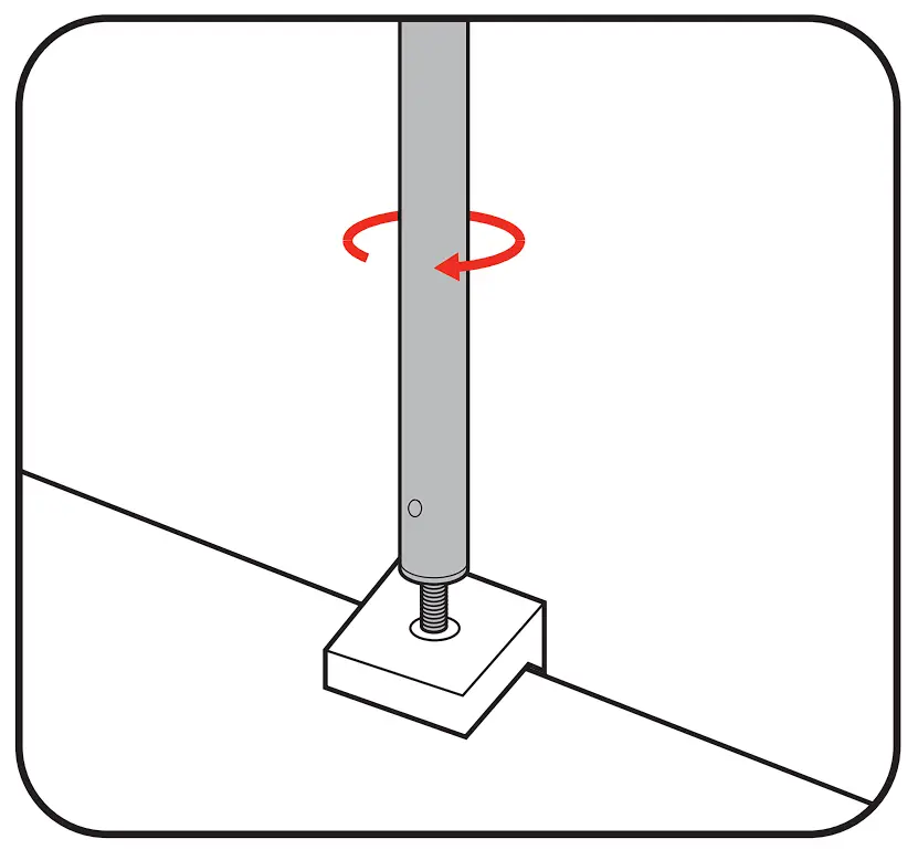
USING THE DESK STAND
- Open the desk stand clamp by rotating the handle anticlockwise.

- Place the desk stand clamp onto the desk and tighten the clamp.

- Screw the desk stand shaft into the hole at the top of the clamp.

- Ensure that the desk stand is secure and then hang the rotary tool onto the hook by the hanging ring.

OPERATION
CONTROLS
![]() | WARNING! THE TOOL IS RECOMMENDED FOR USE WITH A RESIDUAL CURRENT DEVICE WITH A RATED RESIDUAL CURRENT OF 30MA OR LESS. |
On/Off Switch
- To turn on, push the on/off switch to on position “I”.

- To turn off, push the on/off switch to the off position “0”.

Variable Speed Dial
The speed of the tool can be regulated to suit a variety of applications and materials.
Low speed use: Best for polishing applications and delicate projects such as fragile model parts. It is recommended that the various shape grinding stones be used at low speed to prevent them from becoming too hot and deteriorating.
High speed use: Best for carving and shaping materials. Metal and glass projects require high speed drilling.
- Rotate the variable speed dial to select the desired speed.

Note: The higher the number on the variable speed dial, the faster the speed of the rotary tool.
OPERATING THE ROTARY TOOL
- Turn the rotary tool on.

- Select the appropriate speed for the application.

- For high precision applications such as engraving or milling, hold the rotary tool like a pen.|

- For heavy work like cutting or grinding, hold the rotary tool in the palm of your hand.

- Gently apply the tip of the accessory to the work piece.

![]() | WARNING! PLACING EXCESSIVE LOAD ON THE ROTARY TOOL WHILE IT IS RUNNING AT LOW SPEEDS MAY CAUSE IT TO OVERHEAT AND THE MOTOR TO FAIL. |
ACCESSORY GUIDE
| TYPE | QTY/ SIZES INCLUDED | APPLICATIONS | |
ASSEMBLY | |||
| Collet | ![]() | 1.5mm x 1 2.4mm x 1 3.2mm x 1 | different shank sizes, to your rotary tool. |
| Mandrel | ![]() | x 1 | A mandrel is a shank to which polishing accessories, cutting wheels and sanding |
| Screw Mandrel | ![]() | x 1 | A shank which screws into the felt polishing tip and wheels. |
| Sanding Drum | ![]() | 12.7mmx12.7mm x 1 | A shank used with sanding paper drums. |
SANDING ACCESSORIES | |||
| Sanding Bands | ![]() | 12.7mmx12.7mm x 5 | places. |
CUTTING ACCESSORIES | |||
| Cutting Wheels | ![]() | Regular Cut-off Wheels x 8 | slicing and cutting applications. Use them for cutting off frozen bolt heads and nuts etc. |
| Sanding Discs | ![]() | x 6 | Sanding discs in fine, medium and coarse grades are made for use on nearly any small sanding job. |
| Engraving Cutters
| ![]() | x 2 | Made for intricate work on ceramics, wood carvings, jewelry and scrimshaw. Available in a wide variety of shapes and sizes. |
GRINDING ACCESSORIES | |||
| Dressing Stone | ![]() | x 1 | grinding accessories after they have been used. |
| Grinding Stones & Wheels | ![]() | Wheels x 2 Stones x 5 | Suitable for various kinds of grinding and sharpening applications. Available in a wide range of sizes and shapes – round, |
| POLISHING ACCESSORIES | |||
| Wire Brushes | ![]() | Steel x 1 | The steel wire brush is good for general purpose cleaning. |
| Bristle Brush | ![]() | Nylon x 2 | Useful for cleaning silverware, jewellery and antiques. Use with polishing compound for faster cleaning or polishing. |
| Fabric Tips and Wheels | ![]() | 25.4mm x 6.7mm Felt Whee x 112.7mm x 6mm Felt Wheel x 1 Felt Tip Point x 1 | Used for bringing metal surfaces to a smooth finish. Use with polishing compound to bring a high shine to the finish. |
MISCELLANEOUS | |||
| Drill Bits |
| 3.2mm x 1 | Used to drill through all types of plastic and wood. |
MAINTENANCE
- Keep the ventilation vents of the rotary tool clean at all times, if possible, prevent foreign matter from entering the vents.
- After each use, blow air through the rotary tool housing to ensure it is free from all dust particles which may build up. Build up of dust particles may cause the rotary tool to overheat and fail.
- If the enclosure of the rotary tool requires cleaning, do not use solvents but a moist soft cloth only. Never let any liquid get inside the rotary tool; never immerse any part of the rotary tool into a liquid.
- If the replacement of the supply cord is necessary, this has to be done by the manufacturer or his agent in order to avoid a safety hazard.
Carbon Brushes
When the carbon brushes wear out, the rotary tool will spark and/or stop. Discontinue use as soon as this happens. They should be replaced prior to recommencing use of the rotary tool. Carbon brushes are a wearing component of the rotary tool therefore not covered under warranty. Continuing to use the rotary tool when carbon brushes need to be replaced may cause permanent damage to the rotary tool. Carbon brushes will wear out after many uses but when the carbon brushes need to be replaced, take the rotary tool to an electrician or a power tool repairer for a quick and low cost replacement. Always replace both carbon brushes at the same time. Note: Ozito Industries will not be responsible for any damage or injuries caused by the repair of the rotary tool by an unauthorised person or by mishandling of the rotary tool.
DESCRIPTION OF SYMBOLS

ELECTRICAL SAFETY
WARNING! When using mains-powered tools, basic safety precautions, including the following, should always be followed to reduce risk of fire, electric shock, personal injury and material damage.
Read the whole manual carefully and make sure you know how to switch the tool off in an emergency, before operating the tool. Save these instructions and other documents supplied with this tool for future reference.
The electric motor has been designed for 230V and 240V only. Always check that the power supply corresponds to the voltage on the rating plate.
Note: The supply of 230V and 240V on Ozito tools are interchangeable for Australia and New Zealand.
This tool is double insulated therefore no earth wire is required.
If the supply cord is damaged, it must be replaced by an electrician or a power tool repairer in order to avoid a hazard.
Note: Double insulation does not take the place of normal safety precautions when operating this tool. The insulation system is for added protection against injury resulting from a possible electrical insulation failure within the tool.
Using an Extension Lead Always use an approved extension lead suitable for the power input of this tool. Before use, inspect the extension lead for signs of damage, wear and ageing. Replace the extension lead if damaged or defective.
When using an extension lead on a reel, always unwind the lead completely. Use of an extension lead not suitable for the power input of the tool or which is damaged or defective may result in a risk of fire and electric shock.
TROUBLESHOOTING
Sparking visible through the housing air vents
A small amount of sparking may be visible through the housing vents. This is normal and does not indicate a problem.
Excessive sparking visible through the housing air vents and/or the rotary tool failing to operate
May indicate the carbon brushes have worn out and need to be replaced. Carbon brushes should only be replaced by a qualified electrician or power tool repairer.
CARING FOR THE ENVIRONMENT
![]() | Power tools that are no longer usable should not be disposed of with household waste but in an environmentally friendly way. Please recycle where facilities exist. Check with your local council authority for recycling advice. |
![]() | Recycling packaging reduces the need for landfill and raw materials. Reuse of recycled material decreases pollution in the environment. Please recycle packaging where facilities exist. Check with your local council authority for recycling advice. |
SPARE PARTS
Spare parts can be ordered from the Special Orders Desk at your local Bunnings Warehouse.
For further information, or any parts not listed here, visit www.ozito.com.au or contact Ozito Customer Service:
Australia 1800 069 486
New Zealand 0508 069 486
E-mail: [email protected]u
GENERAL POWER TOOL SAFETY WARNINGS – PERSONAL SAFETY
WARNING! Read all safety warnings and all instructions. Failure to follow the warnings and instructions may result in electric shock, fire and/or serious injury.
Save all warnings and instructions for future reference. The term “power tool” in the warnings refers to your mains-operated (corded) power tool or battery-operated (cordless) power tool.
Work area safety
a. Keep work area clean and well lit. Cluttered or dark areas invite accidents.
b. Do not operate power tools in explosive atmospheres, such as in the presence of flammable liquids, gases or dust. Power tools create sparks which may ignite the dust or fumes.
c. Keep children and bystanders away while operating a power tool. Distractions can cause you to lose control.
Electrical safety
a. Power tool plugs must match the outlet. Never modify the plug in any way. Do not use any adapter plugs with earthed (grounded) power tools. Unmodified plugs and matching outlets will reduce risk of electric shock.
b. Avoid body contact with earthed or grounded surfaces, such as pipes, radiators, ranges and refrigerators. There is an increased risk of electric shock if your body is earthed or grounded.
c. Do not expose power tools to rain or wet conditions. Water entering a power tool will increase the risk of electric shock.
d. Do not abuse the cord. Never use the cord for carrying, pulling or unplugging the power tool. Keep cord away from heat, oil, sharp edges or moving parts. Damaged or entangled cords increase the risk of electric shock.
e. When operating a power tool outdoors, use an extension cord suitable for outdoor use. Use of a cord suitable for outdoor use reduces the risk of electric shock.
f. If operating a power tool in a damp location is unavoidable, use a residual current device (RCD) protected supply. Use of an RCD reduces the risk of electric shock.
Personal safety
a. Stay alert, watch what you are doing and use common sense when operating a power tool. Do not use a power tool while you are tired or under the influence of drugs, alcohol or medication. A moment of inattention while operating power tools may result in serious personal injury.
b. Use personal protective equipment. Always wear eye protection. Protective equipment such as dust mask, non-skid safety shoes, hard hat, or hearing protection used for appropriate conditions will reduce personal injuries.
c. Prevent unintentional starting. Ensure the switch is in the off-position before connecting to power source and/or battery pack, picking up or carrying the tool. Carrying power tools with your finger on the switch or energising power tools that have the switch on invites accidents.
d. Remove any adjusting key or wrench before turning the power tool on. A wrench or a key left attached to a rotating part of the power tool may result in personal injury.
e. Do not overreach. Keep proper footing and balance at all times. This enables better control of the power tool in unexpected situations.
f. Dress properly. Do not wear loose clothing or jewellery. Keep your hair, clothing and gloves away from moving parts. Loose clothes, jewellery or long hair can be caught in moving parts.
g. If devices are provided for the connection of dust extraction and collection facilities, ensure these are connected and properly used. Use of dust collection can reduce dust-related hazards.
h. Do not let familiarity gained from frequent use of tools allow you to become complacent and ignore tool safety principles. A careless action can cause severe injury within a fraction of a second.
Power tool use and care
a. Do not force the power tool. Use the correct power tool for your application. The correct power tool will do the job better and safer at the rate for which it was designed.
b. Do not use the power tool if the switch does not turn it on and off. Any power tool that cannot be controlled with the switch is dangerous and must be repaired.
c. Disconnect the plug from the power source and/or the battery pack from the power tool before making any adjustments, changing accessories, or storing power tools. Such preventive safety measures reduce the risk of starting the power tool accidentally.
d. Store idle power tools out of the reach of children and do not allow persons unfamiliar with the power tool or these instructions to operate the power tool. Power tools are dangerous in the hands of untrained users.
e. Maintain power tools. Check for misalignment or binding of moving parts, breakage of parts and any other condition that may affect the power tool’s operation. If damaged, have the power tool repaired before use. Many accidents are caused by poorly maintained power tools.
f. Keep cutting tools sharp and clean. Properly maintained cutting tools with sharp cutting edges are less likely to bind and are easier to control.
g. Use the power tool, accessories and tool bits etc. in accordance with these instructions, taking into account the working conditions and the work to be performed. Use of the power tool for operations different from those intended could result in a hazardous situation.
h. Keep handles and grasping surfaces dry, clean and free from oil and grease. Slippery handles and grasping surfaces do not allow for safe handling and control of the tool in unexpected situations.
Service
a. Have your power tool serviced by a qualified repair person using only identical replacement parts. This will ensure that the safety of the power tool is maintained.
ROTARY TOOL SAFETY WARNINGS
This appliance is not intended for use by young or infirm persons unless supervised by a responsible person to ensure that they can use the appliance safely. Young children should be supervised to ensure that they do not play with the appliance.
WARNING! Safety Warnings Common for Grinding, Sanding, Wire Brushing,
Polishing or Abrasive Cutting-Off Operations:
- This power tool is intended to function as a grinder, sander, wire brush, polisher or cut-off tool. Read all safety warnings, instructions, illustrations and specifications provided with this power tool. Failure to follow all instructions listed below may result in electric shock, fire and/or serious injury.
- Do not use accessories which are not specifically designed and recommended by the tool manufacturer. Just because the accessory can be attached to your power tool, it does not assure safe operation.
- The rated speed of the accessory must be at least equal to the maximum speed marked on the power tool. Accessories running faster than their rated speed can break and fly apart.
- The outside diameter and the thickness of your accessory must be within the capacity rating of your power tool. Incorrectly sized accessories cannot be adequately guarded or controlled.
- The arbour size of wheels, sanding drums or any other accessory must properly fit the spindle or collet of the power tool. Accessories that do not match the mounting hardware of the power tool will run out of balance, vibrate excessively and may cause loss of control.
- Mandrel mounted wheels, sanding drums, cutters or other accessories must be fully inserted into the collet or chuck. If the mandrel is insufficiently held and/or the overhang of the wheel is too long, the mounted wheel may become loose and be ejected at high velocity.
- Do not use a damaged accessory. Before each use inspect the accessory such as abrasive wheels for chips and cracks, backing pad for cracks, tear or excess wear, wire brush for loose or cracked wires. If power tool or accessory is dropped, inspect for damage or install an undamaged accessory. After inspecting and installing an accessory, position yourself and bystanders away from the plane of the rotating accessory and run the power tool at maximum no-load speed for one minute. Damaged accessories will normally break apart during this test time.
- Wear personal protective equipment. Depending on application, use face shield, safety goggles or safety glasses. As appropriate, wear dust mask, hearing protectors, gloves and workshop apron capable of stopping small abrasive or workpiece fragments. The eye protection must be capable of stopping flying debris generated by various operations. The dust mask or respirator must be capable of filtrating particles generated by your operation. Prolonged exposure to high intensity noise may cause hearing loss.
- Keep bystanders a safe distance away from work area. Anyone entering the work area must wear personal protective equipment. Fragments of workpiece or of a broken accessory may fly away and cause injury beyond immediate area of operation.
- Hold the power tool by insulated gripping surfaces only, when performing an operation where the cutting accessory may contact hidden wiring or its own cord. Cutting accessory contacting a “live” wire may make exposed metal parts of the power tool “live” and could give the operator an electric shock.
- Always hold the tool firmly in your hand(s) during the start-up. The reaction torque of the motor, as it accelerates to full speed, can cause the tool to twist.
- Use clamps to support workpiece whenever practical. Never hold a small workpiece in one hand and the tool in the other hand while in use. Clamping a small workpiece allows you to use your hand(s) to control the tool. Round material such as dowel rods, pipes or tubing have a tendency to roll while being cut, and may cause the bit to bind or jump toward you.
- Position the cord clear of the spinning accessory. If you lose control, the cord may be cut or snagged and your hand or arm may be pulled into the spinning accessory.
- Never lay the power tool down until the accessory has come to a complete stop. The spinning accessory may grab the surface and pull the power tool out of your control.
- After changing the bits or making any adjustments, make sure the collet nut, chuck or any other adjustment devices are securely tightened. Loose adjustment devices can unexpectedly shift, causing loss of control, loose rotating components will be violently thrown.
- Do not run the power tool while carrying it at your side. Accidental contact with the spinning accessory could snag your clothing, pulling the accessory into your body.
- Regularly clean the power tool’s air vents. The motor’s fan will draw the dust inside the housing and excessive accumulation of powdered metal may cause electrical hazards.
- Do not operate the power tool near flammable materials. Sparks could ignite these materials.
- Do not use accessories that require liquid coolants. Using water or other liquid coolants may result in electrocution or shock.
- Do not operate the flexible shaft with a sharp or multiple bends. Ensure that there are no sharp residual bends or kinks in the flexible shaft before operation. Over bending the shaft can generate excessive heat on the jacket or hand piece and may cause the flexible shaft to disengage from tool. The minimum recommended bend radius is 15cm.
- Always hold the hand piece firmly in your hands during the start-up. The reaction torque of the motor, as it accelerates to full speed, can cause the shaft to twist.
- Flexible shaft not for use with router bits or other large diameter (2.5cm or larger) bits. Large diameter bits can cause kickback and loss of control when used with the flexible shaft.
Kickback is a sudden reaction to a pinched or snagged rotating wheel, backing pad, brush or any other accessory. Pinching or snagging causes rapid stalling of the rotating accessory which in turn causes the uncontrolled power tool to be forced in the direction opposite of the accessory’s rotation at the point of the binding.
For example, if an abrasive wheel is snagged or pinched by the workpiece, the edge of the wheel that is entering into the pinch point can dig into the surface of the material causing the wheel to climb out or kick out. The wheel may either jump toward or away from the operator, depending on direction of the wheel’s movement at the point of pinching. Abrasive wheels may also break under these conditions.
Kickback is the result of power tool misuse and/or incorrect operating procedures or conditions and can be avoided by taking proper precautions as given below.
a) Maintain a firm grip on the power tool and position your body and arm to allow you to resist kickback forces.
The operator can control kickback forces, if proper precautions are taken.
b) Use special care when working corners, sharp edges etc. Avoid bouncing and snagging the accessory. Corners, sharp edges or bouncing have a tendency to snag the rotating accessory and cause loss of control or kickback.
c) Do not attach a toothed saw blade. Such blades create frequent kickback and loss of control.
d) Always feed the bit into the material in the same direction as the cutting edge is exiting from the material (which is the same direction as the chips are thrown). Feeding the tool in the wrong direction causes the cutting edge of the bit to climb out of the work and pull the tool in the direction of this feed.
e) When using rotary files, cut-off wheels or high-speed cutters, always have the work securely clamped. These wheels will grab if they become slightly canted in the groove, and can kickback. When a cut-off wheel grabs, the wheel itself usually breaks. When a rotary file or high-speed cutter grabs, it may jump from the groove and you could lose control of the tool.
Safety Warnings Specific for Grinding and Abrasive Cutting-Off Operations
a) Use only wheel types that are recommended for your power tool and only for recommended applications. For example: do not grind with the side of a cut-off wheel. Abrasive cut-off wheels are intended for peripheral grinding, side forces applied to these wheels may cause them to shatter.
b) For threaded abrasive cones and plugs use only undamaged wheel mandrels with an unrelieved shoulder flange that are of correct size and length. Proper mandrels will reduce the possibility of breakage.
c) Do not “jam” a cut-off wheel or apply excessive pressure. Do not attempt to make an excessive depth of cut.
Overstressing the wheel increases the loading and susceptibility to twisting or snagging of the wheel in the cut and the possibility of kickback or wheel breakage.
d) Do not position your hand in line with and behind the rotating wheel. When the wheel, at the point of operation, is moving away from your hand, the possible kickback may propel the spinning wheel and the power tool directly at you.
e) When wheel is pinched, snagged or when interrupting a cut for any reason, switch off the power tool and hold the power tool motionless until the wheel comes to a complete stop. Never attempt to remove the cut-off wheel from the cut while the wheel is in motion otherwise kickback may occur. Investigate and take corrective action to eliminate the cause of wheel pinching or snagging.
f) Do not restart the cutting operation in the workpiece. Let the wheel reach full speed and carefully re-enter the cut. The wheel may bind, walk up or kickback if the power tool is restarted in the workpiece.
g) Support panels or any oversized workpiece to minimize the risk of wheel pinching and kickback. Large workpieces tend to sag under their own weight. Supports must be placed under the workpiece near the line of cut and near the edge of the workpiece on both sides of the wheel.
h) Use extra caution when making a “pocket cut” into existing walls or other blind areas. The protruding wheel may cut gas or water pipes, electrical wiring or objects that can cause kickback.
Additional Safety Warnings Specific for Abrasive Cutting-Off Operations
a) Do not “jam” the cut-off wheel or apply excessive pressure. Do not attempt to make an excessive depth of cut.
Over stressing the wheel increases the loading and susceptibility to twisting or binding of the wheel in the cut and the possibility of kickback or wheel breakage.
b) Do not position your body in line with and behind the rotating wheel. When the wheel, at the point of operation, is moving away from your body, the possible kickback may propel the spinning wheel and the power tool directly at you.
c) When wheel is binding or when interrupting a cut for any reason, switch off the power tool and hold the power tool motionless until the wheel comes to a complete stop. Never attempt to remove the cut-off wheel from the cut while the wheel is in motion otherwise kickback may occur. Investigate and take corrective action to eliminate the cause of wheel binding.
d) Do not restart the cutting operation in the workpiece. Let the wheel reach full speed and carefully re-enter the cut. The wheel may bind, walk up or kickback if the power tool is restarted in the workpiece.
e) Support panels or any oversized workpiece to minimize the risk of wheel pinching and kickback. Large workpieces tend to sag under their own weight. Supports must be placed under the workpiece near the line of cut and near the edge of the workpiece on both sides of the wheel.
f) Use extra caution when making a “pocket cut” into existing walls or other blind areas. The protruding wheel may cut gas or water pipes, electrical wiring or objects that can cause kickback.
Safety Warnings Specific for Sanding Operations
a) Do not use excessively oversized sanding disc paper. Follow manufacturers recommendations, when selecting sanding paper. Larger sanding paper extending beyond the sanding pad presents a laceration hazard and may cause snagging, tearing of the disc or kickback.
Safety Warnings Specific for Polishing Operations:
a) Do not allow any loose portion of the polishing bonnet or its attachment strings to spin freely. Tuck away or trim any loose attachment strings. Loose and spinning attachment strings can entangle your fingers or snag on the workpiece.
Safety Warnings Specific for Wire Brushing Operations:
a) Be aware that wire bristles are thrown by the brush even during ordinary operation. Do not overstress the wires by applying excessive load to the brush. The wire bristles can easily penetrate light clothing and/or skin.
b) Allow brushes to run at operating speed for at least one minute before using them. During this time no one is to stand in front or in line with the brush. Loose bristles or wires will be discharged during the run-in time.
c) Direct the discharge of the spinning wire brush away from you. Small particles and tiny wire fragments may be discharged at high velocity during the use of these brushes and may become imbedded in your skin.
ACCESSORY GUIDE – RTR-040
| TYPE | QTY/ SIZES INCLUDED | APPLICATIONS | |
ASSEMBLY | |||
| Collet | ![]() | 1.5mm x 1 | different shank sizes, to your rotary tool. |
| Mandrel | ![]() | x 1 | A mandrel is a shank to which polishing accessories, cutting wheels and sanding |
| Screw Mandrel | ![]() | x 1 | A shank which screws into the felt polishing tip and wheels. |
| Sanding Drum | ![]()
| 12.7mmx12.7mm x 1 | A shank used with sanding paper drums. |
SANDING ACCESSORIES | |||
| Sanding Bands | ![]() | 12.7mmx12.7mm x 5 | places. |
CUTTING ACCESSORIES | |||
| Cutting Wheels | ![]() | Regular Cut-off Wheels x 8 | slicing and cutting applications. Use them for cutting off frozen bolt heads and nuts etc. |
| Sanding Discs | ![]() | x 6 | Sanding discs in fine, medium and coarse grades are made for use on nearly any small sanding job. |
| Engraving Cutters | ![]() | x 2 | Made for intricate work on ceramics, wood carvings, jewelry and scrimshaw. Available in a wide variety of shapes and sizes. |
GRINDING ACCESSORIES | |||
| Dressing Stone | ![]() | x 1 | grinding accessories after they have been used. |
| Grinding Stones & Wheels | ![]() | Wheels x 2 Stones x 5 | Suitable for various kinds of grinding and sharpening applications. Available in a wide range of sizes and shapes – round, |
POLISHING ACCESSORIES | |||
| Wire Brushes | ![]() | Steel x 1 | The steel wire brush is good for general purpose cleaning. |
| Bristle Brush | ![]() | Nylon x 2 | Useful for cleaning silverware, jewellery and antiques. Use with polishing compound for faster cleaning or polishing. |
| Fabric Tips and Wheels | ![]() | 25.4mm x 6.7mm Felt Wheel x 1 12.7mm x 6mm Felt Wheel x 1 Felt Tip Point x 1 | Used for bringing metal surfaces to a smooth finish. Use with polishing compound to bring a high shine to the finish. |
MISCELLANEOUS | |||
| Drill Bits | ![]() | 3.2mm x 1 | Used to drill through all types of plastic and wood. |

Rotary Tool
Rotary Bits x 42
Flexible Shaft
Desk Stand
Spanner



































































