SONBEST SM7320V Voltage-Mounted Temperature and Humidity Sensors
SM7320V using the standard DC0 ~ 5V voltage output signal, easy access to PLC, DCS, and other instruments or systems for monitoring humidity state quantities. The internal use of high-precision sensing core and related devices to ensure high reliability and excellent long-term stability can be customized RS232, RS485, CAN,4-20mA, DC0~5V\10V, ZIGBEE, Lora, WIFI, GPRS, and other output methods.
Technical Parameters
| Technical parameter | Parameter value |
| Brand | SONBEST |
| Humidity measuring range | 0~100%RH |
| Humidity accuracy | ±3%RH @25℃ |
| Output Interface | DC0~5V |
| Power | DC12~24V 1A |
| Running temperature | -40~80°C |
| Working humidity | 5%RH~90%RH |
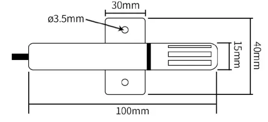
Product Size






Disclaimer
This document provides all information about the product, does not grant any license to intellectual property, does not express or imply, and prohibits any other means of granting any intellectual property rights, such as the statement of sales terms and conditions of this product, other issues. No liability is assumed. Furthermore, our company makes no warranties, express or implied, regarding the sale and use of this product, including the suitability for the specific use of the product, the marketability or the infringement liability for any patent, copyright or other intellectual property rights, etc. Product specifications and product descriptions may be modified at any time without notice.
Contact Us
Company: Shanghai Sonbest Industrial Co., Ltd
Address:Building 8,No.215 North east road,Baoshan District,Shanghai,China
Web: http://www.sonbest.com
Web: http://www.sonbus.com
SKYPE: soobuu
Email: [email protected]
Tel: 86-021-51083595 / 66862055 / 66862075 / 66861077



























