GOLDEN LIGHTING 0305-BA1 1-Light Matte Black Clear Glass Bath Vanity Light
Assembly Instructions
PREPARING FOR INSTALLATION
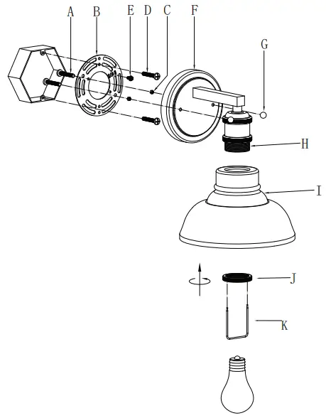
Carefully remove the new fixture from the carton as well as the yellow bag that holds all of the parts. See the important notes above. Shut off power at the circuit breaker and remove old fixture from wall, including the old mounting strap. 1. Mounting strap (B) contains several pairs of threaded holes. Find the pair of holes that matches the spacing of the holes on thejunction box and the new fixture’s backplate. Two sets of mounting screws (A & D) should be attached to mounting strap (B). You may need to tighten the nuts (C) that hold mounting screws (A) in place. 2. Pull the house wires through the center of mounting strap (B). Place mounting strap (B) over the junction box so that mounting screws (A) are horizontally level to the floor, and in alignment with the hole locations on backplate (F). Secure mounting strap (B) to the junction box with mounting screws (D) and a screwdriver. Tighten the screws securely.
ASSEMBLING THE FIXTURE
No Assembly Required – This item arrives assembled and ready for installation. Please proceed to the next step.
CONNECTING THE WIRES
Have an assistant support the fixture’s weight while completing the wiring. Refer to the wiring diagram and attach the fixture’s wires to the power supply wires from the junction box. Attach the fixture’s wires to the power supply wires from the junction box. Connect Hot to Hot (transparent wire with black inner thread, black, or smooth wire) Neutral to Neutral (transparent wire with white inner thread, white, or ribbed wire), and Ground to Ground (transparent wire with green inner thread, green wire, or copper). Twist the ends of the wire pairs together, and then twist on a wire connector. Make sure all twists are in the same direction. If there is no house ground wire coming from the junction box, locate ground screw (E) on the mounting bracket/mounting strap and wrap the fixture’s ground wire around the ground screw. Use a screwdriver to tighten the top of the ground screw (E) onto the wires and into the mounting bracket/mounting strap. Tuck the wires into the junction box.
FINISHING THE INSTALLATION
Place backplate (F) against mounting strap (B) until mounting screws (A) protrude from the holes in the backplate (F). Tightly thread decorative nuts (G) onto the exposed threads of mounting screws (A). Twist deco nuts (G) until the backplate (F) is snug against the wall. 5. Hold glass shade (I) over socket (H) and secure in place using socket ring (J). Use the provided tool (K) on socket ring (J) to finish tightening. 6. Install light bulb (not provided) into socket (H) in accordance with the fixture’s specifications. Do not exceed the maximum wattage. Your installation is now complete. Turn on the power and test the fixture.
How to Identify the Fixture’s Wires
- Hot: Smooth, Black, or Transparent with Black Inner Thread
- Neutral: Ribbed, White or Transparent with White Inner Thread
- Ground: Copper, Bare Metal, Green, or Transparent Inner Thread

Thank You for Choosing Golden Lighting for Your Lighting Needs!
- Pendants & Linear Pendants Above a Kitchen Island
- Center a linear pendant over the island. If hanging pendants, use one pendant for every 24″ of island. Fixtures should hang at least 30″ above the countertop

- Center a linear pendant over the island. If hanging pendants, use one pendant for every 24″ of island. Fixtures should hang at least 30″ above the countertop
- Pendants & Chandeliers Above a Dining Room Table
- Fixtures should stay at least 30″ above the table. Use a fixture that is 12″ narrower than the width of the table.

- Fixtures should stay at least 30″ above the table. Use a fixture that is 12″ narrower than the width of the table.
- Pendants and Chandeliers in Open Areas
- The bottom should hang at least 7.5 feet from the floor. Allow clearance for any opening doors

- The bottom should hang at least 7.5 feet from the floor. Allow clearance for any opening doors
We appreciate your business and hope you love your new light!
Great lighting can add value and enhance the look of your home. To ensure the best lighting in your space, remember to layer your lighting. This ensures that your space will have both task and ambient lighting. Coordinating fixtures like sconces, flush mounts, and pendants can help you meet your layered lighting needs and reinforce your desired aesthetic. Install the lights with dimmers that allow you to control the level of light output at any given moment. Get function and style! Browse our site for coordinating lights and expert lighting advice. To help create the perfect look, visit www.GoldenLighting.com
























