DS-XL Hand Drawn track
Instruction Manual
DS-XL Hand Drawn track
| Hey Google | |
| Hey Siri | |
| Hey Alexa |
![]()
FOREST DESIGN Series
The DS-XL® Series is designed to create visual impact and provides superior functionality and ease of use to the end-user. Available as manual, corded or motorised operated curtain track system.
FOREST DS®
FOREST DS-XL®
FOREST DS-XL® Motorised
FOREST DS-XL® LED
FOREST DS-XL® LED Motorised
THE WORLD BEHIND YOUR CURTAINS

FOREST DS® – DESIGN SYSTEM

The DS® curtain track system is for fans of a sleek curtain track. This manually operated curtain track system fits into any stylish interior with an eye for design.
The DS® system has the same core dimension as the Klick System (KS®). This makes it possible to use all KS® assembly components (except the end caps).
The height of the track is 11 mm, and the curved elevation of the profile has an ergonomically designed extension to it so that the brackets can be mounted out of sight. Giving you a clean almost recess finish to your system when being utilised in a ceiling fix scenario.
FOR USE IN
Residential and/or contract market or at any location where an elegant high quality design curtain track is required.
PRODUCT INFORMATION
- Elegant and aesthetically pleasing hand drawn track system.
- For all types of medium weight draperies (max.curtain weight 8kg per meter).
- Colours available: white matt, white, grey, anthracite, black and matt black.
- Available lengths in white: 4, 5, 6 en 7 meter (grey in 6 & anthracite and black in 6 meter).
- Bendable; designer curtain track can be curved and reversed curved using a 10 cm radius or continuous curve.
- Matching assembly components for white, grey and black.
- Invisible ceiling brackets to fix track flush to ceiling available.
- Quick installation with “Smart Klick” brackets for wall and ceiling applications.
- Same brackets as used with Klick System.
- Heavy duty clickable carriers – UV protected – for smooth and easy traversing.
- Especially designed for use in combination with Forest Easyfold System for wave pleat application.
- Track finish: chromated powder coating with a factory applied patented dry lubricant.
- Warranty: 10 years.

- DS Track
- DS Carrier
- DS Stop carrier
- DS Twist end stop
- DS End cap

SPECIFICATIONS

- Shown actual size 1:1
- Weight:170 gr/meter
- Aluminium Extrusion
- Size: 11 x 24 mm
- Colours: white, grey, anthracite, black
BENDING/CURVING
The track can be curved and reversed curved using a 10 cm (4”) radius. Continuous curving is available by special order form factory only.

APPLICATIONS

MOUNTING
Smart Klick Aluminium wall bracket single
A) 7,5 cm, B) 6,3 cm
A) 10 cm, B) 8,8 cm

Smart Klick Aluminium wall bracket double
A) 15 cm, B) 9,2 cm, C) 4,5 cm
A) 20 cm, B) 9,2 cm, C) 9,5 cm

Smart Klick Aluminium wall bracket triple
A) 25 cm, B) 9,3 cm, C) 5 cm

FOREST DS-XL®

With the DS-XL® Series, Forest offers curtain tracks that optimally combines design and functionality. The Design System XL gives every interior an extra visual appearance.
Stylish curtains deserve an elegant and fashionable curtain track. The DS-XL® Series provide a sleek finish and contribute to a unique design look at home or in any hotelroom.
Thanks to a symmetrical profile, the system can be mounted “blind” to the ceiling. This provides an extra sleek finish. The track is easy to mount by means of swivel supports or click supports.
The DS-XL® track system has been especially designed for use with our wave system, Forest Easyfold System. But it it is also suitable with regular pleated curtain headings.
FOR USE IN
Hotels, offices, residences, boats, campers, planes or anywhere an efficient and elegant track system is required for curtains and drapes.
PRODUCT INFORMATION
- Elegant and aesthetical hand drawn and corded curtain track system.
- For all types of medium weight draperies.
- Quick and easy installation.
- Ceiling brackets and wall brackets available.
- Invisible ceiling brackets to fix track flush to ceiling available.
- Heavy duty carriers – uv protected – for smooth and easy traversing.
- Colours available: white, grey or anthracite with matching assembly components.
- Available length: standard stock size 6 meter (19.8”).
- Especially designed for use in combination with our wave pleat system ‘Forest Easyfold System’ .
- Warranty: 10 years.

PROFILE
- Shown actual size 1:1
- Weight: 480 gr/meter
- Aluminium extrusion
- Size: 60 x 15 mm
- Colours: white, grey, anthracite
FOREST EASYFOLD SYSTEM
Opt for a regular pleated heading or choose for a more atmospheric effect for the Forest Easyfold System. The FMS® system has been designed for use with the Forest Wavesystem. Our wave system is designed so that the curtains maintain their folding effect from the moment they are dressed.
Specific parts for the wave application are in this brochure. For more information about our wave system and basic components please refer to our Forest Easyfold brochure.
EASYFLEX/EASYWAVE TOOL
With this tool you will be able to easily calculate your requirements of Easyflex carriers and Easyflex tape to obtain a beautiful folding curtain. Please scan the QR-code.
https://www.forestgroup.com/en/easyflex

COLOUR OPTIONS
DS-XL® is available in three colours: white, grey and anthracite.

FOREST DS-XL® LED/Motorised

This unique drapery system combines a stylish design with a unique way of lighting. Many designers will work with a lighting plan with three levels: High, especially if the ceiling is vaulted or has been finished with a special material; medium, which includes wall sconces; and low, which means floor lamps and other small lights. Our DS-XL® LED is the solution for a lighting plan on a higher level, integrating our track to create an overall glow on the ceiling.
The DS-XL® LED is an elegant system for all types of medium weight draperies. Available length up to 6 meter in 2 colours: timeless white and in a stylish anthracite finish, making it suitable to fit in every design.
Create privacy
It also offers the possibility to illuminate the backside and/or the curtain track itself enabling a higher level of privacy.
SUSTAINABLE LIGHTING
Traditional ways of lighting are very wasteful. Most of the power is wasted in the form of heat. This is why there has been a big push to change the environmental impact of lighting. Another benefit of LED lighting is sustainability and eco-friendliness. The system doesn’t use toxic chemicals and it can last for years. It has a life span of approximately 30.000 hours.
PRODUCT INFORMATION
- Hand drawn or motorised curtain track system
- Designer track for lighting and curtain track combined.
- Colours available: white and anthracite.
- Especially designed for Forest Wave application.
- Simple electrical installation by means of clickable connectors.
- Ceiling brackets and wall brackets available.
- Supplied with 1 LED strip.
- LED Colour temperature: warm white 3000.
- Low energy consuming LED strip, eco friendly.
- Dimmable LED strips (120 LED’s per meter).
- LED lifespan of 30.000 hours.
- No soldering, clickable components for easy installation without the need for an electrician.
- Power: 10 watt/mtr.
- Energy label A+.
- The DS-XL® LED Motorised system can be integrated into any building automation system.
- The DS-XL® LED motorised track system can only be used with a Forest Shuttle® S motor.
- Warranty: 10 years (LED-lighting 2 years).

DS-XL® LED MOTORISED
The DS-XL® LED Motorised track system is designed to create visual impact and provides superior functionality and ease of use to the end-user. Controlling the curtains and integrated LED-lighting by remote control or building automation system guarantees a unique experience of atmosphere and comfort in any room.

RED DOT AWARD
The DS-XL® LED Motorised track system has been awarded for the Red Dot Award 2021 for its outstanding product design. The Red Dot Award is one of the most internationally known and sought-after awards in the design industry.

SPECIFICATIONS
- Shown actual size 1:1
- Size LED 61 x 20 mm
Size LED Motorised 61 x 25 mm - Weight LED 580 gr/meter
Weight LED Motorised 675 gr/meter - Aluminium extrusion
- Colours available: white or anthracite

FOREST DS-XL® LED Control Options
Our wide range of controls make finding a fit for your home even easier; controlling the curtains by hand, remote or even by building automation system. With the remote you can control the curtains in any position you like. Controlling the motorised curtain system by your smartphone or tablet, you can create and schedule customised room scenes that allow your curtains to operate on their own throughout the day.
FOREST DIAMOND SENSE REMOTE

15 or 2 Channel Remote control. Control up to 15 systems individually and in group by integrated timer function or manual. Auto-On mode, when holding hand above it, the integrated LED light will automatically come on. Radio control, range up to 30 meters. Including magnetic wall support.
FOREST WI-FI DONGLE
With the Shuttle® Wi-Fi dongle, you can control your motorised curtains with your mobile device by the Forest Connect app or even by voice command with the easy integration in for example Google Home or Amazon Echo without the need for an additional hub or gateway.
FOREST WIRELESS CONNECTOR

The Forest Wireless Connector is an easy way to make the motorised curtain systems ‘smart’. This wireless remote solution works in combination with an analogue timer or a smart plug such as services as Apple HomeKit or Google Assistant or Amazon Alexa become available. It is also easily incorporated into most popular building management systems, including dry contact controls.
BUILDING AUTOMATION/HOTEL CONTROL

The DS-XL® System can be connected to any Building Automation system, by relay control.
SMART DEVICE CONNECTIVITY
| Shuttle S/M/L | Shuttle S/M/L with Z-Wave | Shuttle iOn | Shuttle AC | Forest Connect app | Google Home | Apple Homekit | Amazon Alexa | Google Assistant | Apple Siri | |
| Forest Wireless Connector One way transmitter to control curtains by third party apps or by Domotics. (433Mhz) | ||||||||||
| Forest Wi-Fi Dongle in com- bination with Forest Connect app | ||||||||||
| Smartwares Controller in combination with HomeWizard lite app (433 Mhz) | ||||||||||
| Homey in combination with Homey app | ||||||||||
| FIBARO System in combi- nation with FIBARO Home Center app | ||||||||||
| Samsung SmartThings Hub in combination with Samsung SmartThings app | ||||||||||
| 230 Volt hard-wired building management system |
1) In combination with a smart plug
2) Only with FIBARO Roller Shutter 3 / Walli Roller Shutter
3) In combination with an AC Control Set
WORKS WITH

* Only works with actor.
Forest DS-XL® (LED) is compatible with many other Building Automation systems, thanks to its modular construction. A competitive advantage over other motorised drapery systems in the world!
| DS | DS-XL | DS-XL CORDED | DS-XL MOTORISED | DS-XL LED | DS-XL LED MOTORISED | DS-XL/ DS-XL LED/ DS-XL (LED) MOTORISED + COMPONENTS | ARTICLE | PACKING UNIT | ART.NR | |
![]() | DS TRACK WHITE DS TRACK GREY DS TRACK ANTRHACITE DS TRACK BLACK | 80 mtr/bundle 100 mtr/bundle 120 mtr/bundle 140 mtr/bundle 120 mtr/bundle 120 mtr/bundle 120 mtr/bundle | 4 mtr 5 mtr 6 mtr 7 mtr 6 mtr 6 mtr 6 mtr | 2001001400-G 2001001500-G 2001001600-G 2001001700-G 2001003600-G 2001005600-G 2001006600-G | ||||||
![]() | TRACK CONNECTOR For use of DS / KS / CKS | 10/box | white grey black | 1018401010 1018403010 1018406010 | ||||||
![]() | INTERNAL DS PLASTIC TRACK CONNECTOR Can be inserted in the track, but still allows the carrier to run over. | 50/box | white | 2018400000-G | ||||||
![]() | CARRIER ASYMMETRICAL Clickable, UV-resistant plastic, 10 carriers on a breakaway strip. (also symmetrical carriers available). | 500/box | white grey black | 1010001000 1010003000 1010006000 | ||||||
![]() | CARRIER SYMMETRICAL | 500/box | white | 1010101000 | ||||||
![]() | STOP CARRIER Clickable, UV-resistant plastic | 250/box | white grey black | 1010201000 1010203000 1010206000 | ||||||
![]() | DS TWIST ENDSTOP WITH CAP UV-resistant plastic with metal plate. “Twists” into track | 100/box | white grey black | 2016301000 2016303000 2016306000 | ||||||
![]() | DS ENDCAP SHORT + SCREW for one-way draw curtains | 100/box | white grey anthracite black | 2006001000 2006003000 2006005000 2006006000 | ||||||
![]() | DS ENDCAP UNIVERSAL + SCREW | 100/box | white grey anthracite black | 4816101000 4816103000 4816105000 4816106000 | ||||||
![]() | CEILING BRACKET Slides onto the track, powder coated. Regular duty | 100/box | white grey black | 1018001000 1018003000 1018006000 | ||||||
![]() | CEILING BRACKET WITH SLOT Slides onto the track, powder coated. Regular duty Slotted support makes fixing curtain track easier | 100/box | white grey black | 1018101000 1018103000 1018106000 | ||||||
![]() | SMART KLICK CEILING BRACKET Powder coated, “klicks” onto track. Attach with VK-4 mm screw. SMART KLICK CEILING BRACKET INCL.COVER CAP COVER CAP FOR SMART KLICK BRACKETS Suitable for Smart Klick Wall-and Ceiling bracket | 100/box | white grey black white grey anthracite black white grey anthracite black | 1018201000 1018203000 1018206000 1018201001 1018203001 1018204001 1018206001 1019201000 1019203000 1019204000 1019206000 | ||||||
![]() | SMART KLICK WALL BRACKET 3,5 cm “Klicks onto track, powder coated. One screw attachment. For light weight use only. SMART KLICK WALL BRACKET 6 cm “Klicks onto track, powder coated. One screw attachment. For light weight use only. SMART KLICK WALL BRACKET 7,5 cm “Klicks onto track, powder coated. One screw attachment. For light weight use only. | 50/box | white grey black white grey black white grey black | 1020201035 1020203035 1020206035 1020201060 1020203060 1020206060 1020201075 1020203075 1020206075 | ||||||
![]() | ALUMINIUM SK WALL BRACKET 7,5 CM SINGLE. “Klicks onto track, powder coated. ALUMINIUM SK AFSTANDSTEUN 10 cm ENKEL. “Klicks onto track, powder coated. ALUMINIUM SK AFSTANDSTEUN 15 cm DUBBEL. “Klicks onto track, powder coated. KS ALUMINIUM SK AFSTANDSTEUN 20 cm DUBBEL. “Klicks onto track, powder coated. ALUMINIUM SK AFSTANDSTEUN 25 cm TRIPLE. “Klicks onto track, powder coated. | 20/box 20/box 15/box 15/box 10/box | white grey black white grey black white grey black white grey black white grey black | 1020301075 1020303075 1020306075 1020301100 1020303100 1020306100 1020301150 1020303150 1020306150 1020301200 1020303200 1020306200 1020301250 1020303250 1020305250 | ||||||
![]() | SMART KLICK COVER CAP ALUMINIUM BRACKET UNIVERSAL | 50/box | white grey black | 1021301000 1021303000 1021306000 |
| DS | DS-XL | DS-XL CORDED | DS-XL MOTORISED | DS-XL LED | DS-XL LED MOTORISED | DS-XL/ DS-XL LED/ DS-XL (LED) MOTORISED + COMPONENTS | ARTICLE | PACKING UNIT | ART.NR | |
![]() | DS-XL TRACK, 6 mtr (19”8”) | 24mtr/bundle | white grey anthracite | 3916101600 3916103600 3916105600 | ||||||
![]() | DS-XL TRACK MOTORISED, 6 mtr In combination with Shuttle L motor | 6mtr/bundle | white anthracite | 5915501600 5915505600 | ||||||
![]() | DS-XL LED TRACK MANUAL | 6mtr/length | white anthracite | 5917501600 5917505600 | ||||||
![]() | DS-XL LED TRACK MOTORISED, 6 mtr. In combination with Shuttle S motor & the Shuttle M adaptor ![]() | 6mtr/length | white anthracite | 5915501600 5915505600 | ||||||
![]() | ECONOMY CARRIER SMALL | 500/box | white black | 3910101000 3910106000 | ||||||
![]() | DS-XL END STOP | 100/box | 3916001000 | |||||||
![]() | DS-XL ENDCAP | 20/box | white grey black | 3916101000 3916103000 3916106000 | ||||||
![]() | DS-XL ENDCAP CORDED | 20/box | white grey black | 3916201000 3916203000 3916206000 | ||||||
![]() | DS-XL LED ENDCAP | 20/box | white black | 5916501000 5916506000 | ||||||
![]() | DS-XL LED END CAP FLAT | 20/box | white black | 5916501002 5916506002 | ||||||
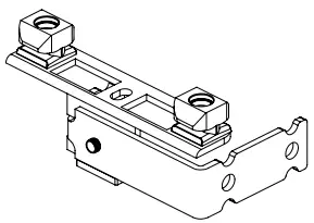
![]() | DS-XL KLICK CEILING BRACKET | 100/box | 3918301000 | |||||||
![]() | DS-XL CEILING SWIVEL BRACKET | 100/box | white anthracite | 3818200230 3818205230 | ||||||
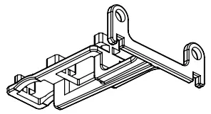
![]() | WALL BRACKET 9 CM | 5/box | white anthracite | 3820001018 3820005018 | ||||||
![]() | WALL BRACKET EXTENSION 4 CM | 10/box | white anthracite | 5815201030 5815205030PC | ||||||
![]() | DS-XL TRACK CONNECTOR STRAIGHT | 10/box | 3916401000 | |||||||
![]() | DS-XL TRACK CONNECTOR 90º | 10/box | 3916401001 | |||||||
![]() | DS-XL LED STRIP 3045 3000K/ 24V/ 10W/m 8mm width | 50mtr/roll | 5917503055 | |||||||
![]() | DS-XL LED CONNECTOR STRAIGHT | 10/box | 5917502400 | |||||||
![]() | DS-XL LED CONNECTOR CABLE 2MTR EXTENSION CABLE | 1/box 1/box | black (200cm/24v) black (200cm/24v) | 5917502420 5917512420 | ||||||
![]() | DS-XL LED DIMMER In combination with Shuttle M adaptor To control LED light via Forest remote/wall switch | 1/box | white black | 5917531470 5917536470 | ||||||
![]() | DS-XL LED WIFI DIMMER In combination with Shuttle M adaptor To control LED light via Forest Connect App | 1/box | white black | 5917541000 5917546000 | ||||||
![]() | DS-XL LED STRIP 3045 POWER SUPPLY CABLE 35 cm / 24Vdc 35 cm / 24Vdc 200cm / 24Vdc 200cm / 24Vdc DS-XL LED Dimmer accessory | 1/piece | white black white black | 5917502431 5917502432 5917502421 5917502422 | ||||||
![]() | DS-XL LED STRIP 3045 EXTENSION CABLE 200cm / 24Vdc DS-XL LED Dimmer accessory | 1/piece | white black | 5917512421 5917512422 | ||||||
![]() | DS-XL LED STRIP CONNECTOR PLUG DS-XL LED Dimmer accessory | 1/piece | 5917524515 | |||||||
![]() | DS-XL LED STRIP 3045 CONNECTOR 90º DS-XL LED Dimmer accessory | 10/box | 24v | 5917502491 | ||||||
![]() | ADAPTOR SET SHUTTLE M (icm DS-XL LED Dimmer) Incl. cable & holder EU 0.50 mtr EU 3.00 mtr UK 0.50 mtr USA 0.50 mtr EU 0.50 mtr | 1/box | white white white white black | 5201002002 5201002003 5201002004 5201002007 5201006002 | ||||||
![]() | DS-XL LED STRIP ANTHRACITE To cover the LED-channel when not in use | 6mtr/bundle | anthracite | 5916505000 | ||||||
![]() | DS-XL LED STRIP OPAAL – MIDDLE | 6mtr/bundle | 5916509001 | |||||||
![]() | DS-XL LED STRIP MOUNTING DEVICE | 1/box | 5916509999 | |||||||
![]() | DS-XL LED STRIP CONNECTOR 90 DEGREE | 10/box | 5917502490 | |||||||
![]() | DS-XL LED MOTORISED MOTOR PULLEY, 6 mtr | 1/box | white black | 5917011000 5917076000 | ||||||
![]() | DS-XL LED MOTORISED RETURN PULLEY, 6 mtr | 1/box | white black | 5917011100 5917016100 | ||||||
![]() | FMS TRANSPORT BELT Toothed belt, to be installed inside the FMS Track | 100mtr/roll | 5105501000 | |||||||
![]() | FMS BELT CONNECTOR Connects the Master Carrier with the transport belt | 50/box | white grey black | 5103011500 5103013500 5103016500 | ||||||
![]() | MRS BELT CONNECTOR Connects the Master Carrier with the transport belt | 25/box | 4805711500 |
| DS | DS-XL | DS-XL CORDED | DS-XL MOTORISED | DS-XL LED | DS-XL LED MOTORISED | FOREST WAVE COMPONENTS | ARTICLE | PACKING UNIT | ART.NR | |
![]() | WAVE DS ENDCAP + SCREW To be screwed with an Easywave carrier, made of UV-resistant plastic for wave | 100/box | white grey black | 4816101000 4816103000 4816106000 | ||||||
![]() | EASYFLEX MASTER CARRIER 90 DEGREE LEFT for center draw in combination with master carrier right 90° left for small stiffener | 25/box | white grey black white | 4815351090 4815353090 4815356090 4815361090 | ||||||
![]() | EASYFLEX MASTER CARRIER 90 DEGREE RIGHT for center draw in combination with master carrier left 90° right for small stiffener | 15/box | white grey black white | 4815451090 4815453090 4815456090 4815461090 | ||||||
![]() | EASYFLEX PLASTIC MASTER CARRIER 90 DEGREE | 15/box | white black | 3916701000 3916703000 3916706000 | ||||||
![]() | WAVE ADJUSTABLE MASTER CARRIER For use with wave pleat curtains (Easyflex) | 25/box | white black | 4813001050 4813006050 |
| DS | DS-XL | DS-XL CORDED | DS-XL MOTORISED | DS-XL LED | DS-XL LED MOTORISED | CONTROL COMPONENTS + OTHER ITEMS | ARTICLE | PACKING UNIT | ART.NR | |
![]() | DS-XL CORD CONNECTOR | 100/box | white black | 1530301000 1530306000 | ||||||
![]() | TRAVERSE CORD Polyester drapery cord designed for strong smooth slide, Ø 3.5 mm (0,14”),16 ply. Suitable for CKS/CCS/CRS/DS-XL Corded | 250 mtr/roll | white grey black | 1030401000 1030403000 1030406000 | ||||||
![]() | TENSION PULLEY | 25/box | white | 1030501000 | ||||||
![]() | CORD/CHAIN WALL MOUNT SAFETY BOX SINGLE | 25/box | 3645702000 | |||||||
![]() | CORD/CHAIN WEIGHT DESIGN 110 GR WIT | 10/box | white grey black | 3030701000 3030703000 3030706000 | ||||||
![]() | FOREST DIAMOND SENSE REMOTE CONTROL | 1/box | white black | 5201091470 5201096470 | ||||||
|
|
| ![]() | FOREST WIFI DONGLE Incl. cable WiFi 2.4GHz Power supply 12V DC 300mA max USB power 5V DC 1000mA max Control the curtains with Forest Connect App Bidirectioneel | 1/box | white black | 5201002280 5201006280 | ||||
![]() | FOREST WIRELESS CONNECTOR Incl.15cm USB cable, excl. usb-adaptor One way transmitter to control curtains by third party apps (i.e Google/Apple /Amazon) or by Domotics | 1/box | white | 5201002270 | ||||||
![]() | FOREST WIRELESS CONNECTOR USB ADAPTOR | 1/box | EU UK AU US | 5201002271-EU 5201002271-UK 5201002272-AU 5201002274-US | ||||||
![]() | FOREST SMART PLUG WHITE The Forest Smart Plug allows App control via the Forest Connect App (the Forest Wireless Con- nector is required) | 1/box | EU UK AU US | 5201001952-EU 5201001953-UK 5201001954-AU 5201001955-US | ||||||
![]() | FOREST WIRELESS WALL SWITCH 2-channel wall switch Sizes: 8.5 x 8.5 x 1 cm | 1/box | white black | 5201001480 5201006480 | ||||||
| DS | DS-XL | DS-XL CORDED | DS-XL MOTORISED | DS-XL LED | DS-XL LED MOTORISED | BENDING COMPONENTS | ARTICLE | PACKING UNIT | ART.NR | |
![]() | COMPACT BENDING HOUSE For DS / KS / CRS DS BENDING WHEEL ALL-IN incl. strips (60cm) | 1/each 1/each | 1050000000 2050000000 | |||||||
![]() | ELECTRIC POWERED BENDER For creating continuous curves. Minimum radius 50 cm. | 1/box | 230V 110V | 1060500000 1060500001 | ||||||
![]() | DS BENDING WHEELS Set of 3 bending wheels for electric powered bender. Only suitable for DS track. | 1/set | 2060700000 | |||||||
![]() | DS T-BENDING STRIP SET ELECTRIC For DS electric powered bender, Length of 60 cm. | 1/piece | 7m | 8500000000 | ||||||
![]() | ELECTRIC POWERED RAILCUTTER 230 Volt EU BLADE FOREST CUTTER NEW MODEL | 1/each 1/each | 1061100000 1061200001 |




























































































