velleman DVM66 Dual Display Digital Multimeter

Product Information
The DVM66 Dual Display Digital Multimeter is an electronic measuring instrument designed according to IEC-1010 standards. It falls under the overvoltage category (CAT II) and pollution 2. The multimeter is equipped with various functions and features that make it convenient for electrical and electronic measurements. It can measure DC and AC voltage, resistance, frequency, capacitance, and perform audible continuity tests. Additionally, it can measure DC and AC current, as well as test transistors and diodes. The meter has a panel configuration with buttons for different functions and ranges.
Product Usage Instructions
Safety Information:
- Follow all safety and operating instructions provided in the manual.
- Ensure that the meter is used safely and kept in good operating condition.
- Keep fingers behind the probe barriers while measuring to avoid electric shock.
Maintenance
- Regularly check the fuse ratings and replace them if necessary.
- Avoid using abrasives or solvents on the meter.
Panel Configuration
- Refer to the manual for button configuration in different function positions.
- The meter provides auto and manual ranging options for convenience.
- Some functions may have fixed ranges.
Record Button
- Press the record button to activate the MIN MAX AVG function.
- The main display shows the real-time measuring value, while the secondary display shows the recording time.
- The meter automatically records the maximum and minimum values measured and calculates the average.
Rel Button
- Press the rel button to activate the relative value function.
- The main display shows the relative value, which is the real-time value minus the reference value.
- The secondary display shows the reference value.
- Pressing the rel button again activates the relative percent value function.
- The main display shows the relative percent value, which is calculated using the formula: (Rel. Value / Reference) x 100%.
- The secondary display shows the reference value, and the bargraph shows the percentage tolerance specified.
Range Button
- Use the range button to select the desired range for measurement.
Safety information
This multimeter has been designed according to IEC-1010 concerning electronic measuring instruments with an over voltage category (CAT II) and pollution 2. Follow all safety and operating instructions to ensure that the meter is used safely and is kept in good operating condition.
Preliminary
- When using the meter, the user must observe all normal safety rules concerning :
- Protection against the dangers of electrical current.
- Protection of the meter against misuse.
- Full compliance with safety standards can be guaranteed only if used with test leads supplied. If necessary, they must be replaced with the same model or same electric ratings. Measuring leads must be in good condition.
During use
- Never exceed the protection limit values indicated in specifications for each range of measurement.
- When the meter is linked to a measurement circuit, do not touch unused terminals.
- Components should not be connected to the hFE socket when measuring voltages with test leads.
- Before rotating the range selector to change functions, disconnect test leads from the circuit under test.
- When carrying out measurements on TV or switching power circuits, always remember that there may be high amplitude voltage pulses at test points which can damage the meter.
- Never perform resistance measurements on live circuits.
- Never perform capacitance measurements unless the capacitor to be measured has been discharged fully.
- Always be careful when working with voltages above 60V DC or 30 V AC rms. Keep fingers behind the probe barriers while measuring.
Symbols
![]()
- Important safety information, refer to the operating manual.
- Dangerous voltage may be present.
- Earth ground
- Double insulation (Protection class II).
- Indicates that the fuse must be replaced with one having the ratings indicated.
Maintenance
- Before opening the meter, always disconnect test leads from all sources of electric current.
- For continue protection against fire, replace fuse only with the specified voltage and current ratings :
- F1: F 500mA/250V
- F2: F 10A/250V
- If any faults or abnormalities are observed, the meter can not be used any more and it has to be checked out.
- Never use the meter unless the back cover is in place and fastened fully.
- To clean the meter, use a damp cloth and mild detergent only, do not use abrasives or solvents on it.
Description
This meter is an auto ranging professional measuring instrument with 3 ¾ digit LCD, capable of performing functions:
- DC and AC voltage measurement
- Resistance measurement
- Frequency measurement
- Audible continuity test
- DC and AC current measurement
- Capacitance measurement
- Transistor and Diode test
Some special functions and features are provided. They are very useful for electrical and electronic measurement. All the functions are designed to be very convenient to use. You can get used to working with this meter quickly.
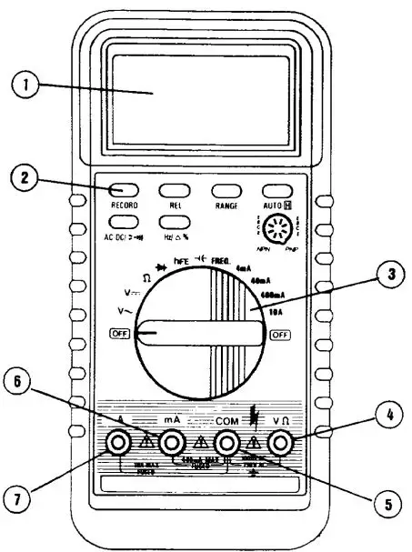
Panel configuration

- LCD Display
- Function buttons
- Record
- Rel
- Range
- A-H
- AC-DC/

- Hz/Δ %
- Rotary Switch
- V/Ω/F Input Jack
- COM Input Jack
- mA input Jack
- A Input Jack
The following table shows the button configuration for all function positions
| Function | ACV | DCV | hFE | CAP | FREQ | mA | A | |||
| Range | A/M | A/M | A/M | M | F | F | A/M | A | F | F |
| Record | o | o | o | o | o | o | o | |||
| Rel | o | o | o | o | o | o | o | o | ||
| A-H | # | # | o | o | o | o | # # | o | o | |
| AC-DC | o | o | ||||||||
| o | ||||||||||
| Hz | o | |||||||||
| D % | o | o | o | o | o | o | o | o |
- A/M: Auto and manual ranging provided.
- M: Manual ranging only
- F: Range fixed.
- #: A-H function is not valid for 200mV range.
- # #: A-H function in Freq. Measuring is different from normal. See paragraph 2.5.
Record button

- Push this button to enter into Record mode.
- MIN MAX AVG signs light
- Main display shows the real time measuring value.
- Secondary display shows the recording time. At the first minute display shows seconds and then only minutes and hours.
- This meter starts to record the max. and min. value measured and calculate the average automatically.
- To read out recorded value, push this button more.
- MAX MIN AVG lights in sequence
- Main display shows the recorded value or the average.
- Secondary display shows the time when the max. value or the min. value was recorded.
- Hold this button for more than 3 seconds to return to the normal operating mode.
Rel button

- Push this button to enter into Rel measuring mode.
- REL sign lights.
- Main display shows the relative value.
- Relative value = Real time value
- Reference value.
- Secondary display shows the reference value.

- Push this button again to get Rel % measurement.
- REL % signs light.
- Main display shows the relative percent value.
- Relative percent value = Rel. Value/reference x 100 %
- Secondary display remains the reference value.
- Bargraph shows the percentage tolerance specified.
- If measurement result is within the tolerance range, built-in buzzer will sound.

- To change the percentage tolerance, use Δ % button. Per pushing increases 0.5% until 10%. The bar graph consists of 12 bars in this case. One bar of the 2nd to 11th indicates 1% and the 13th indicates 0.5%. For example, right figure indicates 5.5% tolerance.
- Hold this button for more than 3 seconds to exit.
Range Button
- Range button is used to change ranging mode between Auto and Manual. When a function with A/M ranging mode is selected, the meter enters auto ranging at first. To change to manual ranging, push this button once.
- When the meter operates in manual ranging mode, push this button to change range to the higher one and hold this button for more than 3 seconds to return to auto ranging mode.
A-H Button
- Auto data hold is a very useful function for real time measurement. Just push A-H button to hold the last measuring result. When a new measurement is made, the meter will hold the new value automatically. This function remains valid until pushing the A-H button to release the meter.
- New value mentioned above means a value much different from the old. In most of measurements with this meter, 10 digit difference is enough. But in resistance measuring, maybe less than 20 digits will not result in a new holding.
- In frequency measurement, the A-H feature is somehow different. Pushing this button only freezes the operation of meter, but does not auto-hold reading. It means that LCD display will keep the value not variant, even though the frequency of input changes greatly. In this case, the sign A-H is flashing to show the functional difference.
- In high resistance and large capacitance measuring, as the meter has to take time to get stable reading, so some transient changes of inputs do not affect the held value.
AC-DC/
Button
- This button is used to change current measurement between AC and DC mode.
- The second function of this button is to set up a continuity testing mode in resistance measurement position. A special feature provided by this meter is that the continuity testing can be executed at any resistance ranges. To make continuity testing at the desired range, just use the range button after pushing
button.
Hz/ Δ % BUTTON
- When measuring frequency, push this button will change the contents of LCD display. The main display will show the AC voltage value of input signals. At the same time, the frequency of inputs will appear on the secondary display.
- In relative value measurement mode, this button is used to specify the percentage tolerance as described in paragraph 2.3
Input Jacks
This meter has four input jacks that are protected against overload to the limits shown in the table. During use, connect the black test lead to the COM jack and the red test lead as below:
| Function | Red Lead Connection | Input Limits |
| DCV/ACV | V/W/F | 1000V DC or 750V rms AC |
| V/W/F | 250V DC or rms AC | |
| CAP. | V/W/F | 250V DC or rms AC |
| FREQ. | V/W/F | 250V DC or rms AC |
| mA | mA | 400mA DC or rms AC |
| A | A | 10A DC or rms AC |
- mA and A ranges are protected by fuses
Operating Instruction
Measuring voltage
- Connect the black test lead to the COM jack and the red test lead to the V/Ω/F jack.
- Set the function switch at V or V range to be used and connect test leads across the source or load under measurement.
- Read LCD display. The polarity of red connection will be indicated when making a DC measurement.
Measuring current
- connect the black test lead to the COM jack and the red test lead to the mA jack for a maximum of 400mA. For a maximum of 10A, move the red lead to the A jack.
- Set the function switch at
or V
range to be used and push AC-DC button to select DCA or ACA measuring mode. - Connect test leads in series with the load in which the current is to be measured.
- Read LCD display. The polarity of red lead connection will be indicated when making a DC measurement.
Measuring current
- Connect the black test lead to the COM jack and the red test lead to the mA jack for a maximum of 400mA. For a maximum of 10A, move the red lead to the A jack.
- Set the function switch at mA or A range to be used and push AC-DC button to select DCA or ACA measuring mode.
- Connect test leads in series with the load in which the current is to be measured.
- Read LCD display. The polarity of red lead connection will be indicated when making a DC measurement.
Measuring Resistance
- Connect the black test lead to the COM jack and the red teas lead to the V/Ω/F jack. (NOTE : The polarity of the red lead connection is positive “+”)
- Set the function switch at Ω range to be used and connect test leads across the resistance under measurement.
NOTE
- For resistance above 4MΩ, the meter may take a few seconds to stabilize reading. This is normal for high resistance measuring.
- When the input is not connected, i.e. at open circuit, the figure “OL” will be displayed for the over range condition.
- When checking in-circuit resistance, be sure the circuit under test has all power removed and all capacitors are fully discharged.
Measuring Capacitance
- Connect the black test lead to the COM jack and the red test lead to the V/Ω/F jack. (NOTE: The polarity of the red lead connection is positive “+”).
- Set the function switch at position.
- Connect test leads across the capacitor under measurement and be sure that the polarity of connection is observed.
- When rest leads are not connected to a capacitor, the LCD may not show zero but a few digits, this is normal for the stray capacitance of test leads and input circuit of the meter always exists. These digits can be deleted by using Rel. Operating mode before applying test leads.
Measuring Frequency
- Connect the black test lead to the COM jack and the red test lead to the V/Ω/F jack.
- Set the function switch at the FREQ. Position and connect test leads across the source or load under measurement.
NOTE: The input voltage should be between 1V and 10V rms ac. If the voltage is more than 10V rms, reading may be out of the accuracy range.
Continuity Test
- Connect the black test lead to the COM jack and the red test lead to the V/Ω/F jack. (NOTE: The polarity of red lead connection is positive “+”)
- Set the function switch at Ω position and push the AC-DC/
button to set up continuity testing mode. - If continuity exists (i.e., resistance less than 5% of full scale), built-in buzzer will sound.
Diode Test
- Connect the black test lead to the COM jack and the red test lead to the V/Ω/F jack. (NOTE: The polarity of red lead connection is positive “+”)
- Set the function switch at
position. - Connect red test lead to the anode of the diode to be tested and black test lead to the cathode. The meter will show the approximate forward voltage of the diode.
Transistor Test
- Set the function switch at hFE position.
- Identify whether the transistor is NPN or PNP type and locate emitter, base and collector lead. Insert leads of the transistor to be tested into proper holes of the testing socket on the front panel.
- LCD display will show the approximate hFE value at the test condition of base current 10μA and Vce 3.0V.
Auto Power Off
To extend the battery life, Auto Power Off function is provided. If no key operations or range changing happen for 20 to 40 minutes (According to the function selected), the meter will be turned off automatically. To turn it on, rotate the rotary switch or push any function buttons only.
Specifications
Accuracy is specified for a period of one year after calibration and at 18°C to 28°C (64°F to 82°F) with relative humidity to 80%.
General
- Max. Voltage between terminals and Earth Ground
- 1000V DC or 750V rms AC (sine)
- Fuse protection: mA: F 500mA/250V
- A: F 10A/2Q50V
- Power supply: 9V battery
- Display: LCD, 4000 counts max., updates 2-3/sec
- Measurement Method: Dual slope integration A/D converter
- Ranging Method: Auto/Manual
- Over range Indication: “OL” displayed
- Polarity indication: “-” displayed automatically
- Low battery indication: “
” displayed - Operating temperature: 0°C to 40°C (32°F to 104°F)
- Storage temperature: -10°C to 50°C (10°F to 122°F)
- Dimension: 91 x 189 x 31.5 mm
- Weight: 310g (including battery)
DC Voltage
| Range | Resolution | Accuracy |
| 400Mv | 0.1mV | + 0.5% of rdg + 2 digits |
| 4V | 1mV | + 0.5% of rdg + 2 digits |
| 40V | 10mV | + 0.5% of rdg + 2 digits |
| 400V | 0.1V | + 0.5% of rdg + 2 digits |
| 1000V | 1V | + 0.5% of rdg + 2 digits |
Input impedance: 10MΩ, more than 100MΩ at 400mV range.
AC VOLTAGE
| Range | Resolution | Accuracy |
| 400Mv | 0.1mV | |
| 4V | 1mV | + 0.8% of rdg + 3 digits |
| 40V | 10mV | + 0.8% of rdg + 3 digits |
| 400V | 0.1V | + 0.8% of rdg + 3 digits |
| 750V | 1V | + 0.8% of rdg + 3 digits |
- Input impedance: 10MΩ
- Frequency range: 40 to 400 Hz, 40 to 200 Hz for 4V range.
- Response: Average, calibrated in rms of sine wave.
DC CURRENT
| Range | Resolution | Accuracy | Burden Voltage |
| 4mA | 1µA | + 1.0% or rdg + 3 digits | 0.11mV/µA |
| 40mA | 10µA | + 1.0% or rdg + 3 digits | 12mV/mA |
| 400mA | 0.1mA | + 1.0% or rdg + 3 digits | 2.0mV/mA |
| 10A | 10mA | + 2.0% or rdg + 5 digits | 0.05V/A |
Overload protection: F 500 mA fuse for mA ranges, F 10A fuse for A range.
AC CURRENT
| Range | Resolution | Accuracy | Burden Voltage |
| 4mA | 1µA | + 1.5% or rdg + 3 digits | 0.11mV/µA |
| 40mA | 10µA | + 1.5% or rdg + 3 digits | 12mV/mA |
| 400mA | 0.1mA | + 1.5% or rdg + 3 digits | 2.0mV/mA |
| 10A | 10mA | + 3.0% or rdg + 5 digits | 0.05V/A |
- Overload Protection: F 500mA fuse for mA ranges, F 10A fuse for A range.
- Frequency range: 40 to 400 Hz.
- Response: Average, calibrated in rms of sine wave.
RESISTANCE
| Range | Resolution | Accuracy |
| 400Ω | 0.1Ω | + 0.6% of rdg + 3 digits |
| 4kΩ | 1Ω | + 0.6% of rdg + 1 digit |
| 40kΩ | 10Ω | + 0.6% of rdg + 1digit |
| 400kΩ | 100Ω | + 0.6% of rdg + 1 digit |
| 4MΩ | 1kΩ | + 0.6% of rdg + 1 digit |
| 40MΩ | 10kΩ | + 1.0% of rdg + 2 digits |
- Maximum Open Circuit Voltage,
- 400Ω range: 2.6V
- Other ranges: 1.3V
FREQUENCY
| Range | Resolution | Accuracy |
| 4000Hz | 1Hz | + 1.0% of rdg + 2 digits |
| 40kHz | 10Hz | + 1.0% of rdg + 2 digits |
| 400kHz | 100Hz | + 1.0% of rdg + 2 digits |
| 800kHz | 1kHz | + 1.0% of rdg + 2 digits |
Sensitivity: 1 V rms for all ranges.
CAPACITANCE
| Range | Resolution | Accuracy |
| 40nF | 0.01nF | + 2.0% of rdg + 5 digits |
| 400nF | 0.1nF | + 2.0% of rdg + 5 digits |
| 4µF | 1nF | + 2.0% of rdg + 5 digits |
| 40µF | 10nF | + 2.0% of rdg + 5 digits |
ACCESSORIES
Supplied with the multimeter
- Test leads
- Battery
- Operating Manual
- Holster
How to use the holster
The holster is used to protect the meter and to make the measurement more comfortable. It comes with two stands installed together. The following figure shows how to use the holster to :

- Support the meter with a standard angle
- Support the meter with a small angle using the little stand
- Hang the meter on the wall using the little stand. Take the little stand off from the back side of the large stand and insert it into holes located upper on the holster.
- Hold test leads.
Battery and Fuse replacement
If the sign ”
” appears on the LCD display, it indicates that the battery should be replaced. Remove screws on the back cover and open the case. Replace the exhausted battery with a new one. Fuse rarely need replacement and blow almost always as a result of the operator’s error. Open the case as mentioned above and take the PCB assembly out from the case. Replace the blown fuse with ratings specified.
WARNING
Before attempting to open the case, be sure that test leads have been disconnected from measurement circuit to avoid electric shock hazard. For protection against fire, replace fuses only with specified ratings:
- F1: F 500mA/250V
- F2: F 10A/250V

















