

Instruction Manual
ALMA
WARNING
Read this instruction manual carefully before beginning installation and save it for future reference. In case of transfer of the device, you must also give this instruction manual to the corresponding person
While using electrical appliances, basic safety precautions should always be followed o reduce the risk of fire, electric shock and personal injury.
CAUTION
- The product must only be installed by an authorized electrician and in compliance with local, regional and state electricity regulations.
- Check if the electrical specifications of this device are compatible with your installation. Turn off the power before installing or repairing the fan.
- The fan must be properly grounded to avoid the risk of electric shock
- Use and unauthorized technical modifications could suppose a risk of injury.
- The fan must be connected to a 230V 50Hz power supply.
- Do not connect the fan motor to a current dimmer. It could give unsatisfactory performance (engine humming) and cause engine damage.
- Be careful while working near the spinning blades
- Never connect the fan to a power point but fo the ceiling itself.
- The fan must be installed so that the blades are at least 2,3 meters above the ground.
- The fan must be hung from a structure capable of supporting a weight of at least 50 kg. The fixture must be able to support the weight of the fan in motion and should not wobble or loosen
- Make sure that the blades do nof come in contact with any object at the installation site. Always leave a minimum clearance of 50cm from the tip of the blades to the wall or ceiling Keep in mind that the larger this space, the better the fan’s air flow will be.
- This device is designed for indoor use only. Do not use in an open space or where it may be exposed to water or moisture.
- Never install the appliance in a room with a high degree of humidity.
- The fan must not be started in a room with gas appliance running of the same fime.
- This device can be used by children aged 8 years and above and of people with reduced physical, sensory or mental abilities or lack of experience and knowledge if they are supervised or instructed about the use of the device safely and understand the risks involved. As well as cleaning and maintenance of the device.
- Children should not play with the device.
- To reverse the direction of the blades, do it while moving.
- Do not insert any object into the fan blades while they are rotating. This can damage them and alter the balance of the fan and the device can fall down.
- After the fan is fully installed make sure all fasteners are securely fastened for prevent any wobbling or falling of the machine
The instructions and safety regulations in this manual cannot prevent all conditions and situations that may occur. For obvious reasons, this manual cannot include factors such as caution and care. These factors must be assumed by who installs, maintains, uses and enjoys the product.
BEFORE INSTALLATION
Open the box avoiding the use of blades or cutters’ to avoid scratching the fan components. Unpack the parts handling them carefully so that they do not bend or scratch, and place the motor on a cloth or a soft surface to prevent damage (you can also use the anti-shock foam on the box for this purpose). Never support the motor sideways It is advisable to mount the fan on the floor or o surface large enough so that no component falls. Identify all parts before beginning assembly.
TOOLS NEEDED
“Not recommended that the included. It is screwdriver be magnetized.

MAINTENANCE
- Over time and due to the natural movement of the fan, some connections may come loose Check the support connections, brackets and attach the blades twice a year, and make sure they are firm
- Clean the appliance regularly to maintain its appearance as new. To do this, use a soft, lint- free cloth to avoid scratching the finish. Never use water, because it could damage the motor or the wood of the blades.
- It is not necessary to grease the fan, since the motor bearings permanently contain lubricant.
WARRANTY
You can check the warranty for this product on its corresponding page at the end of this manual
ENVIRONMENT
Do not throw electrical appliances info the household waste, use selective collection facilities. Consult local authorities for more information If electrical appliances are deposited in landfills, hazardous components can seep info groundwater and enter the food chain, damaging health and well-being, Thanks for taking care of the environment
This product contains a light source of energy efficiency class E – (EU) 2019/2015
PROBLEM SOLVING
Before carrying out the checks detailed below, the fon must be without power supply.
- The fan does not start
Replace the remote control batteries if they are exhausted or not suitable.
« Check that there are no nearby devices that may be causing interference with the remote or reducing signal reception.
« Resynchronize the remote control
Check that the electrical connections are correct (must be carried out by a licensed electrician).
Check fuses and switches, that the installation has voltage and if reaches the fan. - The fan doesn’t start but the light does.
« With the fan off, check with your hand that the blades turn freely. - The fan makes excessive noise while rotating
« Allow a slight separation between the canopy and the ceiling, preventing them from touching directly.
« Check that the fixing screws of the blades, the fixing screws to the roof, the stem and the fastening elements are correctly tightened
If you replaced the original remote control or receiver, reinstall the supplied ones along with the fan. - The fan wobbles
« Check that the fixing screws of the blades, the fixing screws to the roof, the stem and the fastening elements are correctly fightened
« Check that the blades are not deformed and follow the blade balancing instructions detailed in this manual. - The fan does not give air or the air flow is insufficient
Check that the blades are not mounted backwards.
« Check that the blades rotate in the correct direction (Summer / Winter),
Avoid nearby objects that may impede air circulation,
« Verify that the diameter of the blades of your fan is sufficient for the area of the room in which it is installed - The light does not turn on
Check the bulb is not blown, otherwise replaces it with a new one.
«If your fan has LED light included, check the connections are properly fixed according to the instruction manual
COLOR TEMPERATURE MEMORY
The fan has color temperature memory of the light. This function allows you to maintain the same color temperature when the fan light is turned on again.
To change the color temperature of the light press. the button indicated with the color of each color femperature When you turn the light off and turn it on again it will keep the selected temperature.

REMOTE CONTROL
WINTER/SUMMER MODE
Reverse the direction of rofation of the blades change to summer mode or winter mode.
ON/OFF LIGHT / SYNCHRONIZATION
Turns the light and synchronization on or off (see section “Control synchronization’)
ON/OFF FAN
Turn the fan on or off.
SPEED REGULATOR
Increases or decreases the turning intensity of the blades.
LIGHT INTENSITY REGULATOR
Increase or decrease the intensity of the light
LCD INDICATOR
Indicates the number of speeds, from the bottom of the screen to the top.
LIGHT TEMPERATURE
Change the color femperature of the light
PROGRAMMING
Sets the hours of fan operation (1, 2 or 4 hours).
BREEZE MODE
Activate the breeze mode that alternates smoothly between soft and fast speeds (from speed 1 to 3) for create a greater sensation of comfort
To activate the breeze mode, activate the fan using the “ON/OFF” button on the fan and then press the “Breeze mode” button.
For cancel breeze mode press the “Breeze mode” button again, the fan will return for the rotation speed selected before the breeze mode. You can also press the ONJOFF button of the fan to completely stop the rotation of the blades, when you turn it on again
it will not remember the breeze mode, activating af the previously selected rotation speed
“The remote control is synchronized from the factory, you only need to re-synchronize it if the synchronization has been lost, if you purchased o new one or want for control several fans with single remote.

BATTERIES
The remote control batteries are not included The required battery model is 2x AAA “Remove the batteries from the controller if it is ot going o be used for a long fime
REMOTE CONTROL SYNCHRONIZATION
The remote is factory synchronized, you only need for resynchronize the remote i you have lost synchronization, purchased a new one, want to control several fans with a single remote, or the fan does not respond fo the remote control orders while it is running
A REMOTE CONTROL TO A NEW FAN
- Cut the current Be sure to cut off the current until the fan stop and wait 30″

- Restore the current Past 30° re-establish the current.

- Synchronize the remote control Within 10 seconds, press the synchronization button “ON/OFF light (@+)” during 3 seconds until you hear the signal and the light flashes. Control range: 8-10m

A REMOTE CONTROL TO VARIOUS FANS
- Cut the current Be sure to cut off the current until all fans stop and wait 30

- Restore the current
Past 30 re-establish the current.
- Synchronize the remote control
Within 10 seconds, press the synchronization button “ON/OFF light ()” on each fan during 3 seconds until you hear the signal and the light flashes. If they are within a radius of less than 10m (control range: 8-10m), all will synchronize at the same time.
A REMOTE CONTROL TO A FAN
(Example for two fans, applicable to a larger number of fans)
- Cut the fan A current” Be sure to cut the fan A current (the one we want to remove the synchronization) and wait 30

- Cut the fan B current*
Be sure to cut off fan B (the one we want to synchronize) and wait 30
- Restore fan B current
When you restore the fan B and within 10 seconds, press the synchronization button ‘ON/OFF light (8s)” during 3 seconds until you hear the signal and the light flashes to synchronize remote controlB with fan B.
- Cut the fan B current”
Be sure to cut the fan B current and wait 30″
- Restore the fan A current
When you restore the fan A and within 10 seconds, press the synchronization button “ON/OFF light (8+)” during 3 seconds until you hear the signaland the light flashes to synchronize remote control A with fan A
- Repeat the steps
Repeat steps with each fan you have and want fo individualize its remote control
“To cut the current you can press the individual fan switch. If there is not, disconnect the quick connect cables from the fan
ALMA
SYNCHRONISATION OF TWO REMOTE CONTROLS TO A FAN

TWO REMOTE CONTROLS TO ONE FAN
- Cut the current
Be sure to cut off the current until the fan stop and wun;’
- Restore the current
Past 30 re-establish the current.
- Synchronize the remote control A
Within 10 seconds, press the synchronization button “ON/OFF light ()” during 3 seconds until you hear the signal and the light flashes. Control range: 8-10m
4. Cut the current
Be sure to cut off the current until the fan stop and wait 30°
5. Restore the current
Past 30 re-establish the current.
- Synchronize the remote control B
Within 10 seconds, press the synchronization button ““ON/OFF light ()” during 3 seconds until you hear the signal and the light flashes Control range: 8-10m
*It is not possible to synchronise more than two controllers o one fan,
GENERAL GUIDE: PARTS OF A FAN

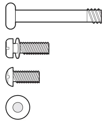
SCREW GUIDE

SCREWS FOR THE ROOF

Tornillos porn techo Screws for the roof Parafusos para o telhado
SCREWS FOR BLADES
Tornillo para aspas con arandela Screw for blades with washer Parafuso para laminas corn arruela




SPARE PARTS
You can request spare parts by going to the store where you purchased it or to any another of the brand. If the product is under warranty, present the purchase receipt or invoice.
| DESCRIIPTION | REFERENCE | |
![]() | Light cover | PLAALMA |
![]() | LED module | LEDALMA |
![]() | Remote control | MANALMAONLY |
![]() | Fan controller | CONALMAONLY |
![]() | LED controller | CONLEDALMA |
WARRANTY
The motor of! (5 fam & emergent need o @ seas and 3 years for the rest of the components. This cdkerEE failure or defect of the device, provided that it is due for a manufacturing fault or a defective component:
IMPORTANT
It is essential for the use of this guarantee for prove the purchase date of the product. Therefore, it will be necessary for present the purchase receipt as well as this instruction manual
Keep the purchase receipt and the instruction manual.
The warranty of this product does not apply if the defects of the device have been caused by:
- Damage during transport not carried out by the manufacturer. (Example: dents, components or glass pieces damages …)
- Carrying out incorrect installations or assemblies.
- Poor preservation of the product.
- Damage caused by contact of the device with chemical or inappropriate substances. This fan is designed for indoor use only, so it should not be exposed to water and / or humidity either.
- The replacement or use of additional ports or accessories that ore not original from the manufacturer.
- When using o control through a wall dimmer other than the remote control supplied with the fan.
Before calling for technical assistance, it is advisable to rend the troubleshooting guide included in this manual.
If you have any questions, problems or missing components, consult your dealer. You can also contact us through the email [email protected] or through the contact form available on our website.
www.arteconfort.com
ARTECONFORT HOTEL S.L.
Ctra. Andalucia, 6
45224 Sesefia Nuevo
Toledo, Espaiia











“To cut the current you can press the individual fan switch. If there is not, disconnect the quick connect cables from the fan

4. Cut the current
5. Restore the current
























