LAU Ceiling Fan
Instruction Manual
LAU
LAU Ceiling Fan
THANKS FOR TRUSTING IN ARTECON FORT
Congratulations, you have just purchased an Arteconfort ceiling fan: cutting edge technology combined with the highest energy efficiency.
WARNING
Read this instruction manual carefully before beginning installation and save it for future reference. In case of transfer of the device, you must also give this instruction manual to the corresponding person.
While using electrical appliances, basic safety precautions should always be followed to reduce the risk of fire, electric shock and personal injury.
CAUTION
- The product must only be installed by an authorized electrician and in compliance with local, regional and state electricity regulations.
- Check if the electrical specifications of this device are compatible with your installation.
- Turn off the power before installing or repairing the fan.
- The fan must be properly grounded to avoid the risk of electric shock.
- Use and unauthorized technical modifications could suppose a risk of injury.
- The fon must be connected to a 230V 50Hz power supply.
- Do not connect the fan motor to a current dimmer. It could give unsatisfactory performance (engine humming) and cause engine damage.
- Be careful while working near the spinning blades.
- Never connect the fan to a power point but to the ceiling itself.
- The fan must be installed so that the blades are at least 2,3 meters above the ground.
- The fan must be hung from a structure capable of supporting a weight of at least 50 kg. The fixture must be able to support the weight of the fan in motion and should not wobble or loosen.
- Make sure that the blades do not come in contact with any object at the installation site. Always leave a minimum clearance of 50cm from the tip of the blades to the wall or ceiling.
Keep in mind that the larger this space, the better the fan’s air flow will be. - The fan must not be started in a room with a gas appliance running at the same time.
- This device can be used by children aged 8 years and above and of people with reduced physical, sensory or mental abilities or lack of experience and knowledge if they are supervised or instructed about the use of the device safely and understand the risks involved. As well as cleaning and maintenance of the device.
- Children should not play with the device.
- To reverse the direction of the blades, do it while moving.
- Do not insert any object into the fan blades while they are rotating. This can damage them and alter the balance of the fan and the device can fall down.
- After the fan is fully installed make sure all fasteners are securely fastened to prevent any wobbling or falling of the machine.
The instructions and safety regulations in this manual cannot prevent all conditions and situations that may occur. For obvious reasons, this manual cannot include factors such as caution and care. These factors must be assumed by who installs, maintains, uses and enjoys the product.
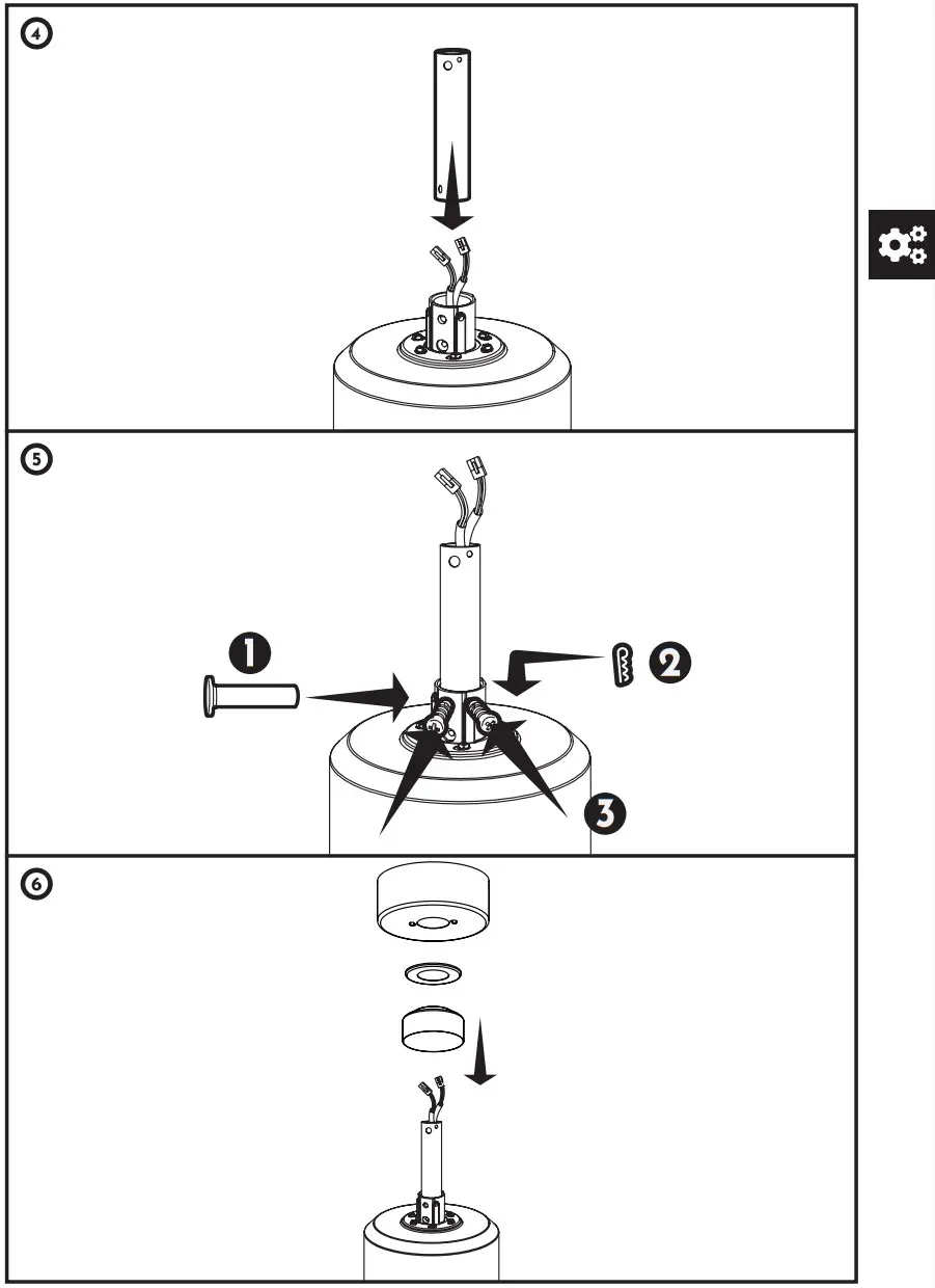
BEFORE INSTALLATION
Open the box avoiding the use of blades or “cutters” to avoid scratching the fan components.
Unpack the parts handling them carefully so that they do not bend or scratch, and place the motor on a cloth or a soft surface to prevent damage (you can also use the anti-shock foam on the box for this purpose). Never support the motor sideways.
It is advisable to mount the fan on the floor or a surface large enough so that no component falls.
Identify all parts before beginning assembly.
TOOLS NEEDED
* Not included. It is recommended that the screwdriver be magnetized.

MAINTENANCE
- Over time and due to the natural movement of the fan, some connections may come loose. Check the support connections, brackets and attach the blades twice a year, and make sure they are firm.
- Clean the appliance regularly to maintain its appearance as new. To do this, use a soft, lint-free cloth to avoid scratching the finish. Never use water, because it could damage the motor or the wood of the blades.
- It is not necessary to grease the fan, since the motor bearings permanently contain lubricant.
WARRANTY
You can check the warranty for this product on its corresponding page at the end of this manual.
ENVIRONMENT
Do not throw electrical appliances into the household waste, use selective collection facilities. Consult local authorities for more information.
If electrical appliances are deposited in landfills, hazardous components can seep into groundwater and enter the food chain, damaging health and well-being.
Thanks for taking care of the environment.
This product contains a light source of energy efficiency class F – (EU) 2019/2015
PROBLEM SOLVING
Before carrying out the checks detailed below, the fan must be without power supply.
- The fan does not start
• Replace the remote control batteries if they are exhausted or not suitable.
• Check that there are no nearby devices that may be causing interference with the remote or reducing signal reception.
• Resynchronize the remote control.
• Check that the electrical connections are correct (must be carried out by a licensed electrician).
• Check fuses and switches, that the installation has voltage and it reaches the fan. - The fan doesn’t start but the light does.
• With the fan off, check with your hand that the blades turn freely. - The fan makes excessive noise while rotating
• Allow a slight separation between the canopy and the ceiling, preventing them from touching directly.
• Check that the fixing screws of the blades, the fixing screws to the roof, the stem and the fastening elements are correctly tightened.
• If you replaced the original remote control or receiver, reinstall the supplied ones along with the fan. - The fan wobbles
• Check that the fixing screws of the blades, the fixing screws to the roof, the stem and the fastening elements are correctly tightened.
• Check that the blades are not deformed and follow the blade balancing instructions detailed in this manual. - The fan does not give air or the air flow is insufficient
• Check that the blades are not mounted backwards.
• Check that the blades rotate in the correct direction (Summer / Winter).
• Avoid nearby objects that may impede air circulation.
• Verify that the diameter of the blades of your fan is sufficient for the area of the room in which it is installed. - The light does not turn on
• Check the bulb is not blown, otherwise replaces it with a new one.
• If your fon has LED light included, check the connections are properly fixed according to the instruction manual.
COLOR TEMPERATURE MEMORY
The fon has color temperature memory of the light. This function allows you to maintain the same color temperature when the fan light is turned on again.
To change the color temperature of the light press. the button indicated with the color of each color temperature. When you turn the light off and turn it on again t will keep the selected temperature.

REMOTE CONTROL
WINTER/SUMMER MODE (F/R)
Reverse the direction of rotation of the blades to change to summer mode or winter mode.
LAMP ON/OFF (LIGHT ON/OFF)
Turns the light and synchronization on or off (see section “Control synchronization”).
FAN ON/OFF (FAN ON/OFF)
Turn the fan on or off.
SPEED REGULATOR
Increases or decreases the turning intensity of the blades.
LIGHT INTENSITY REGULATOR
Increase or decrease the intensity of the light.
LIGHT TEMPERATURE
Change the color temperature of the light.
PROGRAMMING
Sets the hours of fon operation (2 or 4 hours).
BREEZE MODE
Activate the breeze mode that alternates smoothly between soft and fast speeds (from speed 1 to 3) to create a greater sensation of comfort.
To activate the breeze mode, activate the fan using the “ON/OFF” button on the fan and then press the “Breeze mode” button.
For cancel breeze mode press the “Breeze mode” button again, the fan will return to the rotation speed selected before the breeze mode. You can also press the “ON/OFF” button of the fan to completely stop the rotation of the blades, when you turn it on again it will not remember the breeze mode, activating at the previously selected rotation speed.
*The remote control is synchronized from the factory, you only need to re-synchronize it if the synchronization has been lost, if you purchased a new one or want to control several fans with a single remote.

BATTERIES
The remote control batteries are not included. The required battery model is 2x AAA.
* Remove the batteries from the controller if it is not going to be used for a long time.
REMOTE CONTROL SYNCHRONIZATION
The remote is factory synchronized, you only need to resynchronize the remote if you have lost synchronization, purchased a new one, want to control several fans with a single remote, or the fan does not respond to the remote control orders while it is running.
A REMOTE CONTROL TO A NEW FAN
- Cut the current
Be sure to cut off the current until the fan stop and wait 30″.
- Restore the current
Past 30″ re-establish the current.
- Synchronize the remote control
Within 10 seconds, press the synchronization button c during 3 seconds until you hear the signal. Control range: 8-10m.
A REMOTE CONTROL TO VARIOUS FANS
- Cut the current
Be sure to cut off the current until all fans stop and wait 30″.
- Restore the current
Past 30″ re-establish the current.
- Synchronize the remote control
Within 10 seconds, press the synchronization button “ON/OFF light” on each fan during 3 seconds until you hear the signal. If they are within a radius of less than 10m (control range: 8-10m), all will synchronize at the same time.
A REMOTE CONTROL TO A FAN
(Example for two fans, applicable to a larger number of fans)
- Cut the fan A current*
Be sure to cut the fan A current (the one we want to remove the synchronization) and wait 30″.
- Cut the fan B current*
Be sure to cut off fan B (the one we want to synchronize) and wait 30″.
- Restore fan B current
When you restore the fan B and within 10 seconds, press the synchronization button “ON/ OFF light” during 3 seconds until you hear the signal to synchronize remote control B with fan B.
- Cut the fan B current*
Be sure to cut the fan B current and wait 30″.
- Restore the fan A current
When you restore the fan A and within 10 seconds, press the synchronization button “ON/ OFF light” during 3 seconds until you hear the signal to synchronize remote control A with fan A.
- Repeat the steps
Repeat steps with each fan you have and want to individualize its remote control.
*To cut the current you can press the individual fan switch. If there is not, disconnect the quick connect cables from the fan.
LAU
SYNCHRONISATION OF TOW REMOTE CONTROLS TO ONE FAN

TWO REMOTE CONTROLS TO ONE FAN
- Cut the current
Be sure to cut off the current until the fan stop and wait 30″.
- Restore the current
Past 30* re-establish the current.
- Synchronize the remote control A
Within 10 seconds, press the synchronization button c during 3 seconds until you hear the signal. Control range: 8-10m.
- Cut the current
Be sure to cut off the current until the fan stop and wait 30″.
- Restore the current
Past 30″ re-establish the current.
- Synchronize the remote control B
Within 10 seconds, press the synchronization button c during 3 seconds until you hear the signal. Control range: 8-10m.
* It is not possible to synchronise more than two controllers to one fan.
GENERAL GUIDE: PARTS OF A FAN
![]()

SCREW GUIDE

SCREWS FOR THE ROOF
![]() | Screws for the roof |
| Ceiling screw plugs | |
| Washer for ceiling screw |
SCREWS FOR BLADES
![]() | Screw for wood blades |
| Screw for blades with washer | |
| Screw for blades | |
| Paper washer for blade screw |
![]() | ![]() |
![]() | ![]() |
![]() | ![]() |
![]() | |
SPARE PARTS
You can request spare parts by going to the store where you purchased it or to any another of the brand. If the product is under warranty, present the purchase receipt or invoice.
| DESCRIPTION | REFERENCE | |
![]() | Light cover | PLALAU |
![]() | LED module | LEDLAU |
![]() | Remote control | MANLAUONLY |
![]() | Driver | CONLAUONLY |
LAU
CONTROL BY APP
1. DOWNLOAD APP
You will need to download the “FanLamp Pro” app to your mobile device (smartpho-ne) from the mobile application distribution platform corresponding to the opera-ting system of your mobile device.
|
2. SYNCHRONISATION OF FANLAMP PRO APP
- Open application after installation Open the application once it has been installed on the smartphone.
- Activate Bluetooth Activate Bluetooth from the APP or from your mobile phone’s settings.
- Add device On the main screen of the application, press the button with the “+” symbol to add a new device.
- Name the device Enter the desired name of the new device to be added.
- Synchronise device Once the device has been created, access its features and link it using the “Synchronise button”.
To synchronise the device, turn the fan power off and back on again. Press this button within 5 seconds after the device is connected to the power. If the device flashes or beeps, the mobile has been successfully paired.
![]()
3. SYNCHRONISING MULTIPLE MOBILE PHONES
If you want to synchronise two or more smartphones to one ventilator, follow the steps below:
SMARTPHONE A
- Open application Open the application once it has been installed on the smartphone and synchronised the fan.
- Activate Bluetooth Activate Bluetooth from the APP or from your mobile phone settings.
- Synchronization Select “My OR code” from the drop-down menu to display the OR code to be sconned by smartphone B.
SMARTPHONE B
- 1.Open application Open the application once it has been installed on the smartphone.
- Activate Bluetooth Activate Bluetooth from the APP or from your mobile phone settings.
- Synchronization Select -Scan OR code” from the drop-down menu and scan the OR code on smartphone A.
Repeat these steps to synchronise more smartphones.

When copying the data, the previous fon profile will be deleted.
4. BUTTONS
- Cold light When clicked, the cold light will be switched on, with maximum brightness.
- Warm light When clicked, the warm light is switched on of maximum brightness.
- Neutral light Clicking switches on the neutral light at maximum brightness.
- Night mode light Neutral light at 10% of maximum brightness.
- Direct direction Summer mode, the blades rotate clockwise.
- Synchronization To ensure that the application controls the device correctly.
- Timer You can time the operation of the fan.
- Breeze mode Emits wind in a more natural way
- Reverse direction Winter mode, the blades rotate counterclockwise.
- ON/OFF light
- OFF fan and light
- ON/OFF fan
![]()
5. DESYNCHRONISATION
To de-synchronise the device, turn off and on again the power to the fan. Within 5 seconds, press the “Desynchronies button” on the main screen.

WARRANTY
The motor of this fan is guaranteed for 8 years and 3 years for the rest of the components. This warranty covers the exchange or repair of any failure or defect of the device, provided that it is due to a manufacturing fault or a defective component.
IMPORTANT
It is essential for the use of this guarantee to prove the purchase date of the product. Therefore, it will be necessary to present the purchase receipt as well as this instruction manual.
Keep the purchase receipt and the instruction manual.
The warranty of this product does not apply if the defects of the device have been caused by:
- Damage during transport not carried out by the manufacturer. (Example: dents, components or glass pieces damages …)
- Carrying out incorrect installations or assemblies.
- Poor preservation of the product.
- Damage caused by contact of the device with chemical or inappropriate substances. This fan is designed for indoor use only, so it should not be exposed to water and / or humidity either.
- The replacement or use of additional parts or accessories that are not original from the manufacturer.
- When using a control through a wall dimmer other than the remote control supplied with the fan.
Before calling for technical assistance, it is advisable to read the troubleshooting guide included in this manual.
If you have any questions, problems or missing components, consult your dealer. You can also contact us through the email [email protected] or through the contact form available on our website.
www.arteconfort.com
ARTECONFORT HOTEL S.L.
Ctra. Andalucia, 6
45224 Seseha Nuevo
Toledo, Espana![]()











*To cut the current you can press the individual fan switch. If there is not, disconnect the quick connect cables from the fan.




* It is not possible to synchronise more than two controllers to one fan.






























