
Grand Regency™ Wall Hanger
Installation Instructions
Specifications
| Finial | Length |
| Pineapple | 3 ¼” |
| Ball | 2 ½ ” |
| Urn | 2 5/8”’ |
| Rod Gauge | .031 |
| Rod Diameter | ¾” |

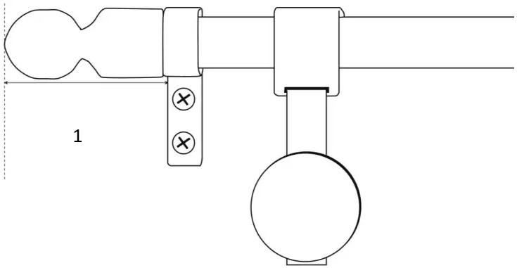
- Rod disappears into finial base approximately 3/4″.
Finial measurements vary by style. Please see chart to left
ALL PARTS ARE LACQUER COATED TO RESIST TARNISHING. DO NOT USE BRASS CLEANER OR OTHER ABRASIVES. TO CLEAN, SIMPLY WIPE WITH A SOFT DRY CLOTH.
PERIODICALLY CHECK AND TIGHTEN ALL SCREWS AND HARDWARE

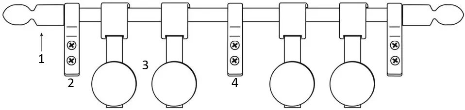
- Finial
- End Support Bracket
- Clips
- Center Support Bracket

1) Attach finial to rod by inserting rod into the finial base and tightening the small set screw. If using a sleeve, See step 6 and then continue with steps 3-5 in order.
2) Slide support bracket onto the rod and attach remaining finial to rod by tightening the small set screw previously attached to the finial.
3) Locate desired position of support brackets on the wall, making sure the rod is level. A support bracket should be positioned near both ends of the rod and the remaining support bracket(s) should be in the center or evenly spaced on the rod if there is more than one center support.
4) Mark the installation holes of support brackets. Install the support brackets using screws provided. You must use wall anchors (not included) suitable for your wall material, if screws are not screwed into a stud.
5) Attach clips to rug or tapestry and hang by placing over the rod. If clips are not being used and a sleeve is, mark where the brackets are and cut a small slit, vertically allowing the bracket to show through. Place rug or tapestry on rod and slide carefully through brackets.
2140 W. GREENVIEW DR. SUITE 5, MIDDLETON, WI 53562-0345 • 800-762-1525 • [email protected] • www.zoroufy.com














