Owner´s manual


JBL Wind
2 in 1 – On the road and on the go speaker
Product Overview
Thank you for purchase of WIND! To ensure a proper use of WIND please carefully read this manual before you start to use. Also, please safely keep this manual for future reference and trouble shooting.
Package Contents
- 1x WIND BT Speaker main unit
- 1x USB charging cable
- 1x Aux cable
- 1x Carabiner
- 1x Bracket
- 1x User’s manual
Compatibility
The product is compatible with BT enabled devices, including I Phone, I Pad, I Pod, Android Phone, tablets and etc. It is also compatible with devices which have 3.5mm earphone jack to connect to the product.
Features
- Wireless and To-Go Easy connection with your electronic devices wirelessly and use it portably. The wireless working range is around 8-10 meters (30 feet), no cords and no hassle.
- Hand free calling on-the-go With a built-in microphone, the unit takes on your calls just free and easy.
- 2-in-1 design for use in bicycle and backpack
- Carabiner and bicycle bar mounter with bracket are provided for two uses in carrying it over.
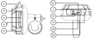
Product Interface

- (1) Handle for hanging a carabiner
- (2) Play / pause (BT, aux and micro SD / TF), FM Scan and Mute (Radio)
- (3) Volume + (Long press) – All functions Next (Short press) – BT, micro SD / TF and radio functions
- (4) Volume – (Long press) – All functions Lap (Short press) – BT, micro SD / TF and radio functions
- (5) “ON / OFF” and “Source” button (BT, aux, micro SD / TF and radio)
- (6) Connection for USB charging
- (7) AUX input
- (8) Micro SD / TF Card
- (9) Microphone
- (10) LED battery charge indicator
- (11) BT connection LED indicator
Getting Started
Two easy steps get it up and running quickly.
Step 1: Charging before use
Connect your WIND BT Speaker to a USB power source using the enclosed USB charging cable.
Step 2: Operation
- BT connection
As soon as the portable WIND box is turned on, the BT indicator will blink and signal to confirm that the unit is currently in BT pairing mode. Access the BT settings on your phone, tablet or computer to locate the device called “JBL WIND” and press to select. A signal will be issued to confirm that the device has been satisfactorily paired in seconds. The next time you use the WIND device, the product will automatically connect to your devices once pairing has been performed. To disconnect the device, press the “Play / Pause” button for 5 seconds and it will start pairing a new available device. - FM Radio connection
As soon as WIND is turned on, press the source select button again, after the beep, it will start playing the FM radio.
Click the “+” and “-” buttons to advance and return the radios respectively. When you turn on your JBL WIND for the first time, after playing the radio, press the “Play / Pause” button up to start scanning the FM radios of your region as soon as your radio is ready for use.
OBs: This process needs to be performed only on first use. - Direct Connection
The WIND Portable Box can also connect to devices that have a handset output or a line-out using the AUX cable shipped with the device. - Micro SD / TF card
Play your music through a micro SD / TF card. Click the “source” button to switch between signal inputs.
Speaker Phone
After paired your mobile phone to WIND with BT , the speaker phone function
can be used.
- Make call : Call will automatically transfer to the speakerphone. If not, tap play/pause button;
- Answer call: Tap play/pause button to answer the incoming call;
- End call : Tap play/pause button during the call to end the call;
- Reject call : Hold play/pause button to reject the incoming call;
- Redial last number: Double tap play/pause button to redial last number when it is not in a call.
Charge
When the power is low, a beep will comes out from the speaker, please charge the speaker when you heard the beep.
- Connect the standard USB end of the supplied USB cable to a USB power source (like PC, USB power adapter…etc.)
- Connect the Micro USB jack to the USB charging port in the unit. The charging indicator will light up while charging
- It will take about 2 hours to fully charge the BT speaker
- The LED indicator will stay on while charging, and goes off after fully charged.
Note: if the unit is not to be used longer than 7 days, please charge the unit for 10 minutes before turn on the unit.
Connection
Laptop / notebook / PC As the BT© versions for these types of devices varies greatly, the connection methods will differ as well. If you cannot connect with the WIND BT Speaker using the previous method instructed you may need to install a new version of the BT© driver. Please reference the instructions of device for details.
Technical parameters
Note: All specifications are subject to change without notice.
- Product Name: Wind
- Power Supply: USB 5V, 1A
- Built-in Lithium Ion batteries: 3.7V 800mAh
- Output power: 3WRMS
- BT Profile Supported: A2DP, AVRCP
- Working range: up to 8-10m
- Working atmosphere: 0℃-40℃/20%-90%RH
Maintenance
Please follow the instructions below before clear the unit
- Power off the unit first before clear
- Use a soft, dry, lint-free cloth to wipe gently
- Do not use alcohol, benzene, thinners or other chemical detergents as these can cause the casing to be warped or discolored
Storage
- If the unit will not be used for an extended period of time, power off the unit and place the unit with accessories into the package
- Do not set the unit in a damp, high temperature or the sun point-blank place
Troubleshooting
Issue: Pairing is unsuccessfully after multiple attempts
Solution:
- Check if the BT indicator light is on. If the indicator light is off, please press the power button to turn the unit on. If the BT indicator light still doesn’t come on after pressing the power button, please charge the unit.
- Check for other BT devices around the surroundings that may interfere with searching and turn devices off.
- Power off and then power on the unit to restart the BT function of the unit or your BT device.
- Unplug any cables plugged into the AUX IN, restart all devices and then attempt pairing again. Issue: Interference or static during playback Solution:
- Avoid using the device between concrete or other building structures that may interfere with the signal. Please check if the battery level of the unit and the BT device and charge if necessary.
Issue: Radios are not tuning well.
Solution:
- Check that the radios have been scanned according to instructions on page 23.
Safety Instructions
This product is specially designed based on the full attention to safety; in order to make sure the accident-free operation, please abide the guidelines listed below:
- Always position the unit on a stable and level surface. Unstable surface can cause the unit to topple and fall, resulting in possible damage or injury;
- Do not drop, unpack, open, beat, curve, prink and burn the unit;
- Avoid using the unit nearby basins or sinks where it may come in contact with water;
- Do not place any ware with full water on the top of the unit, such as vase, glass, pot, and please avoid placing candle on the speaker surface as well;
- Protect the using of the unit from any overheating devices (such as radiator, heating installation, cooking stove or other heating devices);
- Regardless of what reasons cause the unit damage, please ask for the maintenance personnel to repair;
- If you want to do the cleaning, please turn off the unit and unplug the power cable from the outlet first;
- Set the volume properly to prevent injury to the unit and your health;

Correct Disposal of this product. This marking indicates that this product should not be disposed with other household wastes throughout the EU. To prevent possible harm to the environment or human health from uncontrolled waste disposal, recycle it responsibly to promote the sustainable reuse of material resources. To return your used device, please use the return and collection systems or contact the retailer where the product was purchased. They can take this product for environmental safe recycling.
WARNING:
The battery (battery or batteries or battery pack) shall not be exposed to excessive heat such as sunshine, fire or the like.
- No naked flame sources, such as lighted candles, should be placed on the apparatus.
- CAUTION: Danger of explosion if battery is incorrectly replaced. Replace only with the same or equivalent type.
FCC Statement
- This device complies with Part 15 of the FCC Rules. Operation is subject to the following two conditions:
(1) This device may not cause harmful interference.
(2) This device must accept any interference received, including interference that may cause undesired operation. - Changes or modifications not expressly approved by the party responsible for compliance could void the user’s authority to operate the equipment.
NOTE: This equipment has been tested and found to comply with the limits for a Class B digital device, pursuant to Part 15 of the FCC Rules. These limits are designed to provide reasonable protection against harmful interference in a residential installation. This equipment generates uses and can radiate radio frequency energy and, if not installed and used in accordance with the instructions, may cause harmful interference to radio communications.
However, there is no guarantee that interference will not occur in a particular installation. If this equipment does cause harmful interference to radio or television reception, which can be determined by turning the equipment off and on, the user is encouraged to try to correct the interference by one or more of the following measures:
- Reorient or relocate the receiving antenna.
- Increase the separation between the equipment and receiver.
- Connect the equipment into an outlet on a circuit different from that to which the receiver is connected.
- Consult the dealer or an experienced radio/TV technician for help
Warning: WIND is designed for a common and casual use on a bicycle as an entertaining electronic devise. We are not liable to your risk in using WIND while you ride on a bicycle for speed racing, BMX performance, downhill riding, jumping and etc. Please always use WIND on a bike in a manner of safe riding.

Importado e distribuido por
HARMAN DO BRASIL INDÚSTRIA BR 386 – Km 435 – no 3401 – CEP 92.480-000 Nova Santa Rita – RS – BRASIL Tel.: (51) 3479-4000 / FAX: (51) 3479-1150 CNPJ:88.315.379/0001-70 www.harmandobrasil.com.br
HARMAN International Industries, Inc.
Headuarters:
400 Atlantic St.
Stamford, CT 06901 – USA.
www.harman.com
© 2017 HARMAN International Industries, Incorporated. All rights reserved. Harman do Brasil Industria Eletrônica e Participações Ltda. is a trademark of Harman International Industries, registered in the United States and/or other countries. Features, specifications and appearance are subject to change without notice.
Warning: As brazilian law no. 11,291 the extended exposure to noise over 85dB may cause severe hearing system damage.
Printed in China
Read More About This Manual & Download PDF:
JBL Wind Manual – Optimized PDF
JBL Wind Manual – Original PDF



















