Operating Instructions
Pore Cleanser
Model No. EH2513
Before operating this unit, please read these instructions completely and save them for future use.
Before use
Safety instructions
Caution for charging
- Keep the charger away from water.
- Do not use with wet hands.
- Do not charge the appliance if you have damaged it by dropping it.
- Charge the appliance at temperatures between 0 °C and 40 °C.
- Do not charge when exposed to direct sunlight or heat.
- Use only the included charger.
- Disconnect the charger by grasping the plug of the charger, when not in use or before cleaning.
- Do not cut, damage or modify the cord. Do not pull, twist, or bend the cord with unnecessary force.
- Do not place heavy objects on the cord or allow the cord to get pinched in between objects. Do not wind the cord around the appliance.
- The supply cord of this appliance cannot be replaced; if the cord is damaged, the charger should be replaced.
- Do not use an extension cord to connect the charger to a household outlet.
Caution for using
- Do not use the appliance near substances such as benzene, thinner, sprays, etc.
- Do not use the appliance with a damaged or broken cup.
- Take care to use the appliance only on your nose.
- Do not focus the appliance on any one spot on your skin.
- Do not use the appliance on pimples, blemishes, sunburned or broken skin, etc.
- Do not pass the appliance over the same point more than 3 times if you have sensitive skin.
- Use the appliance only for its intended use as described in this manual.
Caution for cleaning and storage
- Do not use benzine, thinner, or any other solvents to clean the appliance.
- Do not leave the appliance submerged in water for a long period of time.
- Rinse the appliance in tap water; do not use detergent or hot water.
- This appliance is not intended for use by persons (including children) with reduced physical, sensory or mental capabilities, or lack of experience and knowledge unless they have been given supervision or instruction concerning the use of the appliance by a person responsible for their safety.
Children should be supervised to ensure that they do not play with the appliance.
Do not disassemble or modify the appliance. Do not attempt repairs by yourself.
– Repairs must always be conducted through your dealer.
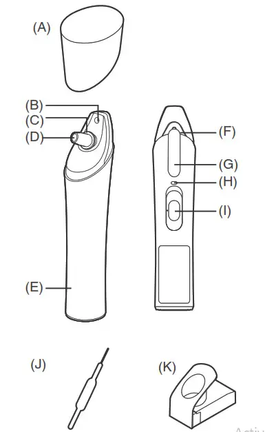
Parts identification

| (A) Cover (B) Mist Nozzle (C) Suction Cup (D) Suction Hole (Filter) (E) Charge Indicator Light (F) Water Tank | (G) Water Inlet Cap H) Water Outlet (I) Power Switch (1/0•charge) (J) Cleaning Tool (K) Charger |
Charging your pore cleanser
1. Connect the charger to a household outlet and place it on a flat surface.
2. Switch the appliance off and insert it into the charger as illustrated.
The charge indicator light glows until the appliance is removed from the charger.
- The charging time is 12 hours.
- A full charge will provide approximately 20 minutes of usage.
Using your pore cleanser
We recommend you use it when your pores are enlarged such as after taking a bath, etc.
Cleansing two or three times a week is recommended.
- Remove any make-up from your face, leaving your skin bare.
•Never use the appliance on skin coated with cleansing lotion or facial soap - Remove the cap and pour tap water into the water tank.
- Slide the power switch to “1”.
•The mist nozzle will produce a fine spray of water.
- Move the appliance slowly around the tip of your nose.
•Roughly cleanse the entire surface of your nose without focusing on any one spot.
•If you apply the nozzle directly onto your skin to improve adhesion, the mist will automatically stop. - Move the appliance over your nose in the direction of the arrows.
- Rinse your face, and keep your face sufficiently moisturized using moisturizing lotion or any other skin conditioner you normally use.

Around the tip and wings of the nose
- Move the appliance all over your nose for 1 minute.
- Move it over the wings of your nostrils for 2 minutes.
(Do not repeatedly move it over the wings of your nostrils where the skin is sensitive.)
When the mist is not released
- Turn the power switch off and remove the cap, then insert the pointed end of the cleaning tool or a cotton swab into the mist nozzle a few times.
- Pour tap water into the water tank.
- Turn the power switch on and block the mist nozzle for approximately 10 seconds (while checking to see if the water in the tank is bubbling).
- Drain the water out of the water tank.

- If the mist is still not released after repeating the steps above, take the appliance to your dealer.
- Water droplets may sometimes be found on the appliance. This is normal. This is the water that has remained after inspection and is sanitary.
Cleaning your pore cleanser
The appliance can be washed using just water.
- Pour water (warm if you like) into a washbowl.
•Do not use hot water or detergent. - Remove the suction cup, soak the suction hole (filter) in the water, and turn the power switch on to wash for approximately 15 seconds.

- Remove the appliance from the water. Then, leaving the appliance switched on for approximately 30 seconds to allow water to drain from the body, shake the water off.
- Empty the water tank and allow it to dry by leaving the cap off.
- Wipe the body of the appliance and the suction cup with tissues or cotton swabs, taking particular care to thoroughly wipe the insides of the suction cup.

Regular maintenance
Suction hole (filter)
Turn the power switch off, soak the suction hole (filter) in the water (warm if you like), and then remove any accumulated dirt using the cleaning brush provided.
Do not use the needle side of the brush for cleaning.
Do not use hot water (70 °C or higher) or detergent.
Mist nozzle
Turn the power switch off and remove any dirt using the supplied cleaning tool.

Charger
Clean the charger using a cloth.
- Do not use detergent to avoid the risk of discoloration, deterioration, or cracking.
Removing the built‑in rechargeable battery
The procedure below shows how to remove the battery so that they can be disposed of.
- Unplug the charger from the pore cleanser before disassembling it.
Perform steps 1 to 6 to disassemble the pore cleanser.

For environmental protection and recycling of materials
This pore cleanser contains a Nickel-Metal Hydride (Ni-MH) battery.
Please make sure that the battery is disposed of at an officially assigned location if there is one in your country.
Specifications
| Charger | Power supply |
| RE6-23 | AC 100 – 240 V 50 – 60 Hz |
| RE6-22 | AC 100 – 240 V 50 – 60 Hz |
| RE6-25 | AC 110 – 120 V 50 – 60 Hz |
Charging time: 12 hours
Weight: 150 g (Main body) 150 g (Charger)
Power consumption: Approx. 2 W
Suction: Approx. 50 kPa
Panasonic Corporation
http://panasonic.net
Printed in Thailand
EH921025136851 Z0712-0
Using your pore cleanser























