AQUATEC Sorrento Bathtub Swivel Seat User Manual
Introduction
This user manual contains important information about the handling of the product. To ensure safety when using the product, read the user manual carefully and follow the safety instructions.
Invacare reserves the right to alter product specifications without further notice.
Before reading this document, make sure you have the latest version. You find the latest version as a PDF on the Invacare website.
If you find that the font size in the printed document is difficult to read, you can download the PDF version from the website. The PDF can then be scaled on screen to a font size that is more comfortable for you.
In case of a serious incident with the product, you should inform the manufacturer and the competent authority in your country.
Warranty Information
We provide a manufacturer’s warranty for the product in accordance with our General Terms and Conditions of Business in the respective countries.
Warranty claims can only be made through the provider from whom the product was obtained.
Compliance
Quality is fundamental to the company’s operation, working within the disciplines of ISO 13485.
This product features the CE mark, in compliance with the Medical Device Regulation 2017/745 Class I.
We are continuously working towards ensuring that the company’s impact on the environment, locally and globally, is reduced to a minimum.
We only use REACH compliant materials and components.
Product-specific Standards
The product has been tested and conforms to EN 12182 (Assistive products for persons with disability) and related standards. For further information about local standards and regulations, contact your local Invacare representative. See addresses at the end of this document.
Service Life
The expected service life of this product is three years when used daily and in accordance with the safety instructions, maintenance intervals and correct use, stated in this manual. The effective service life can vary according to frequency and intensity of use.
Limitation of Liability
Invacare accepts no liability for damage arising from:
- Non-compliance with the user manual
- Incorrect use
- Natural wear and tear
- Incorrect assembly or set-up by the purchaser or a third party
- Technical modifications
- Unauthorised modifications and/or use of unsuitable spare parts
Safety
Safety Information
WARNING!
Risk of Serious Injury or Damage
Improper use of this product may cause injury or damage
- If you are unable to understand the warnings, cautions or instructions, contact a health care professional or provider before attempting to use this equipment.
- Do not use this product or any available optional equipment without first completely reading and understanding these instructions and any additional instructional material such as user manual, service manual or instruction sheet supplied with this product or optional equipment.
WARNING!
Risk of Falling
- Do not use if defective.
- Do not make any unauthorized alterations or modifications to the product.
- Do not displace or move under load.
- Do not grip at the removable parts to relocate the seat.
- Do not stand on this product.
WARNING!
- Before first use, clean the product thoroughly.
- Before every use, check the product for damage and ensure that it is securely assembled.
CAUTION!
Risk of Injury
Non-original or wrong parts may affect the function and safety of the product.
- Only use original parts for the product in use.
- Due to regional differences, refer to your local Invacare catalog or website for available options or contact your Invacare distributor. See addresses at the end of this document.
Labels and Symbols on the Product (Fig. 2)

| A | Manufacturer | F | Lot number |
| B | European Conformity | G | Unique Device Identifier |
| C | Read user manual | H | Medical Device |
| Ⓓ | Maximum user weight | I | Reference number |
| E | Production date | J | Product designation |
The identification label is attached to the underside of the seat plate.
7 Scope of Delivery (Fig. 1)

- Seat plate with legs
- Armrest (2x)
- Backrest
- Backrest holder (2x)
- User manual
Intended Use
Aquatec Sorrento bath tub swivel seat is intended to be used as a shower aid. The seat can be rotated and it is supported by four feet to be placed on the bathtub rim.
Intended Users
Intended users are any adults and adolescents with restricted or limited mobility. If used without an assistant, the users must have sufficient torso stability to keep their own balance.
Indications
- Restricted or limited mobility (e.g. legs and/or hips) or
- having balance issues to stand up or walk due to transitional or permanent disabilities.
There are no contraindications known when using the product as intended. For the maximum user weight of the product, see 13 Technical Data (Fig. 10), page 5 .
Assembly and Setup (Fig. 3 – 9)
CAUTION!
Risk of Entrapment
- Take care during assembly.
Mounting Options (Fig. 3)
Max. width: A = 650 mm; min.
width: B = 550 mm.
Adjustable on both sides in five 10 mm steps.
Fitting the Armrests (Fig. 4)

- Drop armrests A into seat plate B on both sides, see Fig 4.
WARNING!
Risk of Injury
- Ensure that both catches C in each armrest audibly engage on the underside of the seat plate, see Fig 4.
CAUTION!
Risk of Entrapment
- Do not put your fingers in open holes at the armrest and below the seat.
Fitting the Backrest (Fig. 5 – 6)
- Push backrest frame A into the rear openings of seat plate B on both sides, see Fig 5.
WARNING!
Risk of Injury- Ensure that both catches C of the backrest frame audibly engage on the underside of the seat plate, see Fig 5

- Ensure that both catches C of the backrest frame audibly engage on the underside of the seat plate, see Fig 5
- Pull down backrest cover A over both sides of the backrest frame, see Fig 6.
WARNING
Risk of Injury- Ensure that the ends of the backrest frame are properly located in the recesses D on the right and left of the backrest cover, see Fig 6.

- Ensure that the ends of the backrest frame are properly located in the recesses D on the right and left of the backrest cover, see Fig 6.
- Close the backrest bands by pushing latches C into buckles B, see Fig 6.
WARNING
Risk of Injury- Make sure that all buckles are securely closed.Tighten the backrest bands, see Fig. 9.

- Make sure that all buckles are securely closed.Tighten the backrest bands, see Fig. 9.
Tighten or slacken the bands to adjust the firmness of the backrest cover.
Placing the Swivel Seat on the Bathtub (Fig. 7 – 8)
- Remove the safety clips A on both sides, see Fig 7.

- Slide the feet B inwards.
- Place the swivel seat with the feet facing towards the bottom of the bathtub.
- Slide all feet B equally to the inner edge of the bathtub until their maximum extend.
WARNING
Risk of injury
Risk of injury
If the feet of the swivel seat are not securely fitted against the inner wall of the bathtub, the swivel seat can slide which can cause the swivel seat and the user to fall in the bathtub.- prevent the swivel seat from sliding, make sure that the swivel seat feet are positioned to securely fit against the inner wall of the bathtub (Fig. 7).
- Secure all four feet by installing the safety clips C on both sides.
- The swivelling mechanism is released by pulling up the lever. The seat can now be swivelled by 360°. (Fig. 8)

- Remove the safety clips A on both sides, see Fig 7.
Maintenance
General Maintenance Information
This product is maintenance-free, provided that the cleaning and disinfection instructions are adhered to.
Cleaning and Disinfection
General Safety Information
CAUTION!
Risk of Contamination
- Take precautions for yourself and use appropriate protective equipment.
NOTICE!
NOTICE!
Wrong fluids or methods can harm or damage the product.
- All cleaning agents and disinfectants used must be effective, compatible with one another and must protect the materials they are used to clean.
- Never use corrosive fluids (alkalines, acid etc.) or abrasive cleaning agents. We recommend an ordinary household cleaning agent such as dishwashing liquid, if not specified otherwise in the cleaning instructions.
- Never use a solvent (cellulose thinner, acetone etc.) that changes the structure of the plastic or dissolves the attached labels.
- Always make sure that the product is completely dried before taking it into use again.
For cleaning and disinfection in clinical or long-term care environments, follow your in-house procedures.
Cleaning Intervals
NOTICE!
Regular cleaning and disinfection enhances smooth operation, increases the service life and prevents contamination. Clean and disinfect the product:
- egularly while in use,
before and after any service procedure, - when it has been in contact with any body fluids,
- before using it for a new user.
Cleaning Instruction
- Use water and a mild, non-abrasive cleaner to clean the product.
- Dry with a cloth.
Cleaning in a Clinical Environment
In addition to cleaning as described above we recommend cleaning the product prior to the use by another patient, after ending of the period of use or on a regular basis (depending on which occurs first) at
- 90 °C for 1 minute
- 85 °C for 3 minutes
- 80 °C for 10 minutes
CAUTION!
Risk of Burning Skin
- Allow the product to cool after cleaning.
Cleaning the Backrest Cover
- Remove the backrest cover.
- Machine-wash the cover at max. 60 °C using a mild detergent.
NOTICE!
Risk of Damage
- Washing at higher temperatures can cause damage.
- Do not tumble dry.
NOTICE!
Excessive cleaning can damage the textile.
Disinfection Instructions
Method: Follow the application notes for the used disinfectant and wipe-disinfect all accessible surfaces. Disinfectant: Ordinary household disinfectant. Drying: Allow the product to air-dry.
Disposal
Be environmentally responsible and recycle this product through your recycling facility at its end of life.
Disassemble the product and its components, so the different materials can be separated and recycled individually.
The disposal and recycling of used products and packaging must comply with the laws and regulations for waste handling in each country. Contact your local waste management company for information.
Reconditioning
This product is suitable for reuse. To recondition the product for a new user, carry out the following actions:
- Inspection
- Cleaning and disinfection
For detailed information, see 10 Maintenance, page 4 .
Make sure that the user manual is handed over with the product.
If any damage or malfunction is detected, do not reuse the product.
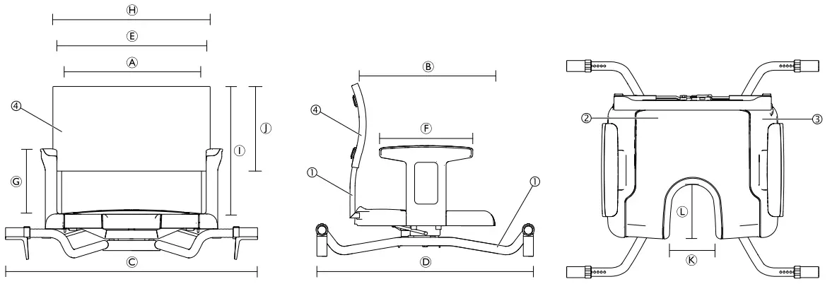
Technical Data (Fig. 10)

| A | 400 mm | G | 195 mm |
| B | 400 mm | H | 470 mm |
| C | 710 – 760 mm | I | 380 mm |
| Ⓓ | 650 mm | J | 250 mm |
| E | 450 mm | K | 140 mm |
| F | 280 mm | L | 170 mm |
| Weight | 6 kg |
| Max. user weight 1 | 130 kg |
| Materials | |||
| 1 | AL | 3 | PP |
| 2 | TPE | 4 | Nylon / PVC coated |
All product components are corrosion resistant and do not contain natural rubber latex.
Environmental Parameters
| Operating Conditions | |
| Ambient temperature | 10 – 40 °C |
| Relative humidity | 15% – 93%, non-condensing |
| Storage and Shipping Conditions | |
| Ambient temperature | 0 – 40 °C |
| Relative humidity | 30% – 75%, non-condensing |
Costumer Support
Deutschland
Invacare GmbH
Am Achener Hof 8
D-88316 Isny
Tel: (49) (0)7562 700 0
[email protected]
www.invacare.de
España:
Invacare S.A.
Avenida del Oeste, 50 – 1º-1a
Valencia-46001
Tel: (34) 972 493 214
[email protected]
www.invacare.es
France
Invacare Poirier SAS
Route de St Roch
F-37230 Fondettes
Tel: (33) (0)2 47 62 64 66
[email protected]
www.invacare.fr
Italia:
Invacare Mecc San s.r.l.,
Via dei Pini 62,
I-36016 Thiene (VI)
Tel: (39) 0445 38 00 59
[email protected]
www.invacare.it
Österreich:
Invacare Austria GmbH
Herzog-Odilo-Straße 101
A-5310 Mondsee
Tel: (43) 6232 5535 0
Fax: (43) 6232 5535 4
[email protected]
www.invacare.at
Portugal:
Invacare Lda
Rua Estrada Velha, 949
P-4465-784 Leça do Balio
Tel: (351) (0)225 193 360
[email protected]
www.invacare.pt
Suomi:
Camp Mobility
Patamäenkatu 5, 33900 Tampere
Puhelin 09-35076310
[email protected]
www.campmobility.f
Sverige:
Invacare AB
Fagerstagatan 9
S-163 53 Spånga
Tel: (46) (0)8 761 70 90
Fax: (46) (0)8 761 81 08
[email protected]
www.invacare.se
Schweiz / Suisse / Svizzera:
Invacare AG
Benkenstrasse 260
CH-4108 Witterswil
Tel: (41) (0)61 487 70 80
Fax: (41) (0)61 488 19 10
[email protected]
www.invacare.ch

Invacare GmbH
Am Achener Hof 8
D-88316 Isny
Germany
![]()
























