CONAIR TS240AP All-In-One International Adapter with 2 Outlets & 2 USB Ports User Guide
IMPORTANT SAFETY INSTRUCTIONS
When using your travel adapter plug, basic precautions should always be taken, including the following:
- READ ALL INSTRUCTIONS BEFORE USING.
- DO NOT use this adapter plug with products containing screw-base lampholders (sockets) or convenience receptacles.
- THIS PRODUCT IS NOT A VOLTAGE CONVERTER. Check the rating on each appliance and use this adapter plug only with appliances rated for both 120 and 240 volts. Use with appliances rated only 120 volts may result in a risk of fire, electric shock, injury to persons, or damage to the appliance. For use in countries overseas, the voltage selector on your dual-voltage appliance may need to be placed in the 240- volt position. Confirm the voltage available at each overseas location before using this adapter plug with an appliance.
- Be sure the dual-voltage selector switch, when provided with your appliance, is in the correct voltage position before operating. Before plugging in, read the information about dual-voltage operation contained in these instructions and in the instructions provided with each appliance to be used with this adapter plug.
- Always attach the adapter plug to the plug of the appliance first, then insert the adapter plug into the outlet.
- Always disconnect the adapter plug and the appliance from the electrical outlet when not in use.
ELECTRICAL RATING:
AC portion: 8A MAX. 100-240VAC
USB portion: 5V DC, total 3.4A (2.4A + 1A)
SAVE THESE INSTRUCTIONS
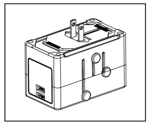
TO SELECT PROPER PLUG:
Europe – Slide safety door to top position. Push first set of side buttons forward.
UK/HK – Slide safety door to bottom position. Push third set of side buttons forward. Then push down the middle prong.
North America/South America/Japan – Slide safety door to middle position. Push second set of side buttons forward.
Australia/New Zealand – Slide safety door to middle position. Push second set of side buttons forward. Swivel each prong to the proper angle (as shown).
Note: When using a 2- or 3-prong Australia/ New Zealand appliance, you may need to apply some force to the plug to insert it all the way. When the unit is plugged in and the indicator light is on, both the AC & USB portions are functioning properly. But if the indicator light is off, the AC portion can still be used, but the USB portion charger function is defective and can’t be used.
USB ports – Be sure your product uses USB for charging or damage may occur (some cameras that include a USB cable are data transfer only, not for charging).
CAUTION This product does not convert electrical voltage. You will need a converter or transformer for your single-voltage appliances.
Important – Indoor use only
FEDERAL COMMUNICATIONS COMMISSION NOTICE
WARNING – Changes or modifications to this unit not expressly approved by the party responsible for compliance could void user’s authority to operate the equipment.
Note: This equipment has been tested and found to comply with the limits for a Class B digital device, pursuant to Part 15 of the FCC Rules. These limits are designed to provide reasonable protection against harmful interference in a residential installation. This equipment generates, uses and can radiate radio frequency energy and, if not installed and used in accordance with the instructions, may cause harmful interference to radio communications. However, there is no guarantee that interference will not occur in a particular installation. If this equipment does cause harmful interference to radio or television reception, which can be determined by turning the equipment off and on, the user is encouraged to try to correct the interference by one or more of the following measures:
- Reorient or relocate the receiving antenna.
- Increase the separation between the equipment and receiver.
- Connect the equipment into an outlet on a circuit different from that to which the receiver is connected.
- Consult the dealer or an experienced radio/TV technician for help

Europe, Middle East, parts of Africa, South America, Asia, and the Caribbean

Great Britain, Ireland, Africa, Hong Kong, and Singapore

North and South America, Caribbean, and Japan

Australia, Fiji, New Zealand, and China

LIMITED ONE-YEAR WARRANTY
Conair will repair or replace (at our option) your unit free of charge for 12 months from the date of purchase if it is defective in workmanship or materials. To obtain service under this warranty, return the defective product to the service center listed on back that is nearest you, together with your purchase receipt and $5.00 for postage and handling. California residents need only provide proof of purchase and should call 1-800-326-6247 for shipping instructions. In the absence of a purchase receipt, the warranty period shall be 12 months from the date of manufacture.
ANY IMPLIED WARRANTIES, OBLIGATIONS, OR LIABILITIES, INCLUDING BUT NOT LIMITED TO THE IMPLIED WARRANTY OF MERCHANTABILITY AND FITNESS FOR A PARTICULAR PURPOSE, SHALL BE LIMITED IN DURATION TO THE 12-MONTH DURATION OF THIS WRITTEN, LIMITED WARRANTY. Some states do not allow limitations on how long an implied warranty lasts, so the above limitations may not apply to you.
IN NO EVENT SHALL CONAIR BE LIABLE FOR ANY SPECIAL, INCIDENTAL, OR CONSEQUENTIAL DAMAGES FOR BREACH OF THIS OR ANY OTHER WARRANTY, EXPRESS OR IMPLIED, WHATSOEVER. Some states do not allow the exclusion or limitation of special, incidental, or consequential damages, so the above limitation may not apply to you.
This warranty gives you specific legal rights, and you may also have other rights, which vary from state to state.
Customer Support
Service Center
Service Department
East Windsor, NJ 08520
Glendale, AZ 85307
www.travelsmartbyconair.com
Customer Service: 1-800-3-CONAIR
Travel Smart® is a registered trademark of
Conair Corporation
Travel Smart, a division of Conair Corporation
©2016 Conair Corporation
East Windsor, NJ 08520
Glendale, AZ 85307

















