Electric 4 to 8 Frame Stainless Steel Honey Extractor
Instruction Manual
SKU: BEE-V004E
BEE-V004E Electric 4 to 8 Frame Stainless Steel Honey Extractor
Scan the QR code with your mobile device or follow the link for helpful videos and specifications related to this product.
https://vivo-us.com/products/bee-v004e
GET IN TOUCH | Monday-Friday from 7:00am-7:00pm CST
| [email protected] | www.vivo-us.com Chat live with an agent! | 309-278-5303 |
WARNING: IMPORTANT SAFETY INFORMATION READ AND FOLLOW ALL SAFETY REQUIREMENTS KEEP THIS MANUAL IN A SAFE AND DRY PLACE FOR FUTURE REFERENCE
If you do not understand these directions, or if you have any doubts about the safety of the installation, please call a qualified technician. Check carefully to make sure there are no missing or defective parts. Improper installation may cause damage or serious injury. Do not use this product for any purpose that is not explicitly specified in this manual and do not exceed weight capacity. We cannot be liable for damage or injury caused by improper mounting, incorrect assembly or inappropriate use.
PREPARATION
- After carefully removing the machine from the packing carton, remove all protective film and clean the honey extractor thoroughly with mild soap and water BEFORE first use.
- The honey extractor should be placed on a dry, flat stable surface.
CAUTION: SHARP EDGES
PACKAGE CONTENTS
TOOLS NEEDED

ASSEMBLY STEPS
STEP 1
Remove cap nuts and washers from the lower leg supports on Drum (A).
STEP 2
Mount Legs (B) to Drum (A) using the previously removed hardware in the lower holes, and M8 Plastic Knobs (S-A) with M8 Washers (S-B) in the upper holes.
STEP 3
Install Honey Gate (D) in Drum (A).
STEP 4
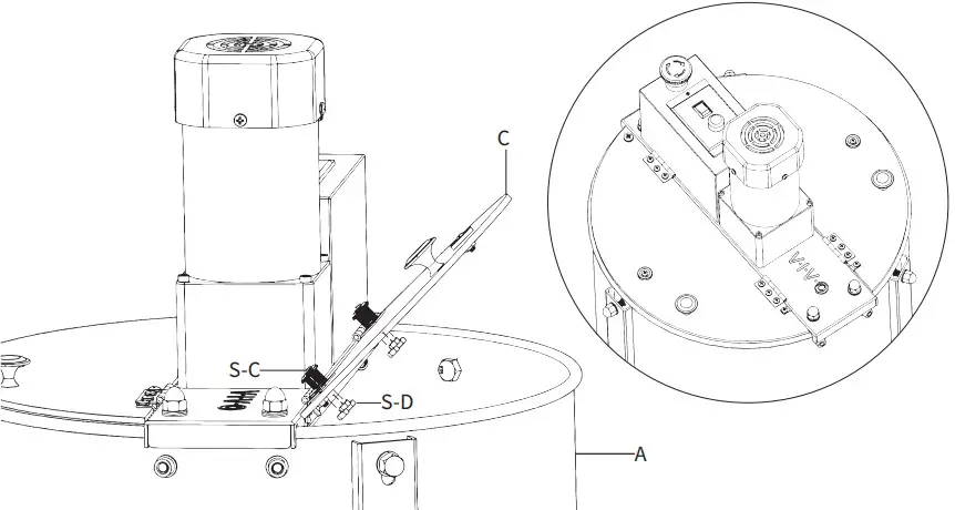
Line up holes in Lids (C) with the hinges in the crossbar of Drum (A) and secure using M4x12 Screws (S-C) and M4 Nuts (S-D).
NOTE: Lids (C) must be installed properly and in the down position to engage the safety switches and allow the motor to turn on. Each Lid (C) has a built in safety latch that will cut power the moment it is opened.
STEP 5
Plug Power Cable (E) into the motor on Drum (A).
STEP 6 (Optional)
For added security, Concrete Anchors (S-E) can be use to secure the extractor to the floor.
OPERATING INSTRUCTIONS
STEP 1: With the control dial set to “0” and power switch set to off (O), plug the power cord into a standard AC wall outlet.
STEP 2: Place honey frames in extractor basket. Load three sides to keep extractor balanced as this will reduce any possible shaking.
STEP 3: Close both lids to engage safety switches. Flip the power switch to the on (I) position, making sure the emergency stop button
is not engaged. and turn the dial until the basket is spinning at the desired speed. The front lid has a built in safety switch that will cut power the moment it is opened, and power will not be restored until lid is closed. Turn the dial back to “0” when frames have been emptied and remove the frames from the extractor.
STEP 4: Once the frames have been emptied on one side, remove the frames, turn the frames around, and place them back in the xtractor. Repeat step 2, then remove the frames from the extractor.
STEP 5: With the drain positioned over a bucket or other container, open the honey gate to begin draining honey. Tip the extractor forward to drain as much honey as possible.
WARNING: KEEP HANDS CLEAR OF MOVING PARTS TO REDUCE RISK OF INJURY 
DISASSEMBLY
To disassemble the extractor, remove the four cap nuts on the top of the extractor (two on each side), then, using 3mm Allen Wrench (T-A), loosen the set screws in the coupler and pull the top brace up and off. The basket can then be lifted out.
CARE & MAINTENANCE
QUICK CLEANING
Option 1: Rinse extractor out with cold water from a hose. If available, a pressure washer is very effective. Empty excess water to prevent possible surface rust.
Option 2: Place open extractor next to hive. Bees will clean it out and use the materials.
IN-DEPTH CLEANING
Disassemble extractor (see Disassembly instructions). Using mild dish soap and warm water, scrub drum and basket clean. Completely rinse the parts and dry with a soft cloth. Reassemble the extractor when dry.
CARE
- When not in use, store the extractor in a dry place. Although stainless steel is highly resistant to rust and corrosion, light surface rust can form in wet conditions.
- If surface rust forms, clean with a light abrasive to remove rust.
- The gearhead is permanently sealed and requires no maintenance.
- Always set the dial to 0 when not in use to avoid sudden starts when next plugged in and make sure the emergency stop button is fully engaged.
WARRANTY
We offer a ONE YEAR warranty for this product. If you have any problems with the machine, please contact us directly. We have a 30 Day Return Policy.
Love your new VIVO setup and want to share?
Tag us in your photo! @vivo_us
Open Monday – Friday 7:00am – 7:00pm CST,
our dedicated support team can offer immediate assistance with rapid response times. If any parts are received damaged or defective, please contact us. We are happy to replace parts to ensure you have a fully functioning product.
| 309-278-5303 | AVG. RESOLUTION TIME (within office hrs): 5M 4S | |
| WWW.ViVO-US.COM Chat live with an agent! | AVG. RESOLUTION TIME (within office hrs): < 15 M | |
| [email protected] | AVG. RESPONSE TIME (within office hrs): 1HR 8M – 23% within < 15m – 38% within < 30m – 61% within < lhr – 83% within < 2hr – 92% within < 3hr |
FOR MORE VIVO PRODUCTS, CHECK OUT OUR WEBSITE AT: www.vivo-us.com
LAST UPDATED: 07/27/2022

















