Rayfoto RD-881 Native 1080P Projector User Manual

Important safeguards
- Please read the manual carefully before operating projector. To ensure stable power supply, please use standard power cord.
- Please use the power supply and cable indicated on the rating label.
The projector should be kept away from cloths, sofas and anything that may block the ventilation scoop. Please keep the unit away from flammable and explosive materials. - Please do not disassemble the unit by yourself as this will invalidate the warranty service. To protect your eyes, do not stare directly at the lens when the projector is on. The projector must be kept away from water and any other liquids.
- To prevent electric shock, please keep the projector out of the rain and away from moisture. It is recommended to switch off the projector after it has run for 6 hours non-stop. Please use the original foam and other cushioning materials when transporting the projector.
- If the projector does not work, please contact the authorized service agent.
Accouris list
Power Cable x1
AV Cable x1
HDMI Cable x1
Remote Control x1
User Manual x1
Portable Backpack x1
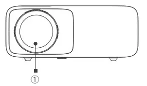
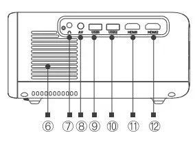
projector Overview
- Lens

- Headphone Jack

- Speaker
- AV Port
- IR for Remote Control

- USB1 Port (Wired Mirroring Interface)
- Power Socket
- USB2 Port
- Dust-Proof Net
- HDMl1 Port

- Air Outlet
- HDMl2 Port
projector Overview
- Focusing
- Keystone Correction
- Mow Keys
- OK Key
- Power Key
- Return Key
- Source key
- Height Adjustment Machine Feet
- Hanger Fixing Screw Holes (4 Points: Remove the machine foot pads before hoisting)
- Bottom Label (Tear off the bottom sticker, you can remove the bottom dust cover to clean up the dust)
Remote Control

- Power Key
- Source Key
- Arrow Keys
- Menu key
- Volume+
- Volume –
- Mute
- Screen Flip
- Confirm Key/(Pause/Play Key)
- Return Key
- Home Key
- Previous
- Next
Switching Marching Operation
Power On:
Step1: Press the power button on the body or the power button on the remote control,the indicator light will turn blue and steady.
Step2: After 2 seconds, the projector starts to start, the image appears on the screen, and the unit enters the normal working state.
Step3: If the projector is newly installed, the image may be blurred or trapezoidal distortion when it is turned on for the first time. Please refer to the “Focus/Keystone Correction” section for calibration.
Step4: After the image is adjusted clearly, it can be viewed normally. Power Off:
Step1: In the working state, press the power button of the body or the power button on the remote control to switch the projector to the standby state.
Step2: After the projector enters into the standby state, the machine is in the process of automatic heat dissipation, and the indicator light will change from blue to red.

Please connect the power cord to the projector before connecting the power cord to an electrical outlet.
Focus Keystone Correction

Image Focusing
Place the projector lens perpendicularly to the projection screen or curtain wall, and adjust the focus dial until the image is clear, that means the image focusing is finished.
During the focusing process, you can play the programs or pick up the product menu images to match the focusing adjustment.
Keystone Correction
Please turn the trapezoidal adjustment dial until the image is displayed normally.
Note: The projector has only mechanical trapezoidal correction in the vertical direction and there is no horizontal correction. Make sure the projector is level with the projected image.

Standard setting
Refer to the data in the table below to place the projector away from the projection screen according to the preset graphic size. When installing, place the projector on a
solid, stable countertop. The airframe should be well ventilated. Do not cover or blockthe vents. There should be no obstructions within 30cm of the vents.

Use of the projector
1. Source Settings
In the main interface, select the signal source connection you need.
2. Multimedia
Step1: Insert the U disk into the USB port of the projector.
Step2: Select Multimedia, and then press the OK key to enter.
Step3: Select the flle to be played.

Note: As the product system is updated from time to time, the specific operationcontent is based on the actual situation.
In the main interface, press the menu key of the remote control to enter the menu setting options.
After entering the interface, adjust the parameters as needed, and then press the “OK” key to verify.
Note: As the product system is updated from time to time, the specific operation content is based on the actual situation.
4. iOS Cast
Step1: Select iOS Cast on the main interface.
Step2: The iOS device and the projector must be connected to the same network, or the iOS device must be connected to the wireless access point(AP) from the projector.
Step3: Select Screen Mirroring on the control center of the iOS device.
Step4: Select the corresponding projector device name.
Note: The last 4 digits of the device name are randomly generated.

5. Mlracast
Step1: Select Miracast on the main interface.
Step2: Turn on the Wireless Display function of the Android device.
Note: Different Android devices have different names and opening methods for the Wireless Display function. For details, please refer to the manual of the Android device you are using.
Step3: Select the corresponding projector device name.
Note: The last 4 digits of the device name are randomly generated.

6. iOSCable
Step1: Select iOS Cable in the main interface.
Step2: Use the data cable to connect the iOS device and the projector (through the USB port of the projector).
Step3: Click Trust in the pop-up window of the iOS device.
Step4: Enter the iOS device password.
Note: If still cannot connect with projector afer clicking Trust, can try to use the original data cable to reconnect.

7. WiFi Setting
Step1: Select Setting in the main interface and press OK key to enter setting interface.
Step2: Select WiFi Setting.
Step3: Turn on the WiFi, find the WiFi you need to connect to, enter the password through the virtual keyboard, and confirm the connection.
8. System Setting
Select the system setting, you can check the language and software version; Version upgrade: local update and online update; Local update: Insert the U Disk and follow the prompts to 1ind the 1ile upgrade version.
Online update: Connect to WiFi, upgrade the version according to the prompts (recommended to update from time to time) Restore factory default: Choose carefully.
Bluetooth: Select the Bluetooth connection that needs to be paired.

9. Projector Setting
Select the projection setting and select the corresponding settings according to the installation method of the projector.

10. Bluetooth Settings
Select the system setting, select Bluetooth, turn on Bluetooth, search for Bluetooth, and select the Bluetooth connection that needs to be paired.

























