Dahua DH-IPC Bullet Wi-Fi Camera

Foreword
General
This manual introduces the functions, installation, and operations of the camera.
Safety Instructions
The following categorized signal words with defined meaning might appear in the manual.
| Signal Words | Meaning |
| WARNING | Indicates a medium or low potential hazard which, if not avoided, could result in slight or moderate injury. |
| CAUTION | Indicates a potential risk which, if not avoided, could result in property damage, data loss, lower performance, or unpredictable result. |
| NOTE | Provides additional information as the emphasis and supplement to the text. |
Revision History
| Version | Revision Content | Release Time |
| V1.0.0 | First release. | March 2020 |
About the Manual
- The Manual is for reference only. If there is inconsistency between the manual and the actual product, the actual product shall prevail.
- We are not liable for any loss caused by the operations that do not comply with the manual.
- The manual would be updated according to the latest laws and regulations of related regions. For detailed information, see the paper manual, QR code or our official website. If there is inconsistency between paper manual and the electronic version, the electronic version shall prevail.
- All the designs and software are subject to change without prior written notice. The product updates might cause some differences between the actual product and the manual. Please contact the customer service for the latest program and supplementary documentation.
- There still might be deviation in technical data, functions and operations description, or errors in print. If there is any doubt or dispute, please refer to our final explanation.
- Upgrade the reader software or try other mainstream reader software if the manual (in PDF format) cannot be opened.
- All trademarks, registered trademarks and the company names in the manual are the properties of their respective owners.
- Please visit our website, contact the supplier or customer service if there is any problem occurred when using the device.
- If there is any uncertainty or controversy, please refer to our final explanation.
Important Safeguards and Warnings
Electrical Safety
- All installation and operation shall conform to your local electrical safety codes.
- The power source shall conform to the Safety Extra Low Voltage (SELV) standard, and supply power with rated voltage which conforms to Limited power Source requirement according to IEC60950-1. Note that the power supply requirement is subject to the device label.
- Make sure that the power supply is correct before operating the device.
- A readily accessible disconnecting device shall be incorporated in the building installation wiring.
- Prevent the power cable from being trampled or pressed, especially the plug, power socket and the junction extruded from the device.
Environment
- Do not aim the device at strong light to focus, such as lamp light and sun light; otherwise it might cause over brightness or light marks, which are not the device malfunction, and affect the longevity of Complementary Metal-Oxide Semiconductor (CMOS).
- Do not place the device in a damp, dusty extremely hot or cold environment, or the locations with strong electromagnetic radiation or unstable lighting.
- Keep the device away from any liquid to avoid damage to the internal components.
- Keep the indoor device away from rain or damp to avoid fire or lightning.
- Keep sound ventilation to avoid heat accumulation.
- Transport, use and store the device within the range of allowed humidity and temperature.
- Heavy stress, violent vibration or water splash are not allowed during transportation, storage and installation.
- Pack the device with standard factory packaging or the equivalent material when transporting the device.
- Install the device in the location where only the professional staff with relevant knowledge of safety guards and warnings can access. The accidental injury might happen to the non-professionals who enter the installation area when the device is operating normally.
Operation and Daily Maintenance
- Do not touch the heat dissipation component of the device to avoid scald.
- Carefully follow the instructions in the manual when performing any disassembly operation about the device; otherwise, it might cause water leakage or poor image quality due to unprofessional disassembly. Please contact after-sale service for desiccant replacement if there is condensed fog on the lens after unpacking or when the desiccant turns green. (Not all models are included with the desiccant).
- It is recommended to use the device together with lightning arrester to improve lightning protection effect.
- It is recommended to ground the device to enhance reliability.
- Do not touch the image sensor (CMOS) directly. Dust and dirt can be removed with air blower, or you can wipe the lens gently with soft cloth that is moistened with alcohol.
- You can clean the device body with soft dry cloth, and for stubborn stains, use the cloth with mild detergent. To avoid possible damage on device body coating which could cause performance decrease, do not use volatile solvent such as alcohol, benzene, diluent to clean the device body, nor can strong, abrasive detergent be used.
- Dome cover is an optical component. Do not touch or wipe the cover with your hands directly during installation or operation. For removing dust, grease or fingerprints, wipe gently with moistened oil-free cotton with diethyl or moisten soft cloth. You can also remove dust with an air blower.
WARNING
- Strengthen the protection of network, device data and personal information by adopting measures which include but not limited to using strong password, modifying password regularly, upgrading firmware to the latest version, and isolating computer network. For some devices with old firmware versions, the ONVIF password will not be modified automatically along with the modification of the system password, and you need to upgrade the firmware or manually update the ONVIF password.
- Use standard components or accessories provided by manufacturer and make sure that the device is installed and maintained by professional engineers.
- The surface of the image sensor should not be exposed to laser beam radiation in an environment where a laser beam device is used.
- Do not provide two or more power supply sources for the device unless otherwise specified. A failure to follow this instruction might cause damage to the device.
Cable
Waterproof all the cable joints with insulating tape and waterproof tape to avoid short circuit and water damage. For the detailed operation, see the FAQ Manual.

For more information about cable ports, see Table 1-1.
Table 1-1 Cable information
| No. | Port Name | Description |
| 1 | Ethernet | Connects to network with network cable. |
| 2 | 12V DC power input | Inputs 12V DC power. Be sure to supply power as instructed in the manual. Device abnormity or damage could occur if power is not supplied correctly. |
Network Configuration
Device initialization and IP address setting can be finished with the “Configure Tool” or on web interface.
- Device initialization is required at first use or after the device being reset.
- Device initialization is available only when the IP addresses of the device (192.168.1.108 by default) and the PC stay in the same network segment.
- Plan useable network segment properly to connect the device to the network.
- The following figures and interfaces are for reference only, and the actual product shall prevail.
Initializing Device
Step 1: Double-click “ConfigTool.exe” to open the tool.
Step 2: Click
The Modify IP interface is displayed. See Figure 2-1.
Figure 2-1 Modify IP
Step 3: Click Search setting.
The Setting interface is displayed.
Step 4: Enter the start IP address and end IP address of the network segment in which you want to search devices, and then click OK.
All the devices found in the network segment are listed.
Step 5: Select one or several devices whose Status is Uninitialized, and then click Initialize. The Device initialization interface is displayed.
Step6: Select the devices that need initialization, and then click Initialize. The password setting interface is displayed. See Figure 2-2.
Figure 2-2 Password Setting

Step 7: Set and confirm the password of the devices, then enter a valid email address, and then click Next. The final setting interface is displayed.
Step 8: Password can be modified or reset in System Settings. Select the options according to your needs, and then click OK.
The Initialization interface is displayed after initialization is completed. Click the success icon or the failure icon for the details.
Step 9: Click Finish.
The device status in the Modify IP interface (Figure 2-1) turns to Initialized.
Modifying Device IP Address
- You can modify IP address of one or multiple devices in one time. This section is based on modifying IP addresses in batches.
- Modifying IP addresses in batches is available only when the corresponding devices have the same login password.
Step 1: Do Step 1 to Step 4 in “2.1 Initializing Device” to search for devices in your network segment.
After clicking Search setting, enter the username and password, and make sure that they are the same as what you set during initialization; otherwise there will be wrong password notice.
Step 2: Select the devices whose IP addresses need to be modified, and then click Modify IP. The Modify IP Address interface is displayed. See Figure 2-3.
Figure 2-3 Modify IP Address 
Step 3: Select Static mode, and then enter start IP, subnet mask, and gateway.
- IP addresses of multiple devices will be set to the same if you select the Same IP check box.
- If DHCP server is available in the network, devices will automatically obtain IP addresses from DHCP server when you select DHCP.
Step 4 : Click OK.
Logging in to Web Interface
Step 1: Open IE browser, enter the IP address of the device in the address bar, and then press Enter key.
If the setup wizard is displayed, finish the settings as instructed.
Step 2: Enter the user name and password in the login box, and then click Login.
Step 3: For the first-time login, click Click Here to Download Plugin, and then install the plugin as instructed.
The main interface is displayed when the installation is finished. See Figure 2-4.
Figure 2-4 Main interface
Installation
Packing List
- The tool required for the installation such as electric drill is not provided in the packing.
- The operation manual and related tool are contained in the QR code.

Dimensions
The following figures are for reference only, and the actual product shall prevail.
Installing Device
Installation Type
Installing Antenna
Installing SD Card (Optional)
Disconnect the power before installing or removing the SD card.

Press and hold the reset button for 10 s to reset the camera.
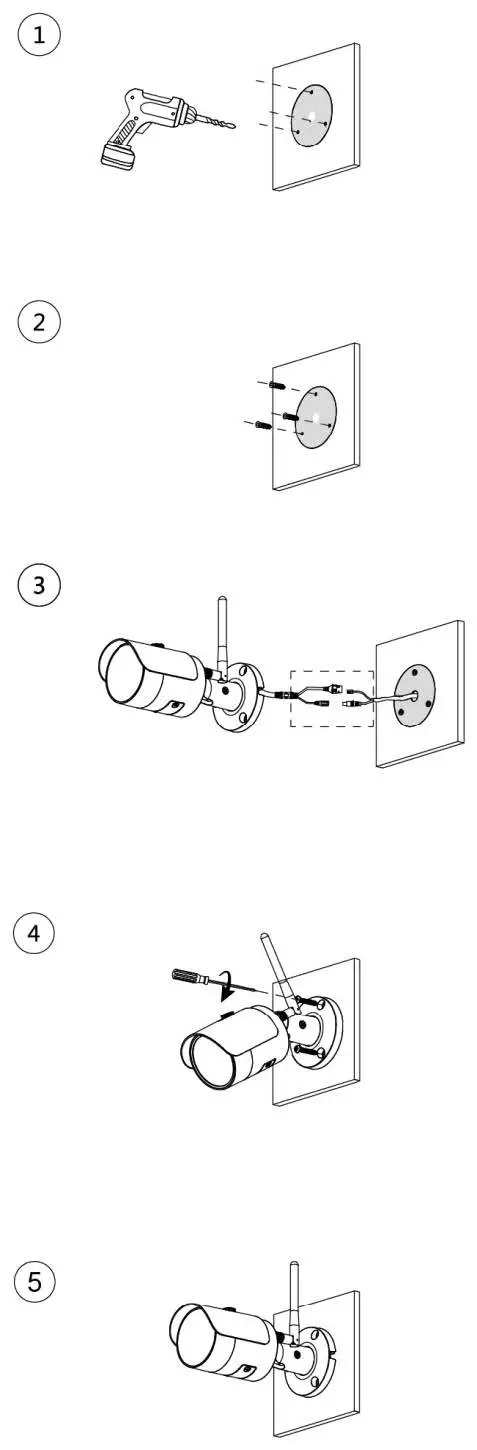
Attaching Device
Make sure that the mounting surface is strong enough to hold at least three times of the weight of the device and bracket.
Cable going through the mounting surface
Cable going through the side cable tray
Installing Waterproof Connector (Optional)
This part is needed only when there is waterproof connector in the package and the device is used outdoors.
Adjusting Lens Angle




















