HARPER HB-528 Bluetooth Stereo Headphone with Microphone

Thank you for choosing Harper products. Before use, read the operating instructions and save them in case you have any questions about servicing the device.
PRECAUTIONARY MEASURES
- Do not disassemble the device by yourselves. It may lead to the malfunction of the device.
- In case of any malfunction, please contact the authorized service center.
- Do not lead devices and accessories unattended. Please keep them out of reach of children and pets. Small parts can cause suffocation.
- The device is supposed to be used in normal climate conditions. Extreme climate conditions (temperature below 0°C and above 45°C, too high level of humidity) can cause malfunction of the device and wreck electronic components of the device
- Protect device from water, do not touch it with wet hands.
Information about restrictions on the use of technical equipment, taking into account its purpose for work in residential, commercial or industrial areas The equipment is designed to work in residential and commercial areas, public places, industrial areas with small and medium power consumption, without exposure to harmful and dangerous production factors. The equipment is intended for operation without the constant presence of maintenance personnel.
REQUIREMENTS TO TRANSPORTATION
Transportation of equipment should be carried out in the original packaging in covered vehicles by any means of transport.
APPOINTMENT
These headphones are designed for mobile devices with Bluetooth functionality. They are designed for wireless transmission of audio data: talking on the phone, listening to music files, for comfort gaming process.
ITEMS INCLUDED
- 1x Bluetooth stereo headset HB-528
- 1x Type-C charging cable
- 1x User’s manual
- 1x Guarantee card
- 3x Pair of silicone ear pads (big, middle, small sizes)
WEARING
Put the earbuds in your ears, rotate them, and adjust it to the best angle. Be sure to wear a comfortable and secure fit.
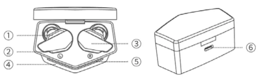
OVERVIEW
- Earbuds decoration
- Indicator
- Smart touch area
- Charging box decoration
- RGB lighting
- Charging Type-C port
AUTO ON/OFF
- When you open the box, the earbuds will automatically power on.
- When putting them in and closing the box, the earbuds will automatically power off.
MANUALLY ON/OFF
- Long press the earbuds touch areas about 5s to power on the earbuds.
- Long press the earbuds touch areas about 5s to power off the earbuds.
PAIRING
- Taking the earbuds out of the charging box, the left and right earbuds will automatically connect and enter the Bluetooth searching and pairing state, select and connect “HB-528” devices in the Bluetooth list of smart devices.
- Taking them out of charging box, the earbuds will automatically con nect back to the last Bluetooth device.
- When the earbuds are disconnected from the device beyond the effective distance, they will automatically reconnect after returning to the effective distance within 1 minute.
TOUCH CONTROL
Left (L):
- Play/Pause: x1
- Volume down: x2
- Previous song: long press 2-3s
- Gaming mode On/Off: x3
Right (R):
- Answer/Hang up: x1
- Volume up/Reject: x2
- Next song: long press 2-3s
- Voice assistant: x3
Notes:
- Default gaming mode for first-time use.
- Play/Pause, answer/hang up functions can be completed by pressing either earbud, Left and Right. Besides, the short press operation requires 1.5s.
MEMORY FUNCTION
Automatic memory of the last mode when you power on again, for example gaming mode will be saved before power off.
CHARGING AND LED INDICATION, RGB COLOUR
LED on case
Open the case cyan light’s on – earphones stop being charged from the case Close the case – RGB Iight’s flashing earphones start charging from the case
RGB color according to a level of charging
- 25% Red light
- 26%-75%- Blue light
- 76 %-99%- Green light
- 100%-Light’s Off
Charging of the earbuds
- Light’s on- charging
- Light’s off – fully charge
PRODUCT PARAMETERS
- Bluetooth version: 5.0
- Frequency response: 20Hz -20 kHz
- Earphone charging time: 1.5h
- Case charging time: up to 2h
- Work time: up to 6h
- Case battery capacity: 400mAh
- Earphones battery capacity: 2*45mAh
- Plug for charging: Type-C
- Sensitivity: 10343dB
- Impedance: 32 Ohm
- Response time in gaming mode: up to 50ms
DISPOSAL INFORMATION
This device is designed and made of high quality materials and components, which can be recycled and reused. The symbol means that electrical and electronic equipment must be disposed of separately from household waste after use.
Notes
In accordance with constant improvement, specifications and design are subject to change without notice. This product does not contain precious metals.
Information about certification
The products passed all the assessment procedures established in the technical regulations of the Customs Union and the Eurasian Economic Union Information about product certification, certificate number, and date, validity period you can find on the website www.harpe.ru or by calling technical support at 8-800-600-7107 The production date is indicated on the gift-boX
Life duration of product: 24 months
Warranty period: 12 months
Warranty service is provided on the base of a warranty card that goes together with the product. The warranty card and User manual are integral parts of the product. For additional information about the product and authorized service centers, you may find at www.harper.ru or by telephone at 8-800-600-7107
Manufacturer: Harper International Trading Limited 15 Radio City, 505 Hennessy Road, Causeway Bay Hong Kong
Made in China
Importer/claims organization: LLC «Progress-Plyus», App.11, floor 2, Build.50, k.1, Udaltsova Str., Moscow, Russia, 119607, tel.: +74951330210,
email: [email protected]
























