
User Manual
Please read this guide carefully before use and keep it for future use.
For your safety
Please read this manual before using the cell phone to ensure your safety and proper use.
| SWITCH OFF IN HOSPITALS Please abide by relevant provisions or regulations. Please turn off your mobile phone near medical equipment. | |
| SWITCH OFF WHEN REFUELING Don’t use the phone at a refueling point. Don’t use near fuel or chemicals. | |
| SIM CARDS AND TF CARDS ARE PORTABLE Keep your phone, phone parts, and accessories out of children’s reach. | |
| BATTERY Please do not destroy or damage the battery, it can be dangerous and cause a fire. Please do not throw the battery in the fire to avoid hazard. When the battery cannot be used, please dispose of in safe environment. Do not try to dismantle the battery. If the battery or authorized charger is broken or old, please stop using them, and replace them with a certified genuine battery. | |
| USE QUALITY EQUIPMENT Use authorized equipment to avoid danger. | |
| ROAD SAFETY COMES FIRST Give full attention while driving, Park before using your phone. Please follow traffic rules of local city town. | |
| INTERFERENCE All wireless devices may be susceptible to cause interference, which could affect performance. | |
| SWITCH OFF IN AIRCRAFT Wireless devices can cause interference in aircraft. It’s not only dangerous but also illegal to use mobile phone in an aircraft. |
Learn about the phone
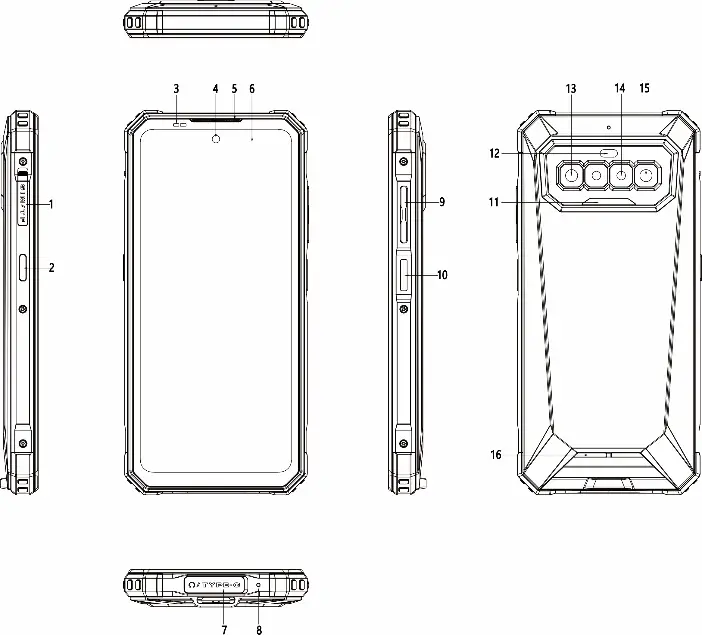
Overview

| 1. Card Tray 2. F150 Key 3. Light Sensor 4. Front Camera(16M) 5. Receiver 6. Touch screen 7. Headset/USB interface 8. Microphone | 9. Volume Key 10. Power Key/Fingerprint 11. Photoflash 12. Infrared lamp 13. Rear Camera(64M) 14. Macro camera(2M) 15. Night vision camera(20M) 16. Speaker |
Function Keys
| Keys | Functions |
| Power Key | • Press to turn on/off the screen. • Press and hold to reboot, power off the phone, and screenshot. |
| Volume Key | • Press to adjust the volume of the device. |
| Home Key (on the screen) | • Tap to return to Home screen. |
| Back Key (on the screen) | • Tap to return to the previous screen. |
| Fingerprint key | • Press to unlock the phone. |
| F150 Key(SOS) | • Click 5 times to enter SOS mode. |
√ Note
Multi-Task Key and Back Key can be exchanged the layout in Settings –> Navigation bar. You can customize the navigation bar.
Before using
The phone is a Dual SIM mobile that allows you to use two mobile networks.
- Insert SIM cards and TF card
- Stick into the pinhole with eject tool, and then card tray will be out of phone.
1) Insert the Nano-SIM cards and TF card to the card slots correctly.
Card 1 supports the Nano SIM1 card.
Card 2 supports the Nano SIM2 card.
Card 3 supports TF card.

√ Note
- Do not remove the cards while the device is transferring data. Doing so may cause data to be lost or damage to the cards and device.
- The SIM cards and TF card are small parts. Please keep away from Children to avoid swallowing the card by accident.
- Please do not touch the metal surface of SIM and TF cards and keep them away from the electromagnetic fields to avoid damaged data.
- Charge the Battery
Charge the battery before using it.
Getting started
Basic Function
- Turn on the phone
Press and hold the power key for a while to turn on the phone. - Turn off the phone
Long press the power key until a menu shows. Choose “Power off” to turn off the phone. - Restart the phone
Option 1: Long press the power key until a menu shows. Choose “Reboot” to restart the phone.
Option 2: Long press the power key for 13 seconds to auto restart the phone automatically. - Lock the screen
Option 1: Press the power key to turn off the screen and lock it.
Option 2: The screen will auto-lock if you don’t use the phone for a while. - Unlock the screen
Press the power key for unlocking.
Warnings and notes
Operational Warnings
Important information on safe and efficient operation. Read this information before using your phone. For the safe and efficient operation of your phone, observe these guidelines:
Potentially explosive at atmospheres: Turn off your phone when you are in any areas with a potentially explosive atmosphere, such as fueling areas (gas or petrol stations, below deck on boats), storage facilities for fuel or chemicals, blasting areas and areas near electrical blasting caps, and areas where there are chemicals or particles (Such as metal powders, grains, and dust) in the air.
Interference to medical and Personal Electronic Devices: Most but not all electronic equipment is shielded from RF signals and certain electronic equipment may not be shielded against the RF signals from your phone.
Audio Safety: This phone is capable of producing loud noises which may damage your hearing. When using the speakerphone feature, it is recommended that you place your phone at a safe distance from your ear.
Other Medical Devices, hospitals: If you use any other personal medical device, consult the manufacturer of your device to determine if it is adequately shielded from external RF energy. Your physician may be able to assist you in obtaining this information. Turn your phone OFF in health care facilities when any regulations posted in these areas instruct you to do so. Hospitals or health care facilities may be using equipment that could be sensitive to external RF energy.
Product statement on handling and use: You alone are responsible for how you use your phone and any consequences of its use. You must always switch off your phone wherever the use of a phone is prohibited. Use of your phone is subject to safety measures designed to protect users and their environment. Always treat your phone and its accessories with care and keep it in a clean and dust-free place.
Do not expose your phone or its accessories to open flames or lit tobacco products.
Do not expose your phone or its accessories to liquid, moisture, or high humidity.
Do not drop, throw, or try to bend your phone or its accessories.
Do not use harsh chemicals, cleaning solvents, or aerosols to clean the device or its accessories.
Do not attempt to disassemble your phone or its accessories; only authorized personnel can do so.
Do not expose your phone or its accessories to extreme temperatures, minimum 32 and maximum 104(0 to 40).
Battery: Your phone includes an internal lithium-ion or lithium-ion polymer battery. Please note that the use of certain data applications can result in heavy battery use and may require frequent battery charging. Any disposal of the phone or battery must comply with laws and regulations pertaining to lithium-ion or lithium-ion polymer batteries.
Faulty and damaged products: Do not attempt to disassemble the phone or its accessory. Only qualified personnel can service or repair the phone or its accessory. If your phone or its accessory has been submerged in water, Punctured, or subjected to a severe fall, do not use it until you have taken it to be checked at an authorized service center.
Safety information
Do not use the mobile phone in an environment at too high or too low a temperature, never expose the mobile phone under strong sunshine or too wet environment. The maximum operating ambient temperature of the equipment is 40.
Excessive sound pressure from earphones and headphones can cause hearing loss.
To prevent possible hearing damage, do not listen at high volume levels for long periods.
Waste Electrical and Electronic Equipment (WEEE)
This symbol means that according to local laws and regulations your product and/or its battery shall be disposed of separately from household waste. When this product reaches its end of life, take it to a collection point designated by local authorities. Proper recycling of your product will protect human health and the environment.
Accessory information
Charger: 9V/2A
Battery: 8300mAh
All software versions released by the manufacturer have been verified and are still compliant with the related rules.
Product specification
| Frequency band | Supports Bands (MHz) : GSM:B2/B3 GSM:B5/B8 WCDMA:B1/B2/B4/B5/B8 TDD:B38/B40/B41 FDD:B1/B2/B3/B4/B5/B7/B8/B12/B13/B17/B18/B19/B20/B25/B 26/B28(A+8)/B66 | Max Power: 29.5±2dBm 32.5±2dBm 23±2dBm 22±1dBm 22±1dBm |
| WLAN | Frequency (MHz): 2412~2472 5180~5240 5260~5320 5745~5825 | Max Power: 17±2dBm(EIRP) 16±2dBm(EIRP) 16±2dBm(EIRP) 16±2dBm(EIRP) |
| BT | Frequency (MHz): 2402~2480 | Max Power: 8±2dBm(EIRP) |

















