NEFF C1.KS61N0 Coffee Machine

Safety instructions
Please read and pay particular attention to the safety information in the instruction manual.
Danger of electric shock!
Connect and operate the appliance only according to the type plate specifications. To avoid potential hazards, repairs must only be carried out by our customer service personnel.
If the power cord of this appliance is damaged, it must be replaced with a special connection cord, which is available from our after-sales service. Should a fault occur, pull the plug or disconnect from the mains immediately.
Only an appliance which has been correctly installed according to these installation instructions can be used safely. Attach loose furniture to the wall with a conventional bracket.
The appliance contains permanent magnets that may influence electronic implants such as pacemakers or insulin pumps. Persons wearing electronic implants must maintain a minimum distance of 10 cm from the front of the appliance and from the following parts upon removal: milk container, milk system, water tank and brewing unit.
Included in delivery (for installation)

- a: Fully automatic coffee machine
- b: Installation instructions
- c: Connecting cable
- d: Assembly bracket
- e: Spacer
- f: 5 fastening screws (silver)
- g: 2 fastening screws (long/black)
- h: 2 fastening screws (short/black)
- I: 1 sleeve (black)
- j: 2 sleeves (white)
Installing the appliance








Make sure there is adequate aeration. To do this, remove the rear panel or cut out an opening of 500 x 400 mm. There must be a gap of at least 35 mm between the wall and base of the unit or the rear panel of the unit situated above. The ventilation slots and intake openings must not be covered. Also follow the installation instructions for the appliance situated above or below. If installing the appliance above a warming drawer, the height of the recess must be 590 mm. If the appliance is installed directly under a décor panel, ensure that there is a ventilation slot of at least 200 cm². The ideal installation height for the fully automatic coffee machine, measured from the floor to the lower edge of the appliance, is 950 mm.
- Unpack all the parts and check for any damage in transit. Do not operate a damaged appliance.
- Take note of the installation dimensions of the particular model.
Important: 2 opening angles can be selected for the door.
Depending on the opening angle required, the mounting distance to the wall should be observed before installation if it is on the left side.- Opening angle approx. 110° (as delivered)
= mounting distance to the wall at least 350 mm on the left. - Opening angle approx. 92° (requires special accessory)
= mounting distance to the wall at least 100 mm on the left. For this purpose, replace the two limits on the upper and lower hinges with special accessory no. 00636455.
- Opening angle approx. 110° (as delivered)
- Remove the installation template on the back of the installation instructions. Place the installation template at the front edge of the unit and screw on the assembly bracket d as shown with two fastening screws f. The assembly bracket must be positioned at the base of the unit and the wall such that no gap is present.
- Set the mains switch U to h. Plug the connecting cable c into the socket first and then into the appliance (clicks into place). It must not be trapped or kinked. Put the appliance to be plugged in just on to the edge of the unit.
Important: The distance between the appliance and the back wall must be at least 35 mm. - Push the appliance into the unit until it clicks into place. Check that the appliance is in the middle. If necessary, align the appliance. To do so, pull the appliance out a little, remove the appropriate spacers e and attach to the left side (top and bottom). Push the appliance into the unit until it clicks into place.
- Take hold of the appliance door on the right next to the outlet and open. Remove the drip tray Y. Pull the cover X on the bottom left-hand side forwards and remove. Pull out the accessories drawer Z and put to one side.
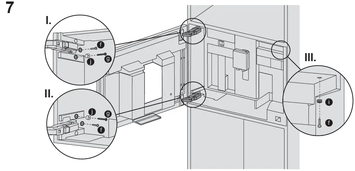
- First, screw on the appliance as shown using 2 of each of the fastening screws f and g as well as 2 sleeves j. Then screw tight at the top right of the unit using 1 fastening screw f and sleeve I.
- Only for the expert
In very few cases, the door of the fitted fully automatic machine can jam due to a warpage in the built-in units. The door can be adjusted. To do this adjust the hinges at the top and the bottom.- Adjust the depth of the door by turning the screws V.
- Remove the hinge dampers at the top and bottom of the hinges. Turn the screws W to adjust the inclination and the horizontal position of the doors.
- Re-fit the hinge dampers.
- Insert the cover X and fix with the two black fastening screws h.
- Replace the drip tray Y and accessories drawer Z and close the appliance door.




















