Fontiso CGMA0009A0 Shime Mini Portable Massage Gun
Thank you for choosing the Fontiso mini massager ,,Shima”.
The massager is used to loosen muscle tissue, increase muscle elasticity and flexibility, prevent muscle soreness and improve blood circulation.
WARNING:
Follow the safety instructions and directions. Failure to follow the safety information and instructions may result in personal injury or damage to the equipment. Keep the safety notes and instructions for future reference.
Package contents
- Mini Massager
- Vertebral massage head
- Joint massage head
- Ball massage head
- General massage head
- USB Type-C™ cable
- Operating instructions
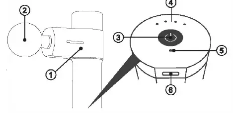
Overview
- Mini Massager
- Massage head
- ON/OFF button
- Intensity LED indicator
- Charging LED
- Charging connector

Charge device
The massage gun is equipped with an internal lithium battery. Fully charge the battery before first use. Connect the USB Type-C ™ connector of the cable to the charging port of the massage gun. Plug the USB-A side of the cable into a USB charger (min. 5.0V DC, 2.0A, 10 watts) and connect it to a power outlet.
The LED on the device will blink regularly, this indicates that the battery is charging. The LED will tum off when fully charged. When fully charged,
disconnect the massage gun from the mains.
Usage
Switch on the massage gun with the ON/OFF key. The gun starts in the first of four intensity levels. Keep pressing the ON/OFF key to cycle through the intensity levels. The unit will tum off when fourth level is reached and the ON/OFF key is pressed again. The LED indicator on the bottom of the massage gun shows the current intensity level.
Select an intensity level that is comfortable for you. Experiment with increasing the intensity once you get used to the device.
Apply the massager in 30- to 60-second intervals up to three times per treatment, taking breaks between intervals for best results. The direction of massage should be downward during treatment.
Note: One treatment should not last longer than one hour.
Massage heads
Different massage heads are needed for different parts of the body. To change the massage heads, pull the head out of the device and replace it with another one.
- the U-shaped massage head is used for massaging the spine and neck area.
- the large round foam head is used for massaging large muscle groups.
- the small flat head is used for general massage and can be used for all muscles.
- the small round head is used for precise massage.
A Risk of injury!
Do not use the massage gun on:
- Open wounds
- Fresh scars
- Bone fractures and splinters
- Arterial diseases such as thrombosis
- Diseases and disorders related to bones such as osteoporosis
- Circulatory disorders
- Persons with pacemakers
- Pregnancy
Safety advice
- Stop using the device immediately if you experience pain or discomfort.
- Use device only on muscles. Do not use device on fingers, bones, head or face as there Is a risk of Injury.
- Slight bruising after use is normal. If you experience severe bruising, discomfort or pain, stop using device.
- Avoid using on areas with, little or no muscle tissue.
- The device must not be used by children or persons with, limited physical or mental abilities.
- Never open device.
- Do not immerse the device in water and protect it from moisture.
- Unplug the device when it is not being charged.
- Do not close the ventilation hole on the back of the device. This may cause the device to overheat.
- Never use product if it has visible damage.
No liability is accepted for any damage which may occur through improper operation.
If you require technical support, please contact our support team via email at [email protected].
Technical data
- Input voltage: DC 5V/2A
- Speed levels: 4
- Rotation speed: 2400-3200 rpm
- Volume: 50dB max.
- USB Type-C connector
- Battery type: Lithium. 2000 mAh
- Battery life: Approx. 3.5 hrs.
- Brushless motor
- Motor power: 25 watts
- Dimensions: 146 x 96 x 50 mm
- Weight: 500 g
Registration and Safety
Certification/General Information
We hereby declare, that this device carries the CE mark in accordance with the regulations and standards. It conforms w1u, the fundamental
requirements of the EMV Directive 2014/30/EU.
The full text of the EU declaration of conformity is available at the following internet address: www.d-parts.de/Konfo
Note on environmental protection:
After the implementation of the European Directive 2012/19/EC in the A national legal system, the following applies: Electrical and electronic
devices may not be disposed of with, domestic waste. Consumers are obliged by law to electrical and electronic devices at the end of their service lives to the public collecting points set up for this purpose or point of sale. Details of this are defined by the national law of the respective country.




















