IZ-1106 Ultimate Steam

Product Information
The IZZY Ultimate Steam IZ-1106 is a 3000W steam iron with a 1.5L water tank capacity. It has a temperature setting knob (10), a steam button (11), and a steam indication light (12). The appliance comes with a 1-year guarantee and customer service support. The product is manufactured by H. Benrubi & Fils S.A. and the company’s contact information is provided in the user manual.
Product Usage Instructions
- Before using the appliance, make sure it is switched off, unplugged, and the temperature setting knob (10) is in the OFF position.
- Fill the water tank (1) with suitable water that is not chemical composition water. The harder the water is, the more often you need to descale the appliance.
- Plug in the appliance.
- Turn the temperature setting knob (10) to the desired temperature based on the recommended temperature table provided in the user manual for different fabric types.
- Wait for a while until the iron plate heats up and start ironing.
- To use steam, press the steam button (11).
- When you finish ironing, turn the temperature setting knob (10) to the OFF position and unplug.
- Let the appliance cool down and store both the cable and steam hose in the cable storage box (14) before storing the appliance.
Note: The water tank (1) does not need to be filled with water when ironing without steam.
Tips for Better Results
Refer to the recommended temperature table provided in the user manual for different fabric types to achieve better ironing results.
Safety interlocks

Please read these instructions carefully before using the appliance and save them for future reference. Please keep the sales receipt for guarantee purposes (please see below “Guarantee and Customer Service”) Any use which does not conform to the instructions will absolve IZZY from any liability.
- Make sure your electricity supply is the same as the one shown on the underside of the device.
- Always plug your device into an outlet that is earthed. Failure to comply with this requirement may result in electric shock and possible serious injury.
- Never leave the appliance unattended when in operation.
- Close supervision is necessary when your device is being used near children or infirm people. Ensure that they do not play with the device.
- This device is not intended for use by people with reduced physical, sensory or mental capabilities, children or those with lack of experience and knowledge, unless they have been given supervision or instruction concerning use of the device by a person responsible for their safety.
- Switch off and unplug:
- After use
- If a disturbance occurs
- Before cleaning or maintenance
- When filling the water tank
- When you do not use the appliance
- Never use the device for any other use than indicated.
- The device is intended only for domestic use. Any other use will cancel the warranty.
- Do not use the appliance outdoors or in the bathroom.
- Do not operate or place the appliance or parts in places of high humidity or where it may get wet.
- Do not immerse the appliance in water or any other liquid.
- Check the power cord periodically for possible damages. If the power cord or the plug of the device has been damaged, do not use the device and contact an authorized BENRUBI Service Center.
- Make sure that the power cord does not come into contact with the hot parts of the appliance.
- Always use the appliance on a dry, flat surface, resistant to high temperatures.
- Do not place the appliance near heat sources, on or next gas or electric hobs or over hot oven.
- Do not let the power cord of the appliance hang over the edge of a table or bench top or where a child could grab it. Do not let the power cord to touch any hot surface.
- Never leave the power cable wrapped during use. Unwind it completely.
- Do not touch the hot surfaces of the appliance. High temperatures are generated during use which could cause burns. Always use the handle and warn others (especially children) of the possible dangers of burns from steam, hot water or the soleplate.
- The appliance gives off steam which can cause burns. Handle your iron carefully. Never direct the steam towards persons or animals.
- Make sure to keep the sole plate of the iron very smooth. Do not run it over metal objects like buttons, zips etc.
- Never dampen or iron cloths while wearing them.
- Always place the iron on the heat resistant base. Never allow the iron stand on its heel.
- Make sure that the iron is placed on its stand and that the stand is placed on a stable surface.
- Make sure the water does not exceed the MAX indication on the water tank.
- Do not put any detergents or chemical substances in the water tank or in the boiler.
- Do not move the device by pulling it off the power cord. Ensure that the power cord is not blocked in any way. Do not wrap the cable around the body of the device or rotate it.
- Do not use an extension cord or voltage converter with this device.
- This appliance is not intended to be operated by means of an external timer or separate remote control system.
- Never disconnect the device from the mains by pulling the cord. Disconnect always by pulling the plug.
- The appliance is installed with a magnetic device. The appliance may not function properly when located near a strong electromagnetic field (e.g. television). When you use and store the appliance, please keep it away from any electromagnetic field.
- If the appliance does get wet, immediately remove the power cord from the wall outlet and contact one of the authorized BENRUBI service centers.
- Do not use corrosive, abrasive detergents or hard brushes as they can scratch and cause damage to the appliance.
- Do not move the appliance when it is in operation.
- Do not touch the appliance with wet or damp hands.
- In case of a possible damage, do not attempt to repair the device by yourself. Please contact one of the authorized BENRUBI service centers. Any repair made by an unauthorized BENRUBI Service Center CANCELS THE GUARANTEE.
- Any misuse of the device cancels the warranty.
- Use only original spare parts.
- The device conforms to EU directive 2014/30/EU on Electromagnetic Compatibility, the 2014/35/EU Low Voltage Directive, the 2011/65/EU RoHS Directive, and the directive 2009/125/EC for eco-design.
SAVE THESE INSTRUCTIONS
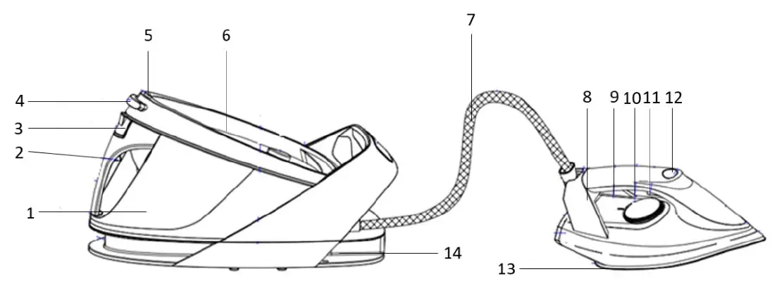
Parts of the Appliance

- Water tank 1.5L
- Water tank release button
- Water tank lid
- Iron lock button
- Iron unlock button
- Heat resistant base
- Steam hose
- Iron
- Heat resistant handle
- Temperature setting knob
- Steam button
- Steam indication light
- Heating ceramic plate
- Cable storage
- Before the First Use
- Remove any sticker or protective cover from the soleplate before using the appliance.
- Before the first use of the steam generator, use a damp cloth to remove any potential residuals from the soleplate as there may be debris from the steam vents. Use the steam generator for the first time on an old piece of fabric to ensure that the soleplate and the water tank are completely clean.
- When the steam generator is used for the first time, some vapor may be emitted as well as some smoke and odor. However, after a short while this will cease to exist.
Suitable Water
- You can use tap water unless the tap water is too hard. If the water in your area is too hard and contains many salts, use distilled water.
- Do not use water of any chemical composition, water from refrigerators, clothes dryers, batteries, air conditioners, scented water, softener water, and rainwater. In these cases, the water contains organic waste or metallic elements that accumulate during heating, causing stains on clothes and help reduce the shelf life of the device.
- The use of water of any chemical composition in accordance with the above cancels the warranty.
- Water containing sediments and salts will cause damage to the plate holes and to the internal operation of the iron. The specially designed steam chamber and the filter protect the appliance from wear.
- To ensure maximum appliance life:
- Do not use chemical composition water.
- The harder the water is, the more often you need to descale the appliance.
Use of the Appliance – Steam Ironing
Before using, make sure the appliance is switched off, is not plugged in, and the temperature setting knob (10) is in the “OFF” position.
- Remove the water tank (1) by pressing the water tank release button (2). Open the lid (3) and fill with water (see section: “Suitable water”). Make sure the water in the taml does not exceed the MAX mark.
Note: You can fill the water tank without removing it. - Insert the water tank (1) until it snaps into its original position.
- Unlock the iron from the base by pressing the iron unlock button (5).
- Plug in.
- Turn the temperature setting knob (10) to the desired temperature. The steam indicator light (12) will turn on.
- As soon as the steam indicator light (12) will turn off, the device is ready for use. Press the steam button (11) and start ironing. The steam setting can be switched off at any time by releasing the steam button (11). By pressing the continuous steam setting (4), the steam button (2) does not have to be pressed.
Note: To set the continuous steam function, slide back the steam button lock back so that the steam button does not need to be pressed. - If the water is finished in the water tank and you have not finished the ironing, unplug, fill with water and continue ironing.
- When you finish ironing, turn the temperature setting knob (10) to the “OFF” position and unplug.
- Let the appliance cool down and store both the cable and the steam hose in the cable storage box (14) before storing the appliance.
Notes:
- The temperature setting knob (10) should be in the “●●” ή “●●●” position to produce steam.
- Make sure that the iron is placed on the heat-resistant base when not in use.
- Make sure you do not iron the same fabric surface for a long time because it can damage the fabric.
- The steam hose (7) is very hot during use. Do not touch to avoid burns.
Use of the Appliance – Dry Ironing
The water tank (10) does not need to be water when ironing without steam.
- Plug in.
- Turn the temperature setting knob (10) to the desired temperature.
- Wait for a while until the iron plate heats up and start ironing.
- When you finish ironing, turn the temperature setting knob (10) to the “OFF” position and unplug.
- Let the appliance cool down and store both the cable and steam hose in the cable storage box (14) before storing the appliance.
Tips for Better Results
- Divide the washing according to the correct ironing temperatures and in accordance with the International Fabric Care Code, which is on the labels label.
- If you do not know what fabric is made of fabric, determine the appropriate ironing temperature by ironing a point on the fabric that is not apparent when wearing it or using it.
- Silk, woolen and synthetic fabrics should be ironed from the riverside so as not to create shiny patches.
- First iron the fabrics that require the lowest temperature and then the fabrics that require a higher temperature.
- Do not iron metal objects such as zippers, hooks, rings, etc. as these may scratch the plate.
- Fabrics such as velvet and wool and accessories such as gloves, bags, etc. They will recover the brand new look and texture by simply passing the iron near the surface of the cloth and pressing the steam button.
- Fabrics that have some kind of finishing (glossy surfaces, wrinkles, etc.) can be ironed at low temperatures.
- For fabrics containing different fibers in their composition, always choose the appropriate temperature for ironing, which corresponds to the highest percentage of fabric. For example, if a fabric contains 60% polyester and 40% cotton, you should choose the appropriate temperature for the polyester and iron the fabric without steam.
- For woolen fabrics, select the middle temperature and press the steam button intermittently to achieve small steam emissions without touching the iron on the cloth.
- It is recommended that the steam button is used for small bursts rather than for prolonged periods of time. This can prevent the distillation of water from the steam holes and may reduce the frequency that you need to refill the water tank.
Recommended Temperature Table
| Type of fabric | Temperature setting | Ironing instructions |
| Acetate Acrylic Nylon | ⚫ | Dry ironing Follow the instructions on the label of the garment. This type of fabric generally requires very light ironing. |
| Pollyester Rayon | ⚫ | Dry ironing Iron inside out. When ironing mixed fabrics. Select the Lowest recommended temperature. |
| Silk | ⚫ ⚫ | Dry ironing Iron inside out. |
| Wool Light cotton Light linen | ⚫ ⚫ | Steam ironing Iron inside out. Place a thin cloth over the fabric in order to avoid a shiny finish. |
| Cotton Fine linen Starched fabrics | ⚫ ⚫ ⚫ | Steam ironing Dampen the fabric before ironing. Heavier fabrics and torched fabrics can be ironed on the front; darker colors and embroidered garments should be ironed inside out. |
| Linen | ⚫ ⚫ ⚫ | Steam ironing Use plenty of steam and iron dark fabrics inside out in order to avoid a shiny finish, Iron lapels and cuffs on the right side for better finish. |
Anti-Drip System
- With the anti-drip system, you can perfectly iron even the most sensitive fabrics that need a low temperature.
- The anti-drip system prevents water from dripping through the holes in the iron plate when it is cold or at low temperature.
- During use, this system can produce a loud “click” sound, especially when it is warming up or when it cools down the iron. This is perfectly normal and indicates that the system is working properly.
Care and Cleaning
CAUTION: Before performing any cleaning or maintenance work, make sure that you remove the power cord from the electrical outlet and that the appliance has cooled down completely.
- Drain the remaining water from the water tank to prevent leakage during cleaning.
- Do not use abrasives or abrasive cleaners and wire to clean the plate or the boiler.
- Keep the soleplate smooth. Avoid contact with hard, metal objects. Do not scratch or damage the surface of the soleplate.
- Do not place the iron on any metal surface. Only place the iron on the heat-resistant base.
- To prevent scratches and damage the plate, avoid any contact with hard metal objects.
- Wipe the upper part of the appliance with a damp cloth. Do not use abrasives or harsh cleaners as they may damage the surface of the steam generator.
- Never immerse the appliance in water or nay other liquid. Never hold the iron or the base unit under the tap.
Filter Replacement The filter should be changed every 6-8 months depending on the usage and the hardness of the water in salts.
- Remove the water tank (1) by pressing the tank release button (2).
- Unscrew the screws on the top of the water tank and open the lid.
- Remove the filter and install the new one.
- Tighten the screws again and replace the water tank (1).
Storage and Carriage
Storage
- Allow appliance to cool down completely before storing.
- Remove water from the water tank after each use or before storage.
- Place both the power cord and the steam hose into the cable storage box (14) before storing.
- Store in a place without humidity, where it is not reachable by children.
Carriage
For easy carriage of the appliance, place the iron on the heat resistant base (6) as well as place both the power cord and the steam hose into the cable storage box (14). Press the iron lock button (4) until it locks into place. Transfer the appliance by holding it from the handle. Before use, press the unlock iron button (5) to release the iron.
Technical Characteristics
- Model: Steam Generator Ultimate Steam IZ-1106 Power: 3000W
Water tank capacity: 1.5 Lt
Steam production: 130gr/min
Important Information for Correct Disposal of the Product in Accordance with EC Directive 2002/96/EC
At the end of its working life, the product must not be disposed of as urban waste. It must be taken to a special local authority differentiated waste collection center or to a dealer providing this service. Disposing of a household device separately avoids possible negative consequences for the environment and health deriving from inappropriate disposal and enables the constituent materials to be recovered to obtain significant savings in energy and resources.
As a reminder of the need to dispose of household devices separately, the product is marked with a crossed-out wheeled dustbin.
Guarantee & Customer Service
- BENRUBI Company guarantees its products for any manufacturing defect or defective materials for a period of two (2) years from the date of purchase or delivery by presenting purchase receipt. If your product malfunctions or you find any defects, please revert to the retail location you have purchased it from or contact an authorized BENRUBI Service Centre. To find the nearest authorized BENRUBI Service Centre, visit our website www.benrubi.gr. It is in the discretion of BENRUBI Company to replace or repair the defective product.
- The warranty does not cover damages resulting from normal wear, breakage, scaling, improper installation or maintenance of the product, mishandling, abnormal working conditions, failure to implement the instructions, conversion or repair of the product by an unauthorized technician who does not belong to the BENRUBI Service Centers.
Also, the warranty does not cover the following indicative factors:
- *-Stains, discoloration or scratches.
- Burns due to exposure to heat or flame.
- Damage from thermal shock (sudden temperature change or change of voltage)
FOR MORE INFORMATION CONTACT:
(NEW) H. BENRUBI & FILS SA
27 Aghiou Thoma str, GR15124 Maroussi – Athens
Tel. / Customer Support: 210 6156400 e-mail: [email protected]



















