![]()
Face Recognition Terminal
Quick Start Guide
UD17593N-C
About this Manual
The Manual includes instructions for using and managing the Product. Pictures, charts, images and all other information hereinafter are for description and explanation only. The information contained in the Manual is subject to change, without notice, due to firmware updates or other reasons. Please find the latest version of this Manual at the company website.
Please use this Manual with the guidance and assistance of professionals trained in supporting the Product.
Trademarks Acknowledgement
Trademarks and logos mentioned are the properties of their respective owners.
LEGAL DISCLAIMER
TO THE MAXIMUM EXTENT PERMITTED BY APPLICABLE LAW, THIS MANUAL AND THE PRODUCT DESCRIBED, WITH ITS HARDWARE, SOFTWARE AND FIRMWARE, ARE PROVIDED “AS IS” AND “WITH ALL FAULTS AND ERRORS” . OUR COMPANY MAKES NO WARRANTIES, EXPRESS OR IMPLIED, INCLUDING WITHOUT LIMITATION, MERCHANTABILITY, SATISFACTORY QUALITY, OR FITNESS FOR A PARTICULAR PURPOSE. THE USE OF THE PRODUCT BY YOU IS AT YOUR OWN RISK. IN NO EVENT WILL OUR COMPANY BE LIABLE TO YOU FOR ANY SPECIAL CONSEQUENTIAL INCIDENTAL OR INDIRECT DAMAGES, INCLUDING, AMONG OTHERS, DAMAGES FOR LOSS OF BUSINESS PROFITS, BUSINESS INTERRUPTION, OR LOSS OF DATA, CORRUPTION OF SYSTEMS, OR LOSS OF DOCUMENTATION, WHETHER BASED ON BREACH OF CONTRACT, TORT (INCLUDING NEGLIGENCE), PRODUCT LIABILITY, OR OTHERWISE, IN CONNECTION WITH THE USE OF THE PRODUCT, EVEN IF OUR COMPANY HAS BEEN ADVISED OF THE POSSIBILITY OF SUCH DAMAGES OR LOSS. YOU ACKNOWLEDGE THAT THE NATURE OF INTERNET PROVIDES FOR INHERENT SECURITY RISKS, AND OUR COMPANY SHALL NOT TAKE ANY RESPONSIBILITIES FOR ABNORMAL OPERATION, PRIVACY LEAKAGE OR OTHER DAMAGES RESULTING FROM CYBER-ATTACK, HACKER ATTACK, VIRUS INFECTION, OR OTHER INTERNET SECURITY RISKS; HOWEVER, OUR COMPANY WILL PROVIDE TIMELY TECHNICAL SUPPORT IF REQUIRED.
YOU AGREE TO USE THIS PRODUCT IN COMPLIANCE WITH ALL APPLICABLE LAWS, AND YOU ARE SOLELY RESPONSIBLE FOR ENSURING THAT YOUR USE CONFORMS TO THE APPLICABLE LAW. ESPECIALLY, YOU ARE RESPONSIBLE, FOR USING THIS PRODUCT IN A MANNER THAT DOES NOT INFRINGE ON THE RIGHTS OF THIRD PARTIES, INCLUDING WITHOUT LIMITATION, RIGHTS OF PUBLICITY, INTELLECTUAL PROPERTY RIGHTS, OR DATA PROTECTION AND OTHER PRIVACY RIGHTS. YOU SHALL NOT USE THIS PRODUCT FOR ANY PROHIBITED END-USES, INCLUDING THE DEVELOPMENT OR PRODUCTION OF WEAPONS OF MASS DESTRUCTION, THE DEVELOPMENT OR PRODUCTION OF CHEMICAL OR BIOLOGICAL WEAPONS, ANY ACTIVITIES IN THE CONTEXT RELATED TO ANY NUCLEAR EXPLOSIVE OR UNSAFE NUCLEAR FUEL-CYCLE, OR IN SUPPORT OF HUMAN RIGHTS ABUSES.
IN THE EVENT OF ANY CONFLICTS BETWEEN THIS MANUAL AND THE APPLICABLE LAW, THE LATER PREVAILS.
Data Protection
During the use of device, personal data will be collected, stored and processed. To protect data, the development of our devices incorporates privacy by design principles. For example, for device with facial recognition features, biometrics data is stored in your device with encryption method; for fingerprint device, only fingerprint template will be saved, which is impossible to reconstruct a fingerprint image.
As data controller, you are advised to collect, store, process and transfer data in accordance with the applicable data protection laws and regulations, including without limitation, conducting security controls to safeguard personal data, such as, implementing reasonable administrative and physical security controls, conduct periodic reviews and assessments of the effectiveness of your security controls.
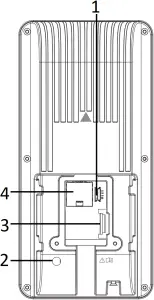
1 Appearance

- Loudspeaker
- microUSB Interface (Use micro USB to USB cable to connect with USB interface)
![]()
- Debugging Port (For debugging only)
- Tamper
- Wiring Terminal
- Network Interface

- Camera
- White Light
- IR Light
- Screen
- Fingerprint Module (Supported by parts of Device Models)
- Card Presenting Area
- Mic
- IR Light
The figures are for reference only.
This sticker means “Hot parts! Burned fingers when handling the parts. Wait one-half hour after switching off before handling parts.” It is to indicate that the marked item can be hot and should not be touched without taking care. For device with this sticker, this device is intended for installation in a restricted access location, access can only be gained by service persons or by users who have been instructed about the reasons for the restrictions applied to the location and about any precautions that shall be taken.
2 Installation
Installation Environment:
Indoor and outdoor installation are supported. If installing the device indoors, the device should be at least 2 meters away from the light, and at least 3 meters away from the window or the door. If installing the device outdoors, you should apply Silicone sealant among the cable wiring area to keep the raindrop from entering.
The additional force shall be equal to three times the weight of the equipment but not less than 50N. The equipment and its associated mounting means shall remain secure during the installation. After the installation, the equipment, including any associated mounting plate, shall not be damaged.



Backlight Direct Sunlight Direct Sunlight through Window

Indirect Sunlight through Window Close to Light
Wall Mounting
1 Make sure the gang box is installed on the wall.
You should purchase the gang box separately.

2 Use 2 supplied screws (SC-K1M4x6-SUS) to secure the base plate on the gang box.
Route the cables through the cable hole of the mounting plate, and connect to the corresponding external devices’ cables. Use another 4 supplied screws (KA4x22-SUS) to secure the mounting plate on the base plate.



3 Align the device with the mounting plate and hang the terminal on the mounting plate.

4 Use 1 supplied screw (SC-KM3X6-H2-SUS) to secure the device and the mounting plate.

5 Apply Silicone sealant among the joints between the device rear panel and the wall (except the lower side) to keep the raindrop from entering.
You can also install the device on the wall or other places without the gang box. For details, refer to the User Manual.

6 After installation, for the proper use of the device (outdoor use), stick the protection film (parts of models supplied) on the screen.
3 Wiring (Normal)

Use only power supplies listed in the user instructions:
Make sure the power supply is used indoors and the working temperature is between 0 and 40°C.
| Model | Manufacture | Standard |
| ADS-26FSG-12 12024EPG | Shenzhen Honor Electronic Co.,Ltd | PG |
| MSA-C2000IC12.0-24P-DE | MOSO Technology Co.,Ltd | PDE |
| ADS-26FSG-12 12024EPB | Shenzhen Honor Electronic Co.,Ltd | PB |
| ADS-26FSG-12 12024EPCU/EPC | Shenzhen Honor Electronic Co.,Ltd | PCU |
| ADS-26FSG-12 12024EPI-01 | Shenzhen Honor Electronic Co.,Ltd | PI |
| ADS-26FSG-12 12024EPBR | Shenzhen Honor Electronic Co.,Ltd | PBR |
![]()
- When connecting door contact and exit button, the device and the RS-485 card reader should use the same common ground connection.
- The Wiegand terminal here is a Wiegand input terminal. You should set the device’s Wiegand direction to “input”. If you should connect to an access controller, you should set the Wiegand direction to “Output”. For details, see the user manual.
- The suggested external power supply for door lock is 12 V, 1 A.
- The suggested external power supply for Wiegand card reader is 12 V, 1 A.
- For wiring the fire system see the user manul.
- Do not wire the device to the electric supply directly.
- If the interface for network connection is too large, you can use the supplied cable as shown below.
3.2 Wiring (With Secure Door Control Unit)

The secure door control unit should connect to an external power supply separately. The suggested external power supply is 12 V, 0.5 A.
4 Quick Operation
- Activation
Power on and wire the network cable after installation you should activate the device before the first login.
If the device is not activated yet, it will enter the Activate Device page after powering on.
Steps:
- Create a password and confirm the password.
- Tap Activate to activate the device.
For other activation methods, see the device user manual.
We highly recommend you to create a strong password of your own choosing (using a minimum of 8 characters, including at least three kinds of following categories: upper case letters, lower case letters, numbers, and special characters) in order to increase the security of your product. And we recommend you change your password regularly, especially in the high security system, changing the password monthly or weekly can better protect your product. Admin and nimda are not supported to be set as activation password.
- Set Application Mode
After activation you should select an application mode.
Select Indoor or Others from the drop-down list and tap OK.
If you install the device indoors near the window or the face recognition function is note working well, select Others.
- Set Language
Select a language from the drop-down list.
- Set Administrator
Steps:
- Enter the administrator’s name and tap Next.
- Select a credential to add. You can select face, fingerprint, or card.
- Tap OK.
5 Add Face Picture
- Use finger to hold the screen surface for 3 s and slide to right/left and enter the activation password to enter the Home page.
- Enter the User Management page, tap + to enter the Add User page.
- Set the user parameters according to actual needs.
Only the device with the fingerprint module support the fingerprint related functions. - Tap Face and add the face information according to the instructions.
You can view the captured picture on the screen, Make sure the face picture is in good quality and size.
For details about the tips and positions when collecting or comparing the face picture, see the contents on the right. - If the picture is in good condition, tap the
.
Or tap the
to take another face picture. - Tap the save icon to save the settings.
Go back to the initial page to start authentication.
For other authentication methods, see the device user manual.
User other authentication methods if the device is affected by the light or other items.
1:N Matching: The device will compare the captured face picture with the ones in the database.
1:1 Matching: The device will compare the captured face picture with the user linked face picture.
Biometric recognition products are not 100% applicable to anti-spoofing environments. If you require a higher security level, use multiple authentication modes.
Tips When Collecting/Comparing Face Picture
Expression

- Keep your expression naturally when collecting or comparing face pictures just like the expression in the picture on the right.
- Do not wear hat, sunglasses, or other accessories that can affect the facial recognition function.
- Do not make your hair cover your eyes, ears, etc. and heavy makeup is not allowed.
Posture
In order to get a good quality and accurate face picture position your face looking at the camera when collecting or comparing face picture.
Correct
Tilt
Side
Raise
Bow![]()




Size
Make sure your face is in the middle of the collecting window.
Correct
Too Close
Too Far![]()

Positions When Collecting/Comparing Face Picture
![]()

- Recommended Height: 1.43 m to 1.90 m
![]()

- Too High
- Too Low
![]()

- Too Close
![]()

- Too Far
Regulatory Information
FCC Information
Please take attention that changes or modification not expressly approved by the party responsible for compliance could void the user’s authority to operate the equipment.
FCC compliance: This equipment has been tested and found to comply with the limits for a Class B digital device, pursuant to part 15 of the FCC Rules. These limits are designed to provide reasonable protection against harmful interference in a residential installation. This equipment generates, uses and can radiate radio frequency energy and, if not installed and used in accordance with the instructions, may cause harmful interference to radio communications. However, there is no guarantee that interference will not occur in a particular installation. If this equipment does cause harmful interference to radio or television reception, which can be determined by turning the equipment off and on, the user is encouraged to try to correct the interference by one or more of the following measures:
– Reorient or relocate the receiving antenna.
– Increase the separation between the equipment and receiver.
– Connect the equipment into an outlet on a circuit different from that to which the receiver is connected.
– Consult the dealer or an experienced radio/TV technician for help.
This equipment should be installed and operated with a minimum distance 20cm between the radiator and your body.
FCC Conditions
This device complies with part 15 of the FCC Rules. Operation is subject to the following two conditions:
- This device may not cause harmful interference.
- This device must accept any interference received, including interference that may cause undesired operation.
This product and – if applicable – the supplied accessories too are marked with “CE” and comply therefore with the applicable harmonized European standards listed under the RE Directive 2014/53/EU, the EMC Directive 2014/30/EU, the RoHS Directive 2011/65/EU.
2006/66/EC (battery directive): This product contains a battery that cannot be disposed of as unsorted municipal waste in the European Union. See the product documentation for specific battery information. The battery is marked with this symbol, which may include lettering to indicate cadmium (Cd), lead (Pb), or mercury (Hg). For proper recycling, return the battery to your supplier or to a designated collection point. For more information see: www.recyclethis.info
2012/19/EU (WEEE directive): Products marked with this symbol cannot be disposed of as unsorted municipal waste in the European Union. For proper recycling, return this product to your local supplier upon the purchase of equivalent new equipment, or dispose of it at designated collection points. For more information see: www.recyclethis.info
Warning
- In the use of the product, you must be in strict compliance with the electrical safety regulations of the nation and region.
- CAUTION: To reduce the risk of fire, replace only with the same type and rating of fuse.
- CAUTION: This equipment is for use only with Hikvision’ s bracket. Use with other (carts, stands, or carriers) may result in instability causing injury.
- To prevent possible hearing damage, do not listen at high volume levels for long periods.
- Please use the power adapter, which is provided by normal company. The power consumption cannot be less than the required value.
- Do not connect several devices to one power adapter as adapter overload may cause over-heat or fire hazard.
- Please make sure that the power has been disconnected before you wire, install or dismantle the device.
- When the product is installed on wall or ceiling, the device shall be firmly fixed.
- If smoke, odors or noise rise from the device, turn off the power at once and unplug the power cable, and then please contact the service center.
- If the product does not work properly, please contact your dealer or the nearest service center. Never attempt to disassemble the device yourself. (We shall not assume any responsibility for problems caused by unauthorized repair or maintenance.)
Caution
- + identifies the positive terminal(s) of equipment which is used with, or generates direct current. + identifies the negative terminal(s) of equipment which is used with, or generates direct current.
- No naked flame sources, such as lighted candles, should be placed on the equipment.
- The USB port of the equipment is used for connecting to a USB flash drive only.
- The serial port of the equipment is used for debugging only.
- Burned fingers when handling the fingerprint sensor metal. Wait one-half hour after switching off before handling the parts.
- Install the equipment according to the instructions in this manual.
- To prevent injury, this equipment must be securely attached to the floor/wall in accordance with the installation instructions.
- Do not drop the device or subject it to physical shock, and do not expose it to high electromagnetism radiation.
- Avoid the equipment installation on vibrations surface or places subject to shock (ignorance can cause equipment damage).
- Do not place the device in extremely hot (refer to the specification of the device for the detailed operating temperature), cold, dusty or damp locations, and do not expose it to high electromagnetic radiation.
- The device cover for indoor use shall be kept from rain and moisture.
- Exposing the equipment to direct sun light, low ventilation or heat source such as heater or radiator is forbidden (ignorance can cause fire danger).
- Do not aim the device at the sun or extra bright places. A blooming or smear may occur otherwise (which is not a malfunction however), and affecting the endurance of sensor at the same time.
- Please use the provided glove when open up the device cover, avoid direct contact with the device cover, because the acidic sweat of the fingers may erode the surface coating of the device cover.
- Please use a soft and dry cloth when clean inside and outside surfaces of the device cover, do not use alkaline detergents.
- Please keep all wrappers after unpack them for future use. In case of any failure occurred, you need to return the device to the factory with the original wrapper.
- Transportation without the original wrapper may result in damage on the device and lead to additional costs.
- Improper use or replacement of the battery may result in hazard of explosion. Replace with the same or equivalent type only. Dispose of used batteries according to the instructions provided by the battery manufacturer.
- Biometric recognition products are not 100% applicable to anti-spoofing environments. If you require a higher security level, use multiple authentication modes.
- Please make sure that the biometric recognition accuracy will be affected by the collected pictures’ quality and the light in the environment, which cannot be 100% correct.




![Hikvision Ds-k1t671 Series Face Recognition Terminal [ud15607b-a] User Manual Hikvision Ds-k1t671 Series Face Recognition Terminal [ud15607b-a] User Manual](https://static-data1.manualsee.com/1/img/170/17304/2020/12/Hikvision-DS-K1T671-Series-Face-Recognition-Terminal.jpg)














