ACCLAIM LIGHTING IN40090 Light 5 Inch Matte Black and Polished Nickel Vanity Light Wall Light

INSTALLATION INSTRUCTIONS
Please read carefully and save these instructions, as you may need them at a later date.
CAUTION
WARNING: Risk of Fire. Consult a qualified electrician to ensure correct branch circuit conductor. Min 90ºC supply conductors.
Turn off the main power at the circuit breaker before installing the fixture, in order to prevent
possible shoe
GENERAL
All electrical connections must be in accordance with local and National Electrical Code (N.E.C.) standards. If you are unfamiliar with proper electrical wiring connections obtain the services of a qualified electrician.
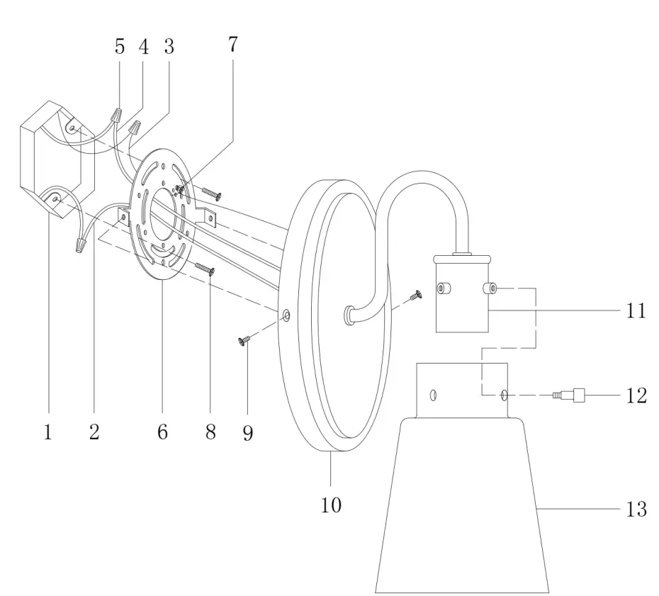
Remove the fixture and the mounting package from the box and make sure that no parts are missing by referencing the illustrations on the installation instructions.
ASSEMBLY AND INSTALLATION
- Secure the mounting plate (6) to the outlet box (1) with mounting screw (8).
- Pull out the outlet wire and ground wire from the outlet box (1). Make wire connections. –Ribbed wire (w/o marking) from light to White wire (2) from power source. –Smooth wire (w/o marking) from light to Black wire (4) from power source. –Loop the ground wire (3) to mounting plate (6) with a ground screw (7).
- Attach the back plate (10) against the outlet box (1), secure with the screws (9).
- Slide the glass shade (13) over the socket cap (11) and secure with the knob (12).
- Install bulbs: (bulbs not included) (Do not exceed the maximum capacity recommended on the sockets).

- OUTLET BOX
- WHITE WIRE
- GROUND WIRE
- BLACK WIRE
- WIRE CONNECTOR
- MOUNTING PLATE
- GROUND SCREW
- MOUNTING SCREW
- SCREWS
- BACK PLATE
- SOCKET CAP
- KNOB
- GLASS SHADE
INSTALLATION IS NOW COMPLETE
CUSTOMER SUPPORT
- 500 Cherokee Parkway, Suite 100, Acworth, GA 30102 P: 866-845-5451
- F: 866-816-6165
- E: www.acclaim-lighting.com
- www.acclaim-lighting.com

















