
Fridge – Freezer / User Manual

GN130FW
GN130FB
GN130FI
Thank you for choosing this product.
This user manual contains important information on safety and instructions intended to assist you in the operation and maintenance of your appliance.
Please take the time to read this user manual before using your appliance and keep this book for future reference.
Icon | Type | Meaning |
| WARNING | Serious injury or death risk | |
| RISK OF ELECTRIC SHOCK | Dangerous voltage risk | |
![]() | FIRE | Warning; Risk of fire / flammable materials |
![]() | CAUTION | Injury or property damage risk |
| IMPORTANT | Operating the system correctly |
SAFETY INSTRUCTIONS
1.1 General Safety Warnings
Read this user manual carefully.
WARNING: Keep ventilation openings, in the appliance enclosure or in the built-in structure, clear of obstruction.
WARNING: Do not use mechanical devices or other means to accelerate the defrosting process, other than those recommended by the manufacturer.
WARNING: Do not use electrical appliances inside the food storage compartments of the appliance, unless they are of the type recommended by the manufacturer.
WARNING: Do not damage the refrigerant circuit.
WARNING: When positioning the appliance, ensure the supply cord is not trapped or damaged.
WARNING: Do not locate multiple portable socket outlets or portable power supplies at the rear of the appliance.
WARNING: In order to avoid any hazards resulting from the instability of the appliance, it must be fixed in accordance with the instructions. If your appliance uses R600a as a refrigerant (this information will be provided on the label of the cooler) you should take care of it during transportation and installation to prevent the cooler elements from being damaged. R600a is an environmentally friendly and natural gas, but it is explosive. In the event of a leak due to damage of the cooler elements, move your fridge away from open flames or heat sources and ventilate the room where the appliance is located for a few minutes.
- While carrying and positioning the fridge, do not damage the cooler gas circuit.
- Do not store explosive substances such as aerosol cans with a flammable propellant in this appliance.
- This appliance is intended to be used in household and domestic applications such as:
– staff kitchen areas in shops, offices, and other working environments.
– farmhouses and by clients in hotels, motels, and other residential type environments.
– bed and breakfast type environments;
– catering and similar non-retail applications. - If the socket does not match the refrigerator plug, it must be replaced by the manufacturer, a service agent, or similarly qualified persons in order to avoid a hazard.
- A specially grounded plug has been connected to the power cable of your refrigerator. This plug should be used with a specially grounded socket of 16 amperes. If there is no such socket in your house, please have one installed by an authorized electrician.
- This appliance can be used by children aged 8 years and above and persons with reduced physical, sensory or mental capabilities or lack of experience and knowledge if they have been given supervision or instruction concerning the use of the appliance in a safe way and understand the hazards involved. Children shall not play with the appliance. Cleaning and user maintenance shall not be made by children without supervision.
- Children aged from 3 to 8 years are allowed to load and unload refrigerating appliances. Children are not expected to perform cleaning or user maintenance of the appliance, very young children (0-3 years old) are not expected to use appliances, young children (3-8 years old) are not expected to use appliances safely unless continuous supervision is given, older children (8-14 years old) and vulnerable people can use appliances safely after they have been given appropriate supervision or instruction concerning use of the appliance. Very vulnerable people are not expected to use appliances safely unless continuous supervision is given.
- If the supply cord is damaged, it must be replaced by the manufacturer, an authorized service agent, or similarly qualified persons, in order to avoid a hazard.
- This appliance is not intended for use at altitudes exceeding 2000 m.
To avoid contamination of food, please respect the following instructions:
- Opening the door for long periods can cause a significant increase in the temperature in the compartments of the appliance.
- Clean regularly surfaces that can come in contact with food and accessible drainage systems
- Store raw meat and fish in suitable containers in the refrigerator, so that it is not in contact with or drip onto other food.
- Two-star frozen-food compartments are suitable for storing pre-frozen food, storing or making ice cream, and making ice cubes.
- One-, two- and three-star compartments are not suitable for the freezing of fresh food.
- If the refrigerating appliance is left empty for long periods, switch off, defrost, clean, dry, and leave the door open to prevent mold from developing within the appliance.
1.2 Installation warnings
Before using your fridge freezer for the first time, please pay attention to the following points:
- The operating voltage for your fridge freezer is 220-240 V at 50Hz.
- The plug must be accessible after installation
- Your fridge freezer may have an odor when it is operated for the first time. This is normal and the odor will fade when your fridge freezer starts to cool.
- Before connecting your fridge freezer, ensure that the information on the data plate (voltage and connected load) matches that of the mains electricity supply. If in doubt, consult a qualified electrician.
- Insert the plug into a socket with an efficient ground connection. If the socket has no ground contact or the plug does not match, we recommend you consult a qualified electrician for assistance.
- The appliance must be connected with a properly installed fused socket. The power supply (AC) and voltage at the operating point must match with the details on the nameplate of the appliance (the nameplate is located on the inside left of the appliance).
- We do not accept responsibility for any damages that occur due to ungrounded usage.
- Place your fridge freezer where it will not be exposed to direct sunlight.
- Your fridge freezer must never be used outdoors or exposed to rain.
- Your appliance must be at least 50 cm away from stoves, gas ovens, and heater cores, and at least 5 cm away from electrical ovens.
- If your fridge freezer is placed next to a deep freezer, there must be at least 2 cm between them to prevent humidity forming on the outer surface.
- Do not cover the body or top of fridge freezer with lace. This will affect the performance of your fridge freezer.
- Clearance of at least 150 mm is required at the top of your appliance. Do not place anything on top of your appliance.
- Do not place heavy items on the appliance.
- Clean the appliance thoroughly before use (see Cleaning and Maintenance).
- Before using your fridge freezer, wipe all parts with a solution of warm water and a teaspoon of sodium bicarbonate. Then, rinse with clean water and dry. Return all parts to the fridge freezer after cleaning.
- Use the adjustable front legs to make sure your appliance is level and stable.You can adjust the legs by turning them in either direction. This must be done before placing food in the appliance.
- Install the two plastic distance guides (the parts on the black vanes -condenser- at the rear) by turning it 90° (as shown in the figure) to prevent the condenser from touching the wall.

- The distance between the appliance and back wall must be a

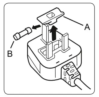
The mains lead of this appliance has been fitted with a BS 1363A 13A fused plug. To change a fuse in this type of plug, follow the steps below:
- Remove the fuse cover and fuse.
- Fit replacement 13A fuse, ASTA approved to BS 1362 type, into the fuse cover.
- Replace fuse cover.
- maximum of 75 mm. 1.4 During Usage
- Do not connect your fridge freezer to the mains electricity supply using an extension lead.
- Do not use damaged, torn, or old plugs.
- Do not pull, bend or damage the cord.
- Do not use a plug adapter.
- This appliance is designed for use by adults. Do not allow children to play with the appliance or hang off the door.
- Never touch the power cord/plug with wet hands. This may cause a short circuit or electric shock.
- Do not place glass bottles or cans in the ice-making compartment as they will burst when the contents freeze.
- Do not place explosive or flammable material in your fridge. Place drinks with high alcohol content vertically in the fridge compartment and make sure their tops are tightly closed.
- When removing ice from the ice-making compartment, do not touch it. Ice may cause frost burns and/or cuts.
- Do not touch frozen goods with wet hands. Do not eat ice cream or ice cubes immediately after they are removed from the ice-making compartment.
- Do not re-freeze thawed frozen food. This may cause health issues such as food poisoning.
Old and Out-of-order Fridges - If your old fridge or freezer has a lock, break or remove the lock before discarding it, because children may get trapped inside it and may cause an accident.
- Old fridges and freezers contain isolation material and refrigerant with CFC. Therefore, take care not to harm the environment when you are discarding your old fridges.
CE Declaration of conformity
We declare that our products meet the applicable European Directives, Decisions, and Regulations and the requirements listed in the standards referenced.
Disposal of your old appliance
The symbol on the product or on its packaging indicates that this product may not be treated as household waste. Instead, it shall be handed over to the applicable collection point for the recycling of electrical and electronic equipment. By ensuring this product is disposed of correctly, you will help prevent potential negative consequences for the environment and human health, which could otherwise be caused by inappropriate waste handling of this product. For more detailed information about the recycling of this product, please contact your local city office, your household waste disposal service, or the shop where you purchased the product.
Packaging and the Environment
Packaging materials protect your machine from damage that may occur during transportation.
The packaging materials are environmentally friendly as they are recyclable.
The use of recycled material reduces raw material consumption and therefore decreases waste production.
Notes:
- Please read the instruction manual carefully before installing and using your appliance. We are not responsible for the damage that occurred due to misuse.
- Follow all instructions on your appliance and instruction manual, and keep this manual in a safe place to resolve the problems that may occur in the future.
- This appliance is produced to be used in homes and it can only be used in domestic environments and for specified purposes. It is not suitable for commercial or common use. Such use will cause the guarantee of the appliance to be canceled and our company will not be responsible for any losses incurred.
- This appliance is produced to be used in houses and it is only suitable for cooling / storing foods. It is not suitable for commercial or common use and/or for storing substances except for food. Our company is not responsible for any losses incurred by inappropriate usage of the appliance.
DESCRIPTION OF THE APPLIANCE
This appliance is not intended to be used as a built-in appliance.

This presentation is only for information about the parts of the appliance. Parts may vary according to the appliance model.
A) Freezer compartment
B) Refrigerator compartment
1) Thermostat box
2) “Door Open” indicator
3) Refrigerator shelf
4) Crisper cover
5) Crisper
6) Levelling feet
7) Bottle shelf
8) Door shelves
9) Plastic ice scraper *
10) Icebox tray
11) Egg holder
* In some models
General notes:
Fresh Food Compartment (Fridge):
Most efficient use of energy is ensured in the configuration with the drawers in the bottom part of the appliance, and shelves evenly distributed, the position of door bins does not affect energy consumption.
Freezer Compartment (Freezer):
Most Efficient use of energy is ensured in the configuration with the drawers and bins are on stock position.
2.1 Dimensions

Overall dimensions 1 | ||
| H1 | mm | 838 |
| W1 | mm | 540 |
| D1 | mm | 595 |
| 1 the height, width, and depth of the appliance without the handle. | ||
| Space required in use 2 | ||
| H2 | mm | 988 |
| W2 | mm | 640 |
| D2 | mm | 692,8 |
| 2 the height, width, and depth of the appliance including the handle, plus the space necessary for free circulation of the cooling air. | ||
| Overall space required in use 3 | ||
| W3 | mm | 658,5 |
| D3 | mm | 1134,5 |
| 3 the height, width, and depth of the appliance including the handle, plus the space necessary for free circulation of the cooling air, plus the space necessary to allow door opening to the minimum angle permitting removal of all internal equipment. | ||
USING THE APPLIANCE
“Door Open” Indicator;
The “Door Open” indicator on the handle shows whether the door has closed properly or whether it remains open.
If the indicator is red, the door is still open. If the indicator is white, the door is properly closed.

The freezer door should always be kept closed. This will prevent food products from defrosting. Any heavy ice and frost build-up inside the freezer, and an unnecessary increase in energy consumption, will be avoided.
3.1 Thermostat Setting
The thermostat automatically regulates the temperature inside the cooler and freezer compartments. Refrigerator temperatures can be obtained by rotating the knob to higher numbers; 1 to 3, 1 to 5, or SF (Maximum numbers on the thermostat depends on your product.)
Important note: Do not try to rotate the knob beyond position 1, it will stop your appliance from working.

Thermostat settings:
1 – 2: For short-term storage of food
3 – 4: For long-term storage of food
5: Maximum cooling position. The appliance will work longer.If required, change the temperature setting.
If the device has SF position:
• Turn the knob to SF to freeze fresh food quickly. In this position, the freezer compartment will operate at lower temperatures. After your food freezes, turn the thermostat knob to its normal use position. If you do not change the SF position, your appliance work will automatically return to its last-used thermostat position according to the time indicated in the note. Return the thermostat switch to the SF position and return it to normal use according to the time indicated in the note. If the thermostat switch is in the SF position when your appliance is first started, your appliance work will automatically return to the operation in the thermostat-3 position according to the time indicated in the note.
If Super Switch is available:

- Normally set this switch to ‘0’/ ‘ ‘ position. Except when the ambient temperature is low like in winter. (ie.below 16°C) or when the freezer temperature needs to be maintained lower. In that case, turn the switch to ‘1’ / ‘ ‘ position ON.
- To set the super switch ON that is on the thermostat box, press the switch down to ‘1’ / ‘ ‘ position. The switch will lit.
- When the freezer compartment is cooled down to sufficient temperature, or the weather gets hot, turn the super switch off to save electrical consumption.
- When you first switch on the appliance, for starting a suitable cooling, the appliance should work 24 hours continuously until it cools down to sufficient temperature.
- In this time do not open the door so often and place a lot of food inside the appliance.
If the unit is switched off or unplugged, you must allow at least 5 minutes before restarting or re-plugged the unit in order not to damage the compressor.
Super freezing: This switch shall be used as a super freeze switch. For maximum freezing capacity, please turn on this switch before 24 hours placing fresh food. After placing fresh food in the freezer, 24 hours ON position is generally sufficient. In order to save energy, please turn off this switch after 24 hours of placing fresh food.
Winter Switch: If the ambient temperature is below 16o C, this switch shall be used as a winter switch and it keeps your fridge above 0 o C while the freezer is below -18 o C in low ambiance.
3.2 Temperature Settings Warnings
- Your appliance is designed to operate in the ambient temperature ranges stated in the standards, according to the climate class stated in the information label.
It is not recommended that your fridge is operated in the environments which are outside of the stated temperature ranges.
This will reduce the cooling efficiency of the appliance. - Temperature adjustments should be made according to the frequency of door openings, the quantity of food kept inside the appliance, and the ambient temperature in the location of your appliance.
- When the appliance is first switched on, allow it to run for 24 hours in order to reach operating temperature. During this time, do not open the door and do not keep a large quantity of food inside.
- A 5-minute delay function is applied to prevent damage to the compressor of your appliance when connecting or disconnecting to mains, or when an energy breakdown occurs. Your appliance will begin to operate normally after 5 minutes.
Climate class and meaning: T (tropical): This refrigerating appliance is intended to be used at ambient temperatures ranging from 16 °C to 43 °C.
ST (subtropical): This refrigerating appliance is intended to be used at ambient temperatures ranging from 16 °C to 38 °C.
N (temperate): This refrigerating appliance is intended to be used at ambient temperatures ranging from 16 °C to 32 °C.
SN (extended temperate): This refrigerating appliance is intended to be used at ambient temperatures ranging from 10 °C to 32 °C.
3.3 Accessories
Visual and text descriptions in the accessories section may vary according to the model of your appliance.
3.3.1 Ice Tray (In some models)
- Fill the ice tray with water and place it in the freezer compartment.
- After the water has completely frozen, you can twist the tray as shown below to remove the ice cubes.

3.3.2 The Plastic Scraper (In some models)

After some time, frost will build up in certain areas of the freezer. The frost accumulated in the freezer should be removed regularly.
Use the plastic scraper provided, if necessary. Do not use sharp metal objects for this operation. They could puncture the refrigerator circuit and cause irreparable
damage to the unit.
Visual and text descriptions in the accessories section may vary according to the model of your appliance.
FOOD STORAGE
4.1 Refrigerator Compartment
- To reduce humidity and avoid the consequent formation of frost, always store liquids in sealed containers in the refrigerator. Frost tends to concentrate in the coldest parts of the evaporating liquid and, in time, your appliance will require more frequent defrosting.
- Cooked dishes must remain covered when they are kept in the fridge. Do not place warm foods in the fridge.
Place them when they are cool, otherwise, the temperature/humidity inside the fridge will increases, reducing the fridge’s efficiency. - Make sure no items are in direct contact with the rear wall of the appliance as frost will develop and packaging will stick to it. Do not open the refrigerator door frequently.
- We recommend that meat and clean fish are loosely wrapped and stored on the glass shelf just above the vegetable bin where the air is cooler, as this provides the best storage conditions.
- Store loose fruit and vegetable items in crisper containers.
- Storing fruit and vegetables separately helps prevent ethylene-sensitive vegetables (green leaves, broccoli, carrot, etc.) from being affected by ethylene releaser fruits (banana, peach, apricot, fig, etc.).
- Do not put wet vegetables into the refrigerator.
- Storage time for all food products depends on the initial quality of the food and an uninterrupted refrigeration cycle before refrigerator storage.
- Water leaking from meat may contaminate other products in the refrigerator. You should package meat products and clean any leakages on the shelves.
- Do not put food in front of the airflow passage.
- Consume packaged foods before the recommended expiry date. Do not allow food to come into contact with the temperature sensor, which is located in the refrigerator compartment, in order to keep the refrigerator compartment at optimum temperature.
- For normal working conditions, it will be sufficient to adjust the temperature setting of your refrigerator to +4 °C.
- The temperature of the fridge compartment should be in the range of 0-8 °C, fresh foods below 0 °C are iced and rotted bacterial load increases above 8 °C and spoils.
- Do not put hot food in the refrigerator immediately, wait for the temperature to pass outside. Hot foods increase the degree of your refrigerator and cause food poisoning and unnecessary spoiling of the food.
- Meat, fish, etc. should be stored in the chiller compartment of the food, and the vegetable compartment is preferred for vegetables. (if available)
- To prevent cross-contamination, meat products, and fruit vegetables are not stored together.
- Foods should be placed in the refrigerator in closed containers or covered to prevent moisture and odors.
The table below is a quick guide to show you the most efficient way to store the major food groups in your refrigerator compartment.
Food | Maximum storage time | How and where to store |
| Vegetables and fruits | 1 week | Vegetable bin |
| Meat and fish | 2 – 3 days | Wrap in plastic foil, bags, or in a meat container and store on the glass shelf |
| Fresh cheese | 3 – 4 days | On the designated door shelf |
| Butter and margarine | 1 week | On the designated door shelf |
| Bottled products e.g. milk and yogurt | Until the expiry date recommended by the producer | On the designated door shelf |
| Eggs | 1 month | On the designated egg shelf |
| Cooked food | 2 days | All shelves |
NOTE:
Potatoes, onions, and garlic should not be stored in the refrigerator.
4.2 Freezer Compartment
- The freezer is used for storing frozen food, freezing fresh food, and making ice cubes.
- Food in liquid form should be frozen in plastic cups and other food should be frozen in plastic folios or bags. For freezing fresh food; wrap and seal fresh food properly, that is the packaging should be air-tight and shouldn’t leak. Special freezer bags, aluminum foil polythene bags, and plastic containers are ideal.
- Do not store fresh food next to frozen food as it can thaw the frozen food.
- Before freezing fresh food, divide it into portions that can be consumed in one sitting.
- Consume thawed frozen food within a short period of time after defrosting
- Always follow the manufacturer’s instructions on food packaging when storing frozen food. If no information is provided food, should not be stored for more than 3 months from the date of purchase.
- When purchasing frozen food, make sure that it has been stored under appropriate conditions and that the packaging is not damaged.
- Frozen food should be transported in appropriate containers and placed in the freezer as soon as possible.
- Do not purchase frozen food if the packaging shows signs of humidity and abnormal swelling. It is probable that it has been stored at an unsuitable temperature and that the contents have deteriorated.
- The storage life of frozen food depends on the room temperature, the thermostat setting, how often the door is opened, the type of food, and the length of time required to transport the product from the shop to your home. Always follow the instructions printed on the packaging and never exceed the maximum storage life indicated.
- If the freezer door has been left open for a long time or is not closed properly, frost will form and can prevent efficient air circulation. To resolve this, unplug the freezer and wait for it to defrost. Clean the freezer once it has fully defrosted.
- The freezer volume stated on the label is the volume without baskets, covers, and so on.
- Do not refreeze thawed food. It may pose a danger to your health and cause problems such as food poisoning.
NOTE: If you attempt to open the freezer door immediately after closing it, you will find that it will not open easily. This is normal. Once equilibrium has been reached, the door will open easily.
The table below is a quick guide to show you the most efficient way to store the major food groups in your freezer compartment.
Meat and fish | Preparation | Maximum storage time (months) |
| Steak | Wrap in foil | 6 – 8 |
| Lamb meat | Wrap in foil | 6 – 8 |
| Veal roast | Wrap in foil | 6 – 8 |
| Veal cubes | In small pieces | 6 – 8 |
| Lamb cubes | In pieces | 4 – 8 |
| Minced meat | In packaging without using spices | 1 – 3 |
| Giblets (pieces) | In pieces | 1 – 3 |
| Bologna sausage/salami | Should be kept packaged even if it has a membrane | 1 – 3 |
| Chicken and turkey | Wrap in foil | 4 – 6 |
| Goose and duck | Wrap in foil | 4 – 6 |
| Deer, rabbit, wild boar | In 2.5 kg portions or as fillets | 6 – 8 |
| Freshwater fish (Salmon, Carp, Crane, Catfish) | After cleaning the bowels and scales of the fish, wash and dry it. If necessary, remove the tail and head. | 2 |
| Lean fish (Bass, Turbot, Flounder) | 4 | |
| Fatty fishes (Tuna, Mackerel, Bluefish, Anchovy) | 2 – 4 | |
| Shellfish | Clean and in a bag | 4 – 6 |
| Caviar | In its packaging, or in an aluminum or plastic container | 2 – 3 |
| Snails | In salty water, or in an aluminum or plastic container | 3 |
Vegetables and Fruits | Preparation | Maximum storage time (months) |
| String beans and beans | Wash, cut into small pieces, and boil in water | 10 – 13 |
| Beans | Hull, wash, and boil in water | 12 |
| Cabbage | Clean and boil in water | 6 – 8 |
| Carrot | Clean, cut into slices, and boil in water | 12 |
| Pepper | Cut the stem, cut into two pieces, remove the core, and boil in water | 8 – 10 |
| Spinach | Wash and boil in water | 6 – 9 |
| Cauliflower | Remove the leaves, cut the heart into pieces and leave it in water with a little lemon juice for a while | 10 – 12 |
| Eggplant | Cut into pieces of 2cm after washing | 10 – 12 |
Vegetables and Fruits | Preparation | Maximum storage time (months) |
| Corn | Clean and pack with its stem or as sweet corn | 12 |
| Apple and pear | Peel and slice | 8 – 10 |
| Apricot and Peach | Cut into two pieces and remove the stone | 4 – 6 |
| Strawberry and Blackberry | Wash and hull | 8 – 12 |
| Cooked fruits | Add 10 % of sugar to the container | 12 |
| Plum, cherry, sourberry | Wash and hull the stems | 8 – 12 |
| Maximum storage time (months) | Thawing time at room temperature (hours) | Thawing time in the oven (minutes) | |
| Bread | 4 – 6 | 2 – 3 | 4-5 (220-225 °C) |
| Biscuits | 3 – 6 | 1 – 1,5 | 5-8 (190-200 °C) |
| Pastry | 1 – 3 | 2 – 3 | 5-10 (200-225 °C) |
| Pie | 1 – 1,5 | 3 – 4 | 5-8 (190-200 °C) |
| Phyllo dough | 2 – 3 | 1 – 1,5 | 5-8 (190-200 °C) |
| Pizza | 2 – 3 | 2 – 4 | 15-20 (200 °C) |
Dairy products | Preparation | Maximum storage time(months) | Storage conditions |
| Packet (Homogenized) Milk | In its own packet | 2 – 3 | Pure Milk – in its own packet |
| Cheese – excluding white cheese | In slices | 6 – 8 | Original packaging may be used for short-term storage. Keep wrapped in foil for longer periods. |
| Butter, margarine | In its packaging | 6 |
CLEANING AND MAINTENANCE
Disconnect the unit from the power supply before cleaning.
Do not wash your appliance by pouring water on it.
Do not use abrasive products, detergents, or soaps for cleaning the appliance. After washing, rinse with clean water and dry carefully. When you have finished cleaning, reconnect the plug to the mains supply with dry hands.
- Make sure that no water enters the lamp housing and other electrical components.
- The appliance should be cleaned regularly using a solution of bicarbonate of soda and lukewarm water.
- Clean the accessories separately by hand with soap and water. Do not wash accessories in a dishwasher.
- Clean the condenser with a brush at least twice a year. This will help you to save on energy costs and increase productivity.
![]()
The power supply must be disconnected during cleaning.
5.1 Defrosting
Defrosting the Refrigerator Compartment

- Defrosting occurs automatically in the refrigerator compartment during operation. The water is collected by the evaporation tray and evaporates automatically.
- The evaporation tray and the water drain hole should be cleaned periodically with the defrost drain plug to prevent the water from collecting at the bottom of the refrigerator instead of flowing out.
- You can also clean the drain hole by pouring half a glass of water down it. Freezer defrosting process
- Small amounts of frost will accumulate inside the freezer, depending on the length of time the door may be left open or the amount of moisture introduced.
It is essential to ensure that no frost or ice is allowed to form in places where it will affect the close-fitting of the door seal. This might allow air to penetrate the cabinet, encouraging continuous running of the compressor. Thin frost formation is quite soft and can be removed with a brush or plastic scraper. Do not use metal or sharp scrapers, mechanical devices, or other means to accelerate the defrosting process. Remove all dislodged frost from the cabinet floor. It is not necessary to
switch off the appliance for the removal of thin frost. - For the removal of heavy ice deposits, disconnect the appliance from the mains supply, empty the contents into cardboard boxes and wrap them in thick blankets or layers of paper to keep cool.
Defrosting will be most effective if carried out when the freezer is nearly empty and should be carried out as quickly as possible to prevent an unnecessary increase in the temperature of the contents. - Do not use metal or sharp scrapers, mechanical devices, or other means to accelerate the defrosting process. An increase in the temperature of frozen food during defrosting will shorten the storage life. Keep contents well wrapped and cool while defrosting is taking place.

- Dry the inside of the compartment with a sponge or a clean cloth.
- To accelerate the defrosting process, place one or more bowls of warm water in the freezer compartment.
- Examine the contents when replacing them in the freezer and if some of the packages have thawed out, they should be eaten within 24hours, or be cooked and re-frozen.
- After defrosting is complete, clean the inside of the appliance with a solution of warm water and a little bicarbonate of soda, then dry thoroughly. Wash all removable parts in the same way and reassemble. Reconnect the appliance to the mains supply and leave for 2 to 3 hours on setting number MAX before introducing the food back into the freezer.
Replacing LED Lighting
To replace any of the LEDs, please contact the nearest Authorised Service Centre.
Note: The numbers and location of the LED strips may change according to the model.
SHIPMENT AND REPOSITIONING
6.1 Transportation and Changing Positioning
- The original packaging and foam may be kept for re-transportation (optional).
- Fasten your appliance with thick packaging, bands, or strong cords and follow the instructions for transportation on the packaging.
- Remove all movable parts or fix them into the appliance against shocks using bands when repositioning or transporting.
Always carry your appliance in the upright position.
6.2 Repositioning the Door
- It is not possible to change the opening direction of your appliance door if door handles are installed on the front surface of the appliance door.
- It is possible to change the opening direction of the door on models with Handel on the side of the door or without handles.
- If the door-opening direction of your appliance can be changed, contact the nearest Authorised Service Centre to change the opening direction.
BEFORE CALLING AFTERSALES SERVICE
If you are experiencing a problem with your appliance, please check the following before contacting the after-sales service.
Your appliance is not operating
Check if:
- There is power
- The plug is correctly placed in the socket
- The plug fuse or the mains fuse has blown
- The socket is defective. To check this, plug another working appliance into the same socket.
The appliance performs poorly Check if:
- The appliance is overloaded
- The appliance door is closed properly
- There is any dust on the condenser
- There is enough space near the rear and sidewalls.
Your appliance is operating noisily Normal noises Cracking noise occurs:
- During automatic defrosting
- When the appliance is cooled or warmed (due to expansion of appliance material).
Short cracking noise occurs: When the thermostat switches the compressor on/off.
Motor noise: Indicates the compressor is operating normally. The compressor may cause more noise for a short time when it is first activated.
Bubbling noise and splash occurs: Due to the flow of the refrigerant in the tubes of the system.
Water flowing noise occurs: Due to water flowing to the evaporation container. This noise is normal during defrosting.
Air blowing noise occurs: In some models during normal operation of the system due to the circulation of air.
The edges of the appliance in contact with the door joint are warm
Especially during summer (warm seasons), the surfaces in contact with the door joint may become warmer during the operation of the compressor, this is normal.
There is a build-up of humidity inside the appliance Check if:
- All food is packed properly. Containers must be dry before being placed in the appliance.
- The appliance door is opened frequently.
The humidity of the room enters the appliance when the doors are opened. Humidity increases faster when the doors are opened more frequently, especially if the humidity of the room is high.
The door does not open or close properly Check if:
- There is food or packaging preventing the door from closing
- The door joints are broken or torn
- Your appliance is on a level surface.
Recommendations
- If the appliance is switched off or unplugged, wait at least 5 minutes before plugging the appliance in or restarting it in order to prevent damage to the compressor.
- If you will not use your appliance for a long time (e.g. in the summer holidays) unplug it.
Clean your appliance according to chapter cleaning and leave the door open to prevent humidity and smell. - If a problem persists after you have followed all the above instructions, please consult the nearest authorized service center.
- The appliance you have purchased is designed for domestic use only. It is not suitable for commercial or common use.
If the consumer uses the appliance in a way that does not comply with this, we emphasise that the manufacturer and the dealer will not be responsible for any repair and failure within the guarantee period.
TIPS FOR SAVING ENERGY
- Install the appliance in a cool, well-ventilated room, but not in direct sunlight and not near a heat source (such as a radiator or oven) otherwise an insulating plate should be used.
- Allow warm food and drinks to cool before placing them inside the appliance.
- Place thawing food in the refrigerator compartment if available. The low temperature of the frozen food will help cool the refrigerator compartment while the food is thawing. This will save energy. Frozen food left to thaw outside of the appliance will result in a waste of energy.
- Drinks or other liquids should be covered when inside the appliance. If left uncovered, the humidity inside the appliance will increase, therefore the appliance uses more energy. Keeping drinks and other liquids covered helps preserve their smell and taste.
- Avoid keeping the doors open for long periods and opening the doors too frequently as warm air will enter the appliance and cause the compressor to switch on unnecessarily often.
- Keep the covers of the different temperature compartments (such as the crisper and chiller if available) closed.
- The door gasket must be clean and pliable. In case of wear, replace the gasket.
TECHNICAL DATA
The technical information is situated in the rating plate on the internal side of the appliance and on the energy label. The QR code on the energy label supplied
with the appliance provides a web link to the information related to the performance of the appliance in the EU EPREL database.
Keep the energy label for reference together with the user manual and all other documents provided with this appliance.
It is also possible to find the same information in EPREL using the link https://eprel.ec.europa.eu and the model name and product number that you find on the rating plate, the appliance.
See the link www.thenergylabel.eu for detailed information about the energy label.
INFORMATION FOR TEST INSTITUTES
Appliance for any EcoDesign verification shall be compliant with EN 62552.
Ventilation requirements, recess dimensions, and minimum rear clearances shall be as stated in this User Manual in Chapter 2.
Please contact the manufacturer for any other further information, including loading plans.
CUSTOMER CARE AND SERVICE
Always use original spare parts.
When contacting our Authorised Service
Centre, ensure that you have the following data available: Model, Serial Number, and Service Index.
The information can be found on the rating plate. You can find the rating label inside the fridge zone on the left lower side.
The original spare parts for some specific components are available for a minimum of 7 or 10 years, based on the type of component, from the placing on the market of the last unit of the model.
Visit our website to: https://venturamalta.com/

![]()



















