ML10 Discovery Night Monoculars with Tripod
User Manual

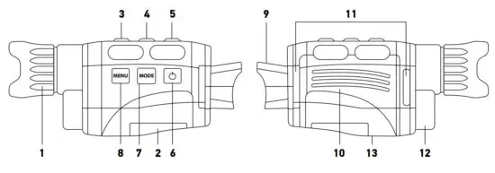
![]()

| 1. Focusing wheel | 8. the MENU button |
| 2. USB and microSD slots | 9. Eyepiece |
| 3. IR UP button | 10. Battery compartment |
| 4. IR DOWN button | 11. Strap hooks |
| 5. SHOT button | 12. IR filter |
| 6. POWER button | 13. Tripod adapter |
| 7. MODE button |
Never, under any circumstances, look directly at the Sun, another bright source of light, or at a laser through this device, as it may cause PERMANENT RETINAL DAMAGE and may lead to BLINDNESS.
The kit includes a night vision device, tripod, Mini USB 2.0 cable, MicroSD card 32GB, strap, and user manual.
| Magnification, x | 1—4 (digital), 13 (optical) |
| Objective lens diameter, mm | 33.5 |
| Field of view, ° | 10 |
| Focal ratio | f/1.2 |
| Close focus, m / ft | 03-Oct |
| Observation distance, m / ft | 250—300 (in complete darkness) 3~∞ (in weak light) / 820—985 (in complete darkness)10~infinity (in weak light) |
| Tripod adapter thread | 1/4″ |
| Operating temperature range, | −20…+60 (operating), −30…+70 |
| °C / °F | (storage) / −4…+140 (operating), −22…+158 (storage) |
| IR-illumination | IR LEDs 3W (7 brightness levels) |
| IR wavelength, nm | 850 |
| Recording time with illumination (IR), h | 4 |
| Recording time without illumination (IR), h | 10 |
| Power supply | 5 alkaline AA batteries (not included) |
| Operation voltage | 7V |
| Daytime recording without IR | color image |
| Recording at night (in the dark) with IR | black and white image |
| Storage | class 10, microSD up to 32GB |
| Image format and resolution | JPG; 1M (1280x960px), VGA (640x480px) |
| Video format and resolution | AVI; 960P (1280x960px@30fps), VGA (640x480px@30fps) |
| Language Settings | Chinese, Dutch, English, French, German, Italian, Japanese, Korean, Portuguese, Russian, Spanish |
| Dimensions, mm / in | 149x63x49 / 5.9×2.5×2 |
| Weight, g / lb | 170 / 0.4 |
The manufacturer reserves the right to make changes to the product range and specifications without prior notice.
Getting started
Install batteries
- Open the battery compartment cover (10) and insert 5 batteries according to the correct polarity marks. Close the cover.
Installing/removing the memory card
- The device supports memory cards class 10 up to 32GB.
- Remove the rubber cover (2) from the USB and microSD slots.
- Insert the microSD card into the slot. Make sure the direction is right. Do not force the card in.
- Format the microSD card before starting, as it will improve its compatibility with the device.
- To remove the card from the slot, press the edge of the memory card in gently, and the card will pop out. Then, remove the card.
Note: If the memory card is not installed, a No Card icon will be displayed.
A long press will turn the device on/off and zoom in/out the image. For the other functions, use a short press.
POWER button
Press and hold the POWER button for 3 seconds to turn the device on or off.
Turn the focus wheel to adjust the focus.
Notes:
- If the device fails to activate, check for defective or improperly installed batteries.
Always only use the recommended batteries. - If you wear glasses, keep them on while using the device.
IR UP button
If the light is insufficient or when used in the evening, turn on the IR by pressing the IR
UP button. The image will change from color to black and white. You may select the brightness level from 1 to 7. The brightness values will be displayed on the LCD screen.
Button functions: 1) IR brightness level up; 2) Zoom in; 3) scroll the menu up.
Notes:
- Do not use IR in daylight (when IR is on, you will have a color image, when IR is off — black and white image).
- If the battery power is not enough, the IR LED level will lower automatically. If only half power is left, the max. the brightness level is 5. If only 25% power is left, the max. the brightness level is 3. If the battery power is lower than 25%, the IR LED cannot be activated.
IR DOWN button
Button functions: 1) IR brightness level down; 2) Zoom out; 3) scroll the menu down.
MODE button
This button switches between 3 in-built modes: 1) photo mode; 2) video mode; and 3) playback mode. The default mode is video.
MENU button
To change the settings, press the MENU button and highlight the desired menu item by scrolling up (IR UP) or down (IR DOWN).
Select the highlighted item by pressing the SHOT button.
In the menu, you can select a photo or video resolution, night vision sensitivity, change the language, set the date, set auto power off, put the date on photos or videos, format the memory card, view and delete the current file or all files from the memory card, etc.
Note: To get to the submenu of the playback mode, you need to select the playback mode first (MODE button).
SHOT button
Button functions: 1) takes a picture in Photo mode; 2) starts and stops video recording in Video mode; 3) enters the sub-menu.
Display information
| Current mode | Night vision sensitivity | ||
| Memory card | Battery status | ||
| Indicating IR levels (1–7) | Indicating the Zoom in levels up to 4x |
Copying files
You can transfer files from the device to your smartphone, tablet, or PC directly.
- Insert the memory card into a card reader; or
- Connect the device to your computer with a USB cable.
Cleaning and precautions
Do not expose the device to direct sunlight — that could cause a fire!
Do not scratch or touch the optical surfaces with your fingers.
Remove the batteries before cleaning the device! Use only dry, lint-free cloths to wipe the outer parts of the device. Do not use cleaning fluid to avoid electronic damage. To avoid scratching the lenses, only use a soft cloth and do not press too hard.
Keep the device away from dust and water. Keep the device in a bag or a box. Remove the batteries from the device if it has not been used for a long time.
Battery safety instructions
Always purchase the correct size and grade of battery most suitable for the intended use. Always replace the whole set of batteries at one time; take care not to mix old and new ones or batteries of different types. Clean the battery contacts and also those of the device prior to battery installation. Make sure the batteries are installed correctly with regard to polarity (+ and –). Remove batteries from equipment that is not to be used for an extended period of time. Remove used batteries promptly. Never short-circuit batteries as this may lead to high temperatures, leakage, or explosion.
Never heat batteries in order to revive them. Do not disassemble batteries. Remember to switch off devices after use. Keep batteries out of the reach of children, to avoid the risk of ingestion, suffocation, or poisoning. Utilize used batteries as prescribed by your country’s laws.
Levenhuk Warranty
Levenhuk products, except for their accessories, carry a 2-year warranty against defects in materials and workmanship. All Levenhuk accessories are warranted to be free of defects in materials and workmanship for six months from the purchase date. The warranty entitles you to the free repair or replacement of the Levenhuk product in any country where a Levenhuk office is located if all the warranty conditions are met.
For further details please visit: www.levenhuk.com/warranty If warranty problems arise, or if you need assistance in using your product, contact the local Levenhuk branch.
STREAM WHAT YOU LOVE
ALL IN ONE PLACE
© 2022 Discovery or its subsidiaries and affiliates. Discovery and related logos are trademarks of Discovery or its subsidiaries and affiliates, used under license. All rights reserved. Discovery.com
levenhuk.com
Levenhuk Inc. (USA): 928 E 124th Ave. Ste D, Tampa, FL 33612, USA, +1 813 468-3001,
[email protected]
Levenhuk Optics s.r.o. (Europe): V Chotejně 700/7, 102 00 Prague 102, Czech Republic,
+420 737-004-919, [email protected]
Levenhuk® is a registered trademark of Levenhuk, Inc.
© 2006—2022 Levenhuk, Inc. All rights reserved.
20210914
References
Discovery Channel Shows and Articles | Discovery
Levenhuk optical instruments store | Levenhuk - best optical equipment
Доживотна гаранция на Levenhuk – Официален уебсайт на Levenhuk в България
Levenhuk lifetime warranty details | Levenhuk - best optical equipment
Doživotní záruka společnosti Levenhuk – Oficiální webové stránky Levenhuk pro Českou republiku
Levenhuk Lebenslange Garantie – Die offizielle Website von Levenhuk in Deutschland
| Levenhuk, los mejores equipos ópticos
Levenhuk Lifetime Warranty – Levenhuk’s official website in Europe
A Levenhuk élettartamra szóló szavatossága – A Levenhuk hivatalos magyarországi weboldala
Gwarancja bezterminowa Levenhuk – Oficjalna witryna internetowa Levenhuk w Polsce
Поддержка - Гарантийное обслуживание Левенгук - Levenhuk Russia



















