
70mai Dash Cam Pro Plus User Manual
Product Overview
Please read this manual carefully before using the product and keep it in a safe place.

| 1. Function Buttons 2. Power Button 3. Display 4. Power Port 5. Memory Card Slot | 6. Speaker 7. Camera 8. Mounting Slot 9. Microphone 10. Indicator |
Note: Illustrations of the product, accessories, and user interface in the user manual are for reference purposes only. The actual product and functions may vary due to product enhancements.
Installation
- Installing the electrostatic sticker.
Clean your windshield and put the electrostatic sticker on the recommended area as shown in the figure. Make sure you remove air bubbles between the sticker and the glass.
Note: Make sure to stick the electrostatic sticker on a flat and smooth part of the windshield, press it firmly, and avoid sticking it on the edge of the windshield’s film to prevent it from falling down. - Installing the memory card.
Insert the memory card into the card slot with its contacts facing up until you hear a click. The memory card is well-installed.
- Installing the mount.
Attach the mount to the slot and slide up, as shown in the figure. You will hear a snap when it is in place. Make sure the mount is securely installed to the dashcam.
- Mounting the dashcam.
Peel off the protective film from the adhesive sticker on the base of the mount, and paste the dashcam onto the electrostatic sticker in the dotted area.
- Connecting the power supply.
As shown in the figure, run the power cord along the top of the windshield, down the A-pillar, and around the glove compartment, so that the power connector is near the cigarette lighter. Connect the power cord to the car charger, then plug the charger into the cigarette lighter socket.
Note:
♦ Use the included crowbar to hide the power cord underneath the vehicle’s headliner and rubber seal along the A-pillar.
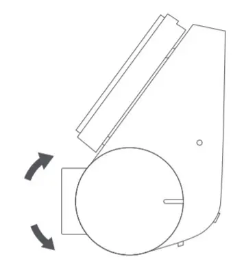
♦ Depending on the vehicle, the cigarette lighter socket may be located in a different position. The above figure is for reference only. - Adjust the dashcam angle.
Turn on the dashcam and adjust the camera angle based on the preview screen to ensure that the camera is facing the front of the vehicle.
Download 70mai App
This product may be used in conjunction with the 70mai App. Please search for “70mai” in the App Store or scan the following QR code to download and install the App.

https://www.70mai.com/en/download/?souce=QrcodeVue
Note: Android 4.4 & iOS 9.0 or above is required to connect to the dash cam’s Wi-Fi hotspot with a mobile phone.
Online Guide
Scan the below QR code to access the online guide. The guide provides detailed product information including descriptions of functions. Please carefully read this guide before use in order to avoid damage due to incorrect use.

https://help.70mai.asia/1069.html
Memory Card Instructions
- A memory card (sold separately) must be installed in the dashcam before use.
- The dashcam supports standard MicroSD cards. Please use memory cards with a capacity of 16 GB ~ 128 GB and a speed rating of Class 10 or higher.
- The default file partition format of the memory card may be inconsistent with the format supported by the dashcam. When inserting the memory card for the first time, please format it in the dash that came before use. Formatting the memory card will delete all files on the card. Please back up important data to another device beforehand.
- The memory card may become damaged or deteriorate after repeated cycles of overwriting, and this may affect its ability to save video and image files. If this occurs, immediately replace it with a new memory card.
- Please use a high-quality memory card purchased from a reputable vendor. Inferior memory cards may have issues such as actual reading/writing speeds that do not match the stated speeds and an actual storage capacity that does not match the stated storage capacity. We shall not be held liable for lost or damaged videos caused by the use of a low-quality memory card.
- In order to avoid reading and writing speeds decreasing after prolonged use, it is recommended to format the memory card in the dashcam every two weeks. Do not insert or remove a memory card while the dashcam is turned on.
Precautions
Before using this dash cam, please read all the precautions and the online guide to ensure correct and safe use.
- This dashcam is intended to assist drivers with the purpose of recording the environment outside the vehicle. The dashcam does not guarantee the user’s driving safety. We shall not be held liable for any accident, damage, or loss of information caused by operating the dashcam while driving.
- Due to differences in vehicle conditions, driving style, driving environment, etc., some functions may not work properly. A power failure, usage in environments outside the normal operating temperature or humidity range, a collision, or a damaged memory card may cause the dashcam to function abnormally. There is no guarantee that this dash cam will function normally under all circumstances. Videos recorded by this dash cam are for reference only.
- Please install this dashcam correctly, and do not block the driver’s line of sight, nor block the vehicle’s airbag, in order to avoid product failure or personal injury.
- Please use the included car charger, power cord, and other accessories in order to avoid product failure due to non-conformance. We shall not be held liable for any loss or damage caused by the use of a nongenuine car charger or power cord.
- If the battery becomes deformed, swollen, or starts leaking during use or storage, stop using the dashcam immediately in order to avoid safety issues, and contact after-sales service.
- Please keep this dashcam away from any strong magnetic fields, as they may cause damage to the dashcam.
- Do not use this dash cam in environments with temperatures over 60°C or below -10°C.
- Please only use this dash cam within the scope permitted by law.
Specifications
Product: 70mai Dash Cam Pro Plus
Model: A500
Input: 5V
2A
Wireless Connectivity: Wi-Fi IEEE 802.11 b/g/n 2.4 GHz
Power Supply: Car cigarette lighter socket
Battery Type: Lithium polymer battery
Battery Capacity: 500 mAh
Packing list
- 70mai Dash Cam Pro Plus ×1
- Mount ×1
- Power cord×1
- Dual USB Car Charger×1
- Wiring crowbar×1
- Electrostatic Sticker × 2
- Adhesive Sticker × 2 (with 1 pre-applied to the mount)
- User manual×1
Safety information
Caution
Battery abuse or mishandling can cause overheating, liquid leakage, or an explosion. To avoid possible injury, do the following:
- Do not open, disassemble, or service any battery.
- Do not attempt to replace the internal rechargeable lithium batteries.
- Do not crush or puncture the battery.
- Do not short-circuit the battery, or expose it to water or other liquids.
- Keep the battery away from children.
- Keep the battery away from fire.
- Do not leave the battery in an extremely high-temperature environment or an extremely low air pressure environment.
- Stop using the battery if it is damaged, or if you notice any discharge or the buildup of foreign materials on the battery leads. We recommend that the batteries be charged about once every three months to prevent overcharge.
- Do not put the battery in the trash that is disposed of in landfills. When disposing of the battery, comply with local laws or regulations.
FCC
Changes or modifications not expressly approved by the party responsible for compliance could void the user’s authority to operate the equipment.
This equipment has been tested and found to comply with the limits for a Class B digital device, pursuant to Part 15 of the FCC Rules. These limits are designed to provide reasonable protection against harmful interference in a residential installation. This equipment generates, uses, and can radiate radio frequency energy and, if not installed and used in accordance with the instructions, may cause harmful interference to radio communications. However, there is no guarantee that interference will not occur in a particular installation. If this equipment does cause harmful interference to radio or television reception, which can be determined by turning the equipment off and on, the user is encouraged to try to correct the interference by one or more of the following measures:
– Reorient or relocate the receiving antenna.
– Increase the separation between the equipment and receiver.
– Connect the equipment into an outlet on a circuit different from that to which the receiver is connected.
– Consult the dealer or an experienced radio/TV technician for help.
This device complies with Part 15 of the FCC Rules. Operation is subject to the following two conditions: (1) this device may not cause harmful interference, and (2) this device must accept any interference received, including interference that may cause undesired operation.
This equipment complies with FCC radiation exposure limits set forth for an uncontrolled environment. This equipment should be installed and operated with a minimum distance of 20 cm between the radiator & your body. This transmitter must not be co-located or operating in conjunction with any other antenna or transmitter.
WEEE Information
All products bearing this symbol are waste electrical and electronic equipment (WEEE as in directive 2012/19/EU) which should not be mixed with unsorted household waste. Instead, you should protect human health and the environment by handing over your waste equipment to a designated collection point for the recycling of waste electrical and electronic equipment, appointed by the government or local authorities. Correct disposal and recycling will help prevent potential negative consequences to the environment and human health. Please contact the installer or local authorities for more information about the location as well as the terms and conditions of such collection points.
CE Information
The manufacturer hereby, declares that this equipment is in compliance with the applicable Directives and European Norms, and amendments. The full text of the EU declaration of conformity is available at the following internet address: https://help.70mai.asia/1193.html
Service: [email protected]
For further information, please go to www.70mai.com
Manufacturer: 70mai Co., Ltd. Address: Room2220, building2, No.588, Zixingroad, MinHangDistrict, Shanghai, China




Note:


















