PENTAIR 360228 Racer® Pressure Side Pool Cleaner

IMPORTANT SAFETY INSTRUCTIONS READ AND FOLLOW ALL INSTRUCTIONS SAVE THESE INSTRUCTIONS
CUSTOMER SERVICE / TECHNICAL SUPPORT
If you have questions about ordering Pentair Aquatic Systems replacement parts, and pool products, please contact:
IMPORTANT WARNING AND SAFETY INSTRUCTIONS
Important Notice:
Attention Installer: This guide contains important information about the installation, operation and safe use of this product. This information should be given to the owner and/or operator of this equipment after installation of the pool cleaner.
Attention User: This manual contains important information that will help you in operating and maintaining this pool cleaner. Please retain it for future reference. Consult Pentair with any questions regarding this equipment.
WARNING
Before installing this product, read and follow all warning notices and instructions which are included. Failure to follow safety warnings and instructions can result in severe injury, death, or property damage. Call (800) 831-7133 for additional free copies of these instructions.
Consumer Information and Safety
This pool cleaner is designed and manufactured to provide many years of safe and reliable service when installed, operated and maintained according to the information in this manual. Throughout the manual, safety warnings and cautions are identified by the “
” symbol. Be sure to read and comply with all of the warnings and cautions.
WARNINH
HAZARDOUS SUCTION.
Do not play with cleaner or hose or apply to body. Can trap and tear hair or body parts. Hose can trip or entangle swimmers which could result in drowning.
- SUCTION ENTRAPMENT, INJURY, AND DROWNING HAZARD. If your pool has a dedicated suction port (“vac port”) for vacuuming or for an automatic pool cleaner, it must be covered when not in use. A spring loaded safety cover (a “vac port fitting”) is included with your cleaner. Install it on the suction port to prevent entrapment and injury. If the cover provided does not fit, purchase one that does from your local pool store and install it instead. The cover should conform to IAPMO SPS4-99A.
- Stop pump before attempting to clean unit. Do not allow swimmers in pool while pool cleaner is operating.
- To reduce the risk of injury, do not let children use or play with pool cleaner.
- Do not allow swimmers in the pool while pool cleaner is operating. Hose can trip or entangle swimmers which could result in drowning.
CAUTION
Moving parts may injure hands or fingers. Stop pump before attempting to clean out pool cleaner head.
General Installation Information
Pre-Installation Check List
Before installing your cleaner, review and understand all warnings and safety information in this guide. Failure to follow these instructions or improper installation of the cleaner can result in damage to the pool finish or the vinyl liner. Most cleaners are not designed to traverse from floor to wall when the pool cove is 90%. There may be other structures installed in the pool that the cleaner cannot navigate, BE AWARE and supervise the cleaner during unique conditions. Pentair Aquatic Systems disclaims any liability for repairs or replacement to any of these structures or components of the customer’s pool.
Before installing the cleaner in a vinyl liner pool:
Check liner closely for signs of deterioration or damage from age, chemicals, pool wall damage, etc. If any damage is found, have a qualified pool professional make all the necessary repairs. Also, if there are stones, roots, etc., under the liner, remove them before installing the cleaner.
Before installing the cleaner in a gunite pool or a pool that is partially or completely tiled:
Make sure pool finish is in proper condition as staining, etching, cracking or delaminating may worsen.
Repair loose tiles and tighten any loose light rings.
Before installing the cleaner, clean your filter system:
Make sure you have cleaned the filter, including backwashing, rinsing, and emptying all baskets. A clean system is necessary for proper cleaner operation and coverage.
Before installing the cleaner, understand cleaner coverage:
The cleaner is designed to rid your pool of debris in approximately 4-6 hours. Less time could be needed, depending on the pool size. The cleaner was not designed to automatically clean steps or swimouts, or to work under a solar cover. The cleaner may get stuck in these areas which can result in damage to the pool finish or vinyl liner. Pentair Aquatic Systems disclaims any liability for repairs or replacement to any of these structures or components of the consumer’s pool. It was also not designed to do initial cleanup for a new pool or when opening your pool for the season.
AFTER installing the cleaner, make sure the cleaner is operating correctly:
The cleaner may need some minor adjustments to make sure it is operating properly so there is no damage to the pool finish. Certain vinyl liner patterns are particularly susceptible to surface wear, pattern removal, ink rubbing off of, or serious scratches to the pattern caused by objects coming into contact with the vinyl surface, including automatic pool cleaners. Pentair Aquatic Systems is not responsible for any pattern removal, abrasions or markings on vinyl liners. Periodically inspect the cleaner components and the cleaner performance to ensure it is operating as designed. Replace and/or repair any worn or damages components. Failure to follow instructions or improper installation of the cleaner may result in damage to the cleaner, pool finish or the vinyl liner.
Warnings and safety instructions for Pentair Aquatic Systems pumps and other related products are available at: http://www.pentairpool.com/support/product-warnings.html or call (800) 831-7133 for additional free copies of these instructions.
Please refer to http://www.pentairpool.com/support/product-warnings.html for warning and safety instructions related to this product.
Disclaimer of Liability
About your Pool and Pressure Side Pool Cleaner
There are a multitude of factors that contribute to the life of your pool. The pool cleaner is a very passive product that will have no impact on pool life.
Please be aware that over time, deterioration, discoloration and brittleness of any pool finish can be caused separately by, or in combination with, age, an imbalance in pool water chemistry, improper installation and other factors. Pressure side pool cleaners will not remove or cause wear on “good” pool plaster. In fact, the opposite is true–pool plaster will eventually cause wear on the cleaner.
The same situation holds true for vinyl-lined in-ground swimming pools, because vinyl liners are also affected by the environment and factors such as pool water chemistry, sunlight and the pool’s surroundings. Therefore over time, vinyl can become brittle and weak. In addition, vinyl-lined pools are affected by the workmanship, composition and installation of the liner and the workmanship and quality of construction of the supporting walls and pool base. These are all factors which can contribute to liner failure. The existence of any of these type of conditions in your pool is not caused by the use or operation of the pool cleaner. The manufacturer disclaims any liability for repairs or replacement to any of these structures or components of the customer’s pool.
The pool owner must assume all responsibility for the condition and maintenance of the pool’s surface, water and deck.
Before the cleaner is installed, please take a moment to record the serial number. This number is located on your warranty card and on the back of the cleaner near the rear jets. You will be asked for this number when you contact our Technical Support Department.
SERIAL #__________________________________
OVERVIEW
Cleaner Components
- RACER Cleaner Head
- Debris Bag
- Sweep Hose (not needed in most pools)
- Feed Hose Assembly – Not shown (3-10 ft. [3 m.] sections)
- Wall Fitting
- Wall Adapter
- Debris Seal
Note: The cleaner system is delivered with debris seal installed inside of cleaner head. - Flow Gauge

Overview
The RACER® Pressure Side Pool Cleaner moves through a sequence of straight, right and left turns helping to increase pool coverage, vacuuming and scrubbing your entire pool.
- For continuous uninterrupted cleaning, the cleaner will go into reverse mode about every two minutes, which allows it to efficiently clean the entire pool.
Note: Before you install and operate your cleaner, read through these important guidelines:
- Always disconnect the cleaner from the pool wall when cleaning or back washing the pool filter.
- After cleaning or back washing the filter, let the filtration system run for at least five minutes before reconnecting the cleaner.
- New plumbing lines should be flushed out before installing the cleaner.
- The cleaner should not be used to remove plaster dust in new pools.
- Always remove the cleaner before swimmers enter the pool.
- Always handle the cleaner with care.
- Always pick up the cleaner by the handle, especially when lifting the unit out of the water.
- Do not handle the cleaner while it is operating.
- Always remove the cleaner from the pool before chemical shock treatments (super chlorinate). As a rule, any pool water that is unsafe for swimming is unsafe for the cleaner.
- Carefully cut the feed hose following the instructions on page 4.
- By following these simple guidelines, you can help protect against injury and prolong the life of your cleaner.
- Refer to “Important Warning And Safety Instructions” on pages ii – iii for additional installation and safety information.
- Before you install your RACER pool cleaner:
If there is a chlorinator, solar system, ozone generator or air inducing equipment installed, contact Technical Support at 1-800-831-7133.
INSTALLATION
Booster Pump Installation
Please refer to the instructions included with your booster pump for installation information.
Please follow these instructions carefully.
Installing the Wall Fitting and Wall Adapter
- Remove and disconnect any existing pool cleaner and/or wall fitting.
- Switch on the filtration pump and booster pump, to flush out the plumbing line.
- Switch off filter pump and booster pump.
- Insert wall fitting adapter into the dedicated 1-1/2” NPT threaded return line. Hand tighten until snug. See figure 1.
- Align wall fitting with the quick lock pegs inside the wall adapter. Push the wall fitting into the wall adapter until it bottoms out. Twist 1/4 turn clockwise to lock the wall fitting. Pull gently outward to engage quick lock pegs. See figure 1.

Setting the Water Flow to the Cleaner
IMPORTANT! Before starting this procedure be sure to switch off the filter pump and booster pump.
- Attach the flow gauge to the wall fitting by aligning the two tabs on the flow gauge with the grooves in the wall fitting. See figure 2. Push and turn the flow gauge clockwise until it stops, then slightly pull it out away from the wall. Be sure the flow gauge is securely locked in place by turning it counterclockwise while slightly pulling out on the flow gauge. See figure 3.
Note: Flow gauge will not turn when locked in place.
- Switch on the filter pump and then the booster pump.
- Verify the white plunger (inside the flow gauge) is aligned within the box on the flow gauge. See figure 4.

- Adjust the valve on the wall fitting using a flathead screw driver by turning the valve clockwise (to reduce flow) or counter-clockwise (to increase flow) so that the white plunger aligns with the arrows on the flow gauge markings. See figure 5.

- Switch off the booster pump and then the filter pump.
- Remove the flow gauge from the wall fitting by pushing in and turning counterclockwise and pulling the gauge out.
- Attach the hose assembly to the wall fitting. Turn clockwise then push in one quarter turn to secure in place (as described in Step 1).
Calculating Cleaner Speed/RPM
- To determine whether the RACER® Pressure Side Pool Cleaner is receiving the proper water pressure, turn off the pool pump, and carefully remove the cleaner from the pool.
- Mark the front tire/wheel with a marker, such as a blade of grass stuck under the tire.
- Have someone restart the pool pump and booster pump while you place the cleaner just beneath the pool’s water surface.
Note: Be sure to hold onto the sweep hose (if installed) to avoid getting wet, as flow will return to the sweep hose regulator when the pump is restarted. - Count the number of full rotations made by the marked wheel over a period of one minute. The number of rotations will give you the revolutions per minute; or RPM’s.
Note: Be sure that the back-up valve isn’t cycling at this time. - For proper performance, the RACER cleaner operates between 31 – 33 RPM’s with a sweep hose installed and 33 – 36 RPM’s without a sweep hose.
If the RPM is below 31 with a sweep hose installed, or below 33 without a sweep hose, then call your local Pool Professional or contact Pentair’s Technical Support Department at 1-800-831-7133.
If the RPM is higher than 33 with a sweep hose installed, or higher than 36 without a sweep hose, at the wall fitting adjust the valve, as described under “Setting the Water Flow to the Cleaner” on page 2, until the RPM falls back into the optimal range.

Adjusting the Hose Assembly to Fit Pool
The hose assembly consists of: Three (3) 10 ft. [3 meters] sections, one (1) soft light grey lead hose marked as section one and two (2) stiffer dark grey feed hoses marked as sections two and three.
Important to the Performance of the Cleaner:
Measure, cut, and assemble the hose sections as described in Step 1 and Step 2. Use strong scissors or a sharp knife to cut the hoses. Be sure to slide the floats out of the way when cutting hose. Cut hose ends as straight as possible.
Step 1: Sizing Hose Section 1
- Measure the deepest part of the pool. See figure 6.

Note: The grate or domed main drain, at the bottom of the pool, is usually the deepest point. If the depth is greater than 10 ft. [3 meters], do not cut the hose, and proceed to Step 2. - If the pool depth is less than 10 ft. [3 meters], disconnect the soft light grey lead hose, labeled section one, from the swivel end. Cut the lead hose so the length is equal to the deepest part of the pool. See figure 7.

Example: If the pool is 8.5 ft. [2.6 meters] deep, cut 1.5 ft. [.5 meters] off of the hose labelled section one (since the hose is 10 ft. [3 meters]). - Discard excess hose. Reconnect the newly cut lead hose to the swivel on the feed hose. All three hose sections should now be connected.
Step 2: Sizing Hose Sections 2 and 3
- Attach the hose assembly to the wall fitting. See figure 8.
Then attach the wall fitting (with hose) to the wall adaptor. See figure 8. Take the opposite end of the hose assembly and walk to the farthest point of the pool from the wall adaptor. To prevent over stretching the hose, rest the hose on top of the pool water. Measure the excess hose length (hose that extends beyond pool edge). This determines the amount of hose to be cut from sections 2 and 3.
- Disconnect feed hose assembly from the wall adaptor. Disconnect sections 2 and 3 from the first swivel closest to the wall fitting.
- Cut half of the total excess hose length from each hose labeled section 2 and section 3 (assembled with four floats) equally. Both feed hose sections should be the same length after cutting.
Example: If there is 6 ft. [1.8 meters]of excess hose. Cut 3 ft. [.9 meters] off of section 2 and section 3. (Half of 6 ft. [1.8 meters] = 3 ft. [.9 meters] each)
If more than 3 ft. [.9 meters] is cut from each hose section, remove one (1) float from each hose section.
Note: For large pools requiring extra hose lengths you will need to purchase one (1) additional hose, P/N 360266 (10 ft. [3 meters] single hose). Attach extra hose sections at the wall fitting using supplied swivel and mender nuts.

Step 3: Connecting Hose Sections
- After the hose sections have been cut to size, reconnect them by pushing the hose end over the barb on the swivel.
Note: Be sure to push the hose all the way to the bottom of the barb. - Move the mender nut toward the hose by turning clockwise and rotating until tight on hose. Use pliers if needed.
Note: Be sure the same number of floats are left on hose sections 2 and 3, as described in Step 2 on page 4. - To check that the hose is cut to the correct length, reconnect the hose and wall fitting to the wall adaptor. Take the opposite end of the hose assembly and walk to the farthest point of the pool from the wall adaptor. The hose should reach the edge of the pool but should not extend more than 6 inches beyond the pool edge.
- You can now connect the cleaner to the hose.


Assembling the Cleaner
- Attach the Quick Connect fitting on the end of the hose to the feed tube on the RACER® Pressure Side Pool Cleaner. Be sure the snaps are engaged.
- Attach the debris bag to the cleaner. Push the bag over vacuum tube to click it into place.
- Review checklist before use:
- Hoses cut properly and floats evenly spaced.
- Mender nuts are tight on feed hose.
- Wall fitting secure and in place.
- Debris bag and hose assembly attached.
- Ensure debris seal is attached. See figure 12.
Using the Cleaner
- Lower the cleaner carefully into poo
- Switch ON the FILTER PUMP.
- Wait at least 60 seconds to allow air to blow out of the hose.
- Switch ON the BOOSTER PUMP.

Assembling the Cleaner

CLEANER ADJUSTMENTS AND OPERATION
Cleaner Operation
Note: The RACER® Pressure Side Pool Cleaner may need some minor adjustments to ensure it is operating properly and to get the best performance possible.
When operating correctly, the cleaner will travel in a random pattern throughout the pool, vacuuming and scrubbing the pool.
- The climbing ability of the cleaner depends on the pool structure and water flow.
- One hour cleaning cycle is recommended for average size residential (15’ x 30’ [4.6 m x 9.1 m]) pools.
- It will perform more efficiently in pools without sharp transitions between pool floor and walls.
- The cleaner goes into a reverse mode approximately every 2-1/2 minutes for approximately 15 seconds.
- If pool has a high level of debris, run the cleaner in two short cycles. Empty the debris bag between cycles.
Adjusting the Thrust Jet
The thrust jet is at the back of the cleaner below the sweep hose regulator, and helps to power the direction of the cleaner. See figure 13.
You may need to adjust the thrust jet based on the pool shape, in order to get maximum cleaner coverage.
The alternate jet position shown below can help the climbing ability of the cleaner. See figure 14.

Cleaning the Debris Bag
- Detach the bag strap from the hose.
- Press the release button on the cleaner vacuum tube and carefully pull up to remove the bag from the cleaner. See figure 15.
- Open bag closure by pulling apart the fabric tabs at the top of the bag (see figure 16). Holding the bottom of the bag, turn over to empty debris out of the top. If needed, rinse bag with a hose.
- To close, press together the hook and loop fabric at the top of the bag and run finger along entire length of bag so it is completely closed.
- Be sure debris seal is on the vacuum tube. See figure 12 on page 6.
- Slide the debris bag collar over the vacuum tube until it clicks in place.
- Reattach the strap onto the feed hose.
- To keep bag from folding during operation, attach the strap above first feed line float. Slide float down if needed. Note: It is easier to empty the debris bag when it is dry. A second bag (purchased separately) may be used while the used debris bag is drying.

Adjusting the Sweep Hose Regulator when Sweep Hose is Installed
The sweep hose operates in a gentle sweeping motion to clean debris from hard to reach corners of pools. See figure 17.

Note:
- Do not adjust the sweep hose regulator while cleaner is operational. This may damage cleaner.
- The sweep hose must be used to adjust the sweep hose regulator.
- If you do not plan on using the optional sweep hose, there is nothing more you need to do. To attach the optional sweep hose to the cleaner and open the sweep hose regulator, proceed to Step 2.
- To attach the sweep hose to the RACER® Pressure Side Pool Cleaner, line up the lock tabs on the inside of the sweep hose fitting (small round fitting on the end of the sweep hose) to the locking slots on the cleaner’s sweep hose regulator. See figure 18.

- The sweep hose regulator comes from the factory in the closed position. To open the sweep hose regulator, push the sweep hose fitting onto the sweep hose regulator. When it can not be pushed any further turn the sweep hose fitting clockwise until it stops (about 45 degrees). See figure 19.

Pull out on the sweep hose fitting and the fitting will lock into place. - To remove the sweep hose and turn off the sweep hose regulator, hold the sweep hose fitting and turn it counter-clockwise until it stops (about 45 degrees). See figure 19. Pull the sweep hose fitting from the sweep hose regulator and store it in a safe place.
MAINTENANCE
Periodic Maintenance
Periodically inspect the RACER® Pressure Side Pool Cleaner and its components. Replace and/or repair any worn or damaged components. Failure to follow instructions or improper installation of the cleaner can result in damage to the cleaner, pool finish, or vinyl liner.
The following parts are wear items that should be inspected periodically and replaced as needed.
Wall Fitting Screen
Inside the wall fitting is a stainless steel filter screen that acts as a secondary filter. This screen captures debris that may have passed through the pool filter.
A dirty screen may be an indication of potential issues in your pool filter system and you may need to contact your local pool professional.
Note: Running the cleaner without the filter screen can damage the cleaner and void the warranty.
To clean the filter screen:
- Switch the booster pump and then the filtration pump off.
- Remove the wall fitting from the wall adaptor.
- Pull the screen out from inside the wall fitting.
- Rinse thoroughly until clean and insert back inside the wall fitting.
- Whenever cleaning, backwashing or repairing the pool filter, also clean the wall fitting screen after your first cleaner cycle.

Tires
The tires are designed to protect the bottom of your pool and provide traction. Tires will wear and need to be replaced occasionally.
Debris Bags
The cleaner comes with a general-purpose bag and is used for all debris types. Replace bag when the fabric is torn or punctured.
Note: To prolong the life of your cleaner, remove it from pool before adding chemicals.
Sweep Hose
The sweep hose is provided as an optional accessory to help keep hard to reach corners of your pool clean. Replace sweep hose scrubber as necessary if used.
Sweep Hose Roller Rings
Your sweep hose has a series of roller rings to protect the sweep hose. Replace the rings as needed. Ensure the roller rings rotate freely.
Backwashing the Pool Filter
Always disconnect the cleaner from the pool wall before cleaning or backwashing the pool filter. After cleaning or backwashing, let the pool filtration system and booster pump run for a minimum of five minutes to flush out the return lines before reconnecting the cleaner.
Storage and Winterizing
You may leave the wall adapter in the wall and
store the hoses straight, without any kinks. If storing the hose coiled, be sure to lay the hose straight in the sun for 12 to 24 hours before using again. Use the flow gauge to be sure the flow is sufficient for cleaner operation.
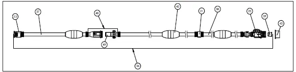
REPLACEMENT PARTS
Illustrated Parts List


Parts List
| ITEM NO. | PART NUMBER | DESCRIPTION |
| 1 | 360229 | Top Front Cover Kit |
| 2 | 360230 | Rear Cover Kit |
| 3 | 360231 | Bottom Cover Kit |
| 4 | 360391 | Chassis Kit |
| 5 | 360233 | Front Grill Kit |
| 6 | 360234 | Side Covers Kit |
| 7 | 360235 | Large Wheel Kit |
| 8 | 360236 | Small Wheel Kit |
| 9 | 360237 | Large Tires Kit |
| 10 | 360238 | Scrubber Gear Kit |
| 11 | 360239 | Scrubber Kit |
| 12* | 360240 | Debris Bag Kit (w/o collar), hook and loop fastener |
| 13* | 360241 | Debris Bag Collar Kit |
| 14 | 360242 | VacuumTube Kit |
| 15 | 360243 | Debris Valve Kit |
| 16 | 360244 | Sweep Hose Kit |
| 17 | 360245 | Sweep Hose Scrubber Kit |
| 18 | 360246 | Gear Box Kit |
| 19 | 360247 | Timer Valve Kit |
| 20 | 360248 | LED Kit |
| 21 | 360249 | Feedline Swivel Kit |
| 22 | 360250 | Feedline Quick Connector Kit |
| 23 | 360251 | Feedline Wall Connector Kit |
| 24 | 360252 | Feed Line Connector Kit |
| 25 | 360253 | Drive Shaft Kit |
| ITEM NO. | PART NUMBER | DESCRIPTION |
| 26 | LLC55PMB | Wheel Screw Kit |
| 27 | 360255 | Screw Kit |
| 28 | 360256 | Turn Jet Hose Kit |
| 29 | 360257 | Rear Thrust Jet Hose Kit |
| 30 | 360258 | Rubber Button Kit |
| 31 | 360414 | Turbine Kit |
| 32 | 360260 | Venturi Manifold Kit |
| 33 | 360261 | Water Management Kit |
| 34 | 360262 | Turbine Hose Kit |
| 35* | 360263 | Tune Up Kit |
| 36 | 360264 | Feed Line Hose Kit Complete |
| 37 | 360265 | Soft Feed Line Hose Kit 10’ |
| 38 | 360266 | Hard Feed Line Hose Kit 10’ |
| 39 | E24 | Debris Screen |
| 40 | LL23PM | Threaded Wall Adapter |
| 41 | EB10G | Sweep Hose Wear Ring |
| 42 | 360270 | Feed Line Float |
| 43* | 360268 | Feed Line O-Ring Kit |
| 44* | 360269 | Debris Bag with Mechanical Lock |
| 45* | 360274 | Wheel Hump Insert Kit |
| 46 | 360434 | Axle Kit |
| 47 | EC64 | Wheel Washer Kit |
| 48 | 360392 | In-line Filter Kit |
| 49 | 360437 | Replacement Screen Cartridge |
Note: (*) Not shown
TROUBLESHOOTING
Use the following troubleshooting information to solve potential issues with the RACER® Pressure Side Pool Cleaner.
| Problem | Corrective Action |
| Cleaner doesn’t move or moves slowly. | Ensure filter pump and booster pump are on and moving water. (You may need to clean your pool filter system.) Ensure the wall fitting screen is free of debris; you may need to remove and rinse. Check for proper flow using Flow Gauge (provided). See page 2. Adjust the flow at the wall fitting if needed. See page 2. Check all feed hose connections and swivels for leaks. Check for debris that may be jammed in the gear teeth on one of the front drive wheels. Gently rotate the front wheels backward to dislodge debris. Check to see if the rear wheels are spinning freely. Replace wheels if necessary. |
| Cleaner hangs at steps. | Ensure the front (large) wheels reverse approximately every 2-1/2 minutes. |
| Cleaner tilts to one side. | Usually indicates a full debris bag. Empty the debris bag (see page 8). Note: Cleaner at times will tilt on one side (on two wheels) during a turn cycle. Watch the cleaner for a few minutes to see if it positions itself upright. |
| Cleaner does not go in reverse. | Ensure the front (large) wheels reverse approximately every 2-1/2 minutes. Check for proper flow using Flow Gauge (provided). See page 2. Adjust the flow at the wall fitting if needed. See page 2. |
| Cleanerwill not climb. | Check debris bag. Empty the debris bag if full. Check for proper flow using Flow Gauge (provided). See page 2. Adjust the flow at the wall fitting if needed. See page 2. Reposition the thrust jet to increase climbing (see page 7). Note: The climbing ability of the cleaner depends on pool shape and available water flow. It will climb better in pools without sharp angles or in the transition from the pool floor to the pool wall. |
| Hoses tangling in loops. | Check the length of the feed hose. If it is too long it may cause the hose to tangle or loop. See page 4 for sizing feed hose. Ensure the feed hose is floating on the pool surface. Hose floats should be spaced approximately two feet apart. See page 4 for hose float positioning. Ensure the hose swivels spin freely. Replace swivels if tight. Ensure the feed hose has no kinks or bends. |
| Sweep hose caught in vacuum tube. | Ensure the sweep hose regulator valve is fully open. See page 9. |
| Booster pump very noisy. | Ensure filter pump and booster pump are on and moving water. (You may need to clean your pool filter system.) Ensure wall fitting is properly installed. If leaking, O-ring may need to be replaced. Contact your local pool professional – possible booster pump issue. |
| Problem | Corrective Action |
| Brush on front of cleaner is not spinning. | Watch front wheels while cleaner is operating in the pool. The wheels and front brush should rotate simultaneously. Ensure the scrubber is free of tangled debris. |
| Rear wheels dragging/not spinning. | Ensure the wheel sleeve is free of tangled debris. Note: You may need to remove the wheel by pulling straight off sleeve to remove any tangled debris. |
| Rear wheels falling off. | Replace wheel and wheel sleeve. |
| Night Cruize LEDs are not illuminated during cleaner operation. (Note: LED operation does not affect cleaner performance.) | Debris may be clogging generator turbine. To clean debris from generator turbine: Find access hole under the left rear wheel by removing the wheel by pulling it straight off cleaner. Use a large paper clip and insert approximately 2 in. [5 cm] straight into the access hole, continue until the generator turbine paddle is felt and move paper clip until paddle rotates. Rotate the paddle several times with paper clip to clear the debris.
|
Steep Vinyl Liner Transitions
In some pools with deep diving ends the transition angle from the deep end to the shallow end may cause the RACER® Pressure Side Pool Cleaner to have difficulty transitioning over this angle. If so, you may need to insert the tire wedges provided to help the cleaner make this transition. These wedges create a hump in the tire and help keep the cleaner from becoming obstructed. They are not required in all pools.
Note: Both wedges should be installed horizontally in line with each other. If they are not in line with each other they may cause the cleaner to have difficulty with the transition angle. This is important for proper cleaner operation. See figure 21.

- To install the tire wedge, pull the rubber tire up from the plastic wheel and firmly push the insert between the tire and wheel. The smooth surface on the underside of the wedge should be inserted first, from the outside to the inside of the cleaner wheels. See figure 22. Be sure that the slots on the plastic wheel and the slots on the underside of the wedge lock into each other.
- Push the wedge towards the nose of the cleaner body until the insert is securely seated behind the lip of the rubber tire. See figure 21.
1620 HAWKINS AVE., SANFORD, NC 27330 • (919) 566-8000
10951 WEST LOS ANGELES AVE., MOORPARK, CA 93021 • (805) 553-5000
WWW.PENTAIRPOOL.COM
© 2017 Pentair Water Pool and Spa, Inc. All rights reserved. Tous droits réservés. Todos los derechos reservados.
This document is subject to change without notice. Ce document pourra être modifié sans préavis. Este documento está sujeto a cambios sin previo aviso.
*371004*
P/N 371004 REV. D 3/30/17





























