Levenhuk SK40 LabZZ Survival Kit User Manual

The kit includes:
- binoculars
- torch
- whistle
- bug catcher
- magnifier
- walkie-talkie (2)
- butterfly net
- tweezers
- compass
- headlight
- backpack
- bug jar

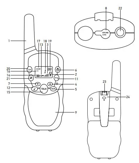
- Antenna
- TX/RX icon
- Volume level
- UP button
- Monitor button
- On/Off button
- DOWN button
- Earphones jack
- Speaker
- Microphone
- MENU button
- Call button
- Keypad locked
- Low battery indicator
- Talk button
- VOX activated
- Scanning
- Channel/Menu item
- CTCSS tone
- Flashlight on/of
- Scan button
- Flashlight
- Fastener
- Pocket clip
- Never, under any circumstances, look directly at the Sun, another bright source of light or at a laser through this device, as this may cause PERMANENT RETINAL DAMAGE and may lead to BLINDNESS.
- Beware of insect bites!
- Children should use the device under adult supervision only.
- If a part of the device or battery is swallowed, seek medical attention immediately.
- Keep packaging materials away from children to avoid risk of suffocation.
- Always replace the whole set of batteries at one time; taking care not to mix old and new ones, or batteries of different types. Make sure the batteries are installed correctly with regard to polarity (+ and –). Remove used batteries promptly. Never heat batteries in order to revive them.
Binoculars
Look through the binoculars’ eyepieces with both eyes. To adjust the interpapillary distance, keep varying the angle between the binoculars’ parts (relative to its central axis) until the image merges into a single
circle. Remember the setting for future use.
Follow this procedure to adjust focus setting:
- Look through your binoculars at a distant object;
- Rotate the central focusing wheel until the view is focused.

- Objective lens
- Eyepieces
- Central focusing wheel
Torch
Slide the safety lock (3) backwards, as the arrow shows. Press on the lever (4), and the light will go on for a moment. Press the lever at the same speed to “make” electricity. When you are done, push the lever in the casing and slide the safety lock back.

- LED light
- On/Off switch (not active)
- Safety lock for the lever
- Lever
- Strap
Bug jar
With bug jar you can observe living creatures without any harm to them or the environment. This spacious transparent glass can hold plants, insects, spiders and even fish (when the glass is filled with water). You can watch the can’s inhabitants through its transparent walls or through the cap with built-in magnifying lenses.

Magnifier
Magnifier is a convenient magnifying glass with a handle. These magnifiers enable young explorers of the world to magnify and observe in detail any tiny objects.

Compass
With the compass, you can easily orient a map and set directions for travel, safely hike off-road without getting lost, easily determine where you are and calculate the distance to your destination
- Sight wire (front sight)
- Sight glass
- Rotating rim
- Sight slot (sight notch)
- Magnifying glass
- North arrow (compass needle)
- 360° scale with degrees

Headlight
Headlight is a lightweight tool that is perfect for games and easy orienting in darkness. The bright LED light has three modes — straight light, flashing light, and SOS light — and can be easily switched on or off. For SOS mode, press and hold the button for 3 seconds. The angle of inclination is adjustable (up to 45°). Battery replacement: open the battery compartment, replace the batteries, and then close the compartment.

Walkie-talkie
Getting started
Press the fastener (23) and pull the pocket clip (24) gently. Open the battery compartment cover and insert 4 AAA batteries according to the correct polarity. Close the cover until it clicks. Repeat the same steps with the second device.
Using the walkie-talkie
To turn the device on, press and hold the On/Off button (6) for 3 seconds. The volume level is controlled by the UP (4) and DOWN (7) buttons. Both walkie-talkies must be tuned to the same channel and CTCSS tone/DCS code (if used), so that you can communicate. Press the MENU button (11) — the channel digit will start blinking. Select one of the channels using the UP (4) and DOWN (7) buttons and press the TALK button (15) to confirm the choice. To select the CTCSS tone/DCS code for the current channel, press the MENU button (11) twice, specify the encoding type, and then one of the codes. To save the settings, press the TALK button (15).
To call the other person, press the CALL button (12). During the conversation, the transfer icon (TX) will be shown on the screen.
Press the TALK button (15) to send a voice message and keep it pressed while speaking. After the button is released, the device will give a short beep tone, indicating that the device has switched to receiving mode. To turn the backlight on, press any button except the MENU button (11) and the monitoring button (5). To reset to the factory settings turn the device off, press the UP button (4) and turn the device on again.
Other functions
Monitoring — is used in case of an unstable signal. It disables the squelch function so that all the signals on the selected channel become audible.
Scan — checks all channels for activity, stopping at each channel where activity is detected. Press the TALK button (15) to stop on the selected channel.
VOX — activates voice activated transmission. Using VOX and connecting a headset, you can go on the air without pressing buttons. VOX mode is switched on/ off via the MENU button (11).
Keypad lock — allows you to exclude the accidental pressing of buttons. To activate this mode, press and hold the MENU button (11) for 2 seconds. The TALK and CALL buttons will remain active!
Squelch — turns on automatically
Specifications

Care & maintenance
Do not use the device in potentially explosive environments or while riding a bicycle or driving a car or any other vehicle.
Consult your doctor about the safety of the device regarding any medical device you may be using. Do not use the device near radio sources as it may cause interference. Use a soft, damp cloth to clean the device. Do not use any ethanol- or acetone-based fluids on it.
Warranty: lifetime. For further details, please visit our web site: www.levenhuk.com/warranty
The manufacturer reserves the right to make changes to the product range and specifications without prior notice.
levenhuk.com
Levenhuk Inc. (USA): 928 E 124th Ave. Ste D, Tampa, FL 33612, USA, +1 813 468-3001, [email protected]
Levenhuk Optics s.r.o. (Europe): V Chotejně 700/7, 102 00 Prague 102, Czech Republic, +420 737-004-919, [email protected]
Levenhuk®, LabZZ® are registered trademarks of Levenhuk, Inc.
© 2006—2022 Levenhuk, Inc. All rights reserved.
20220422


















