

WARNING
Read and understand this entire owner’s manual, including all safety information, before plugging in or using this product. Failure to do so could result in fire, electric shock, or serious personal injury.

CAUTION
Keep this owner’s manual for future reference. If you sell or give this product away, make sure this manual accompanies this product.
IMPORTANT SAFETY INFORMATION!

WARNING
When using electrical appliances basic precautions should always be followed to reduce the risk of fire, electric shock and injury to persons, including thefollowing:
- Read all instructions before using this heater.
- This heater is hot when in use. To avoid burning, do not touch the hotsurface. If provided, use handles when moving this heater. Keep combustible materials, such as furniture, pillows, bedding, papers, clothes, and curtains at least 1 m from the front of the heater and keep them away from the sides and rear. In order to avoid overheating, do not cover the heater.
- Extreme caution is necessary when any heater is used near children or the infirm and whenever the heater is left operating and unattended.
- Always unplug the heater when not in use.
- Do not operate any heater with a damaged cord or plug or after the heater malfunctions, has been dropped damaged in any manner, return heater to authorized service facility for examination, electrical or mechanical adjustment, or repair.
- Indoor use only, do not use outdoors.
- This heater is not intended for use in bathrooms, laundry areas, and similar indoor locations. Never locate a heater where it may fall into a bathtub or other water container.
- Do not run cord under carpeting. Do not cover the cord with throw rugs, runners, or similar coverings. Arrange the cord away from the traffic area and where it will not be tipped over.
- To disconnect heater, turn controls to off, then remove plug from outlet.
- Do not inset or allow foreign objects to enter any ventilation or exhaust opening as this may cause an electric shock or fire, or damage the heater.
- To prevent a possible fire, do not block air intakes or exhaust in any manner. Do not use on soft surfaces, like a bed, where openings many become blocked.
- A heater has hot and arcing or sparking parts inside. Do not use it in areas where gasoline or flammable liquids are used or stored.
- Use this heater only as describes in this manual. Any other use not recommended by the manufacturer may cause fire, electric shock, or injury to persons.
- DANGER-HIGH Temperatures may be generated under certain abnormal conditions. Do not partially or fully cover or obstruct the front of this heater.
- Replacement of the lamps should be done only while the heater is disconnected from the supply circuit.
- This appliance is not intended for use by persons (including children) with reduced physical, sensory, or capabilities, or lack of experience and knowledge unless they have been given supervision or instruction concerning the use of the appliance by a person responsible for their safety. Children should be supervised to ensure that they do not play with the appliance.
- CAUTION: In order to avoid a hazard due to inadvertent resetting of the thermal cut-out, this appliance must not be supplied through an external switching device, such as a timer, or connected to a circuit that is regularly switched on and off by the utility.
Preparation

This product includes a GLASS panel! Always use extreme caution when handling glass. Failure to do so could result in personal injury or property damage.
Remove all parts and hardware from the carton and place them on a clean, soft, dry surface. Parts and assembly steps are grouped for wall-hanging or recessing use. Check the parts list to make sure nothing is missing. Dispose of packaging materials properly. Please recycle whenever possible.
You will need the following tools (not included): Phillips screwdriver; stud finder; level; tape measure; electric drill; 1/4” wood drill bit, hammer.
Parts and Hardware

Specification and Dimension

Installation and Assembly
Your appliance is a wall-mounted, recessed, and/or mantel installed appliance. Select a suitable location that is not susceptible to moisture and is away from drapes, furniture and high traffic areas.
NOTE: Follow all National and local electrical codes.
MINIMUM CLEARANCE TO COMBUSTIBLES

MINIMUM MANTEL CLEARANCES
WARNING:
WHEN USING PAINT OR LACQUER TO FINISH THE MANTEL, THE PAINT OR LACQUER MUST BE HEAT RESISTANT TO PREVENT DISCOLOURATION.

Engine Only Recessed To Wall Installation

STEP A. Selection drywall to open a hole for the fireplace box. Size of the hole as below chart Figure ( A )

STEP B. Using the screwdriver to take off the screws from the front Figure (B)
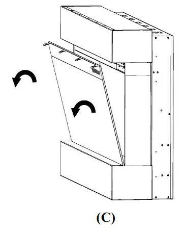
STEP C. Have two adult people to pull of the glass panel and take it out Figure (C)
STEP D. Fix the metal brackets to the BOTTOM and the TOP of the fireplace box. Figure(D,E)


NOTE: Metal brackets can be used as movable, please adjust to the best location as need
STEP E. Have two adult people to lift of the fireplace box and put it inside of the wall opening hole. Using the screwdriver to fix all wood screws and drywall anchors through the metal brackets to the wall and fixing tightly.
NOTE: Making sure that all screws and drywall anchors are well screwed.

STEP F. Your Electric fireplace will look as below after installation
Wall Mounted Installation
Due to the many different materials used on different walls, it is highly recommended that you consult your local builder before you install this appliance on the wall.
A. Select a location that is not prone to moisture and is located at least 36″ (914mm) away from combustible materials such as curtain drapes, furniture, bedding, paper, etc.
B. Have two people hold the appliance against the wall to determine the final location.
C. Place unit face down on a soft, non-abrasive surface. Remove the bracket from the back of the unit by removing the screws, refer to Figure 1.
D. Mark out location, then mount the bracket(s) onto the wall using the supplied screws. This bracket
MUST have the hooks facing upward and be level. NOTE: It is strongly recommended that the mounting bracket (G) be Screwedin to the wall studs Where possible. If the wall Studs cannot be used, ensure

That the supplied plastic anchors are used to affix the bracket to the wall and the bracket is adequately secured.
E. With the wall mounting bracket installed have two people lift the appliance up and insert the two hooks on the bracket into the two slots on the back of the appliance.
F. Check the appliance for stability ensuring that the bracket will not pull free from the wall.



Log-set / Crystal Ember Installation
(NOTE: Please make the installation according to the embers which you bought or selected.)
A. Glass front must be removed and the appliance must be mounted in its final location before the log-set / crystal/pebble embers are installed.
B. If your fireplace comes with a log-set, You do not need to do anything just use as it is. Figure1.
C. To switch to Crystals, firstly take the Log-set out of the fireplace slot, then Place the plastic tray ( J ) to the fireplace-designed place. Then carefully place crystal embers into the plastictray as illustrated. Apply an even layer from side to side. Figure 2, Figure 3.


HARD WIRING INSTALLATION
WARNING
TURN OFF THE APPLIANCE COMPLETELY AND LET COOLBEFORESERVICING. ONLYAQUALIFIEDSERVICE PERSON SHOULD SERVICE AND REPAIR THIS ELECTRIC APPLIANCE.
HARD WIRING CONNECTION
If it is necessary to hardwire this appliance, a qualified electrician must remove the cord connection, and wire the appliance directly to the household wiring.
This appliance must be electrically connected and grounded in accordance with local codes, if hard-wired. In the absence of local codes, use the current CSA C22.1 CANADIAN ELECTRICAL CODE in Canada or the current ANSI/NFPA 70 NATIONAL ELECTRICAL CODE in the United States.


A. Remove the cover plate from the right side bottom of the appliance by removing the three screws, as shown above.
B. Remove the wire connectors from the power cord. The power cord may be discarded.
C. Take the new cover plate, supplied in the hardware bag. Punch out the 7/8″ (22.2mm) hole and install a box connector through, into the junction box. Snap the box connector clamp onto the supply wires.
D. Using the wire connectors, connect the ground green wires (G), the common white wires (N) together, then the hot black wires (L), and then the reference to Figure 3.
E. Reinstall the cover plate using the three screws, as shown in Figure 1.

Operation

Read and understand this entire owner’s manual, including all safety information, before plugging in or using this product. Failure to do so could result in electric shock, fire, serious
injury, or death.
Power
Plug the power cord into a 110~120 Volt 15 Amp grounded outlet (see IMPORTANT SAFETY INFORMATION on Pages 2 and 3). Make sure the outlet is in good condition and that the plug is not loose. NEVER exceed the maximum amperage for the circuit. DO NOT plug other appliances into the same circuit.
Methods of Operation
This electric fireplace can be operated by the TOUCH PANEL, located on the right-side panel of the fireplace (see figure below), or by the battery-powered REMOTE CONTROL.
The operation and functions of the two methods are the same.
Before operating, please review the IMPORTANT SAFETY INFORMATION on Pages 2 and 3, and heed all warnings.

Remote Control &Control Panel Operation


NOTICE
When the fireplace is first turned on, a slight odor may be present. This is normal and should not occur again unless the fireplace is not used for a long period of time.
NOTICE
To improve operation, aim the remote control at the front of the fireplace. DO NOT press the buttons too quickly. Give the unit time to respond to each command.
Remote Control Battery Information
- This remote control uses two CR2025 batteries (included).
- Instructions for battery installation are on the Remote Control battery compartment.
NEVER dispose of batteries in fire. Failure to observe this precaution may result in an explosion. Dispose of batteries at your local hazardous material processing center.
Care and Maintenance
Cleaning

ALWAYS turn the fireplace OFF and unplug the power cord from the outlet before cleaning, performing maintenance, or moving this fireplace. Failure to do so could result in electric shock, fire, or personal injury.

NEVER immerse in water or spray with water. Doing so could result in electric shock, fire, or personal injury.
Metal:
- Buff using a soft cloth, slightly dampened with a citrus oil-based product.
- DO NOT use brass polish or household cleaners as these products will damage the metal trim.
Glass:
- Use a good quality glass cleaner sprayed onto the cloth or towel. Dry thoroughly with a paper towel or lint-free cloth.
- NEVER use abrasive cleansers, liquid sprays, or any cleaner that could scratch the surface.
Vents:
- Use a vacuum or duster to remove dust and dirt from the fireplace and vent areas.
Plastic:
- Wipe gently with a slightly damp cloth and a mild solution of dish soap and warm water.
- NEVER use abrasive cleansers, liquid sprays, or any cleaner that could scratch the surface.
Maintenance

Risk of electric shock! DO NOT OPEN any panels! No user-serviceable parts inside!
ALWAYS turn the fireplace OFF and unplug the power cord from the outlet before cleaning, performing maintenance, or moving this fireplace. Failure to do so could result in electric shock, fire, or personal injury.
Electrical and Moving Parts:
- The fan motors are lubricated at the factory and will not require lubrication.
- Electrical components are integrated in the fireplace and are not serviceable by the consumer.
Storage:
- Store fireplace in a clean dry place when not in use.

WARNING! NO SERVICING of the internal or electrical parts should be performed by the consumer. Do not service the unit yourself.


Evolution Fires Vegas 72 Electric Fireplace User Manual – Optimized PDF
Evolution Fires Vegas 72 Electric Fireplace User Manual – Original PDF



















