the Fresh & Furious™
SBL620

QUICK GUIDE

SAGE® RECOMMENDS SAFETY FIRST
At Sage® we are very safety conscious. We design and manufacture consumer products with the safety of you, our valued customer, foremost in mind. In addition we ask that you exercise a degree of care when using any electrical appliance and adhere to the following precautions.
IMPORTANT SAFEGUARDS
READ ALL INSTRUCTIONS BEFORE USE AND SAVE FOR FUTURE REFERENCE
- The full information book is available at sageappliances.com
- Before using the first time ensure your electricity supply is the same as shown on the label on the underside of the appliance.
- Remove and safely discard any packaging materials before first use.
- To eliminate a choking hazard for young children, safely discard the protective cover fitted to the power plug.
- This appliance is for household use only. Do not use the appliance for anything other than its intended use. Do not use in moving vehicles or boats. Do not use outdoors. Misuse may cause injury.
- Fully unwind the power cord before operating.
- Position the appliance on a stable, heat resistant, level, dry surface away from the edge and do not operate on or near a heat source such as a hot plate, oven or gas hob.
- Vibration during operation may cause the appliance to move.
- Do not let the power cord hang over the edge of a bench or table, touch hot surfaces or become knotted.
- Always ensure the appliance is turned OFF, unplugged at the power outlet and has been allowed to cool before cleaning, attempting to move or storing.
- Always turn the appliance to the off position, switch off at the power outlet and unplug at the power outlet when the appliance is not in use.
- Do not use the appliance if the power cord, plug, or appliance becomes damaged in any way. If damaged and maintenance other than cleaning is required please contact Sage Customer Service or visit sageappliances.com
- Any maintenance other than cleaning should be performed by an authorised Sage® service centre.
- Children should not play with the appliance.
- Cleaning of the appliance should not be carried out by children unless they are 8 year or older and supervised.
- The appliance and its cord should be kept out of reach of children aged 8 years and younger.
- The installation of a residual current safety switch is recommended to provide additional safety when using all electrical appliances. Safety switches with a rated operating current not more than 30mA are recommended. Consult an electrician for professional advice.
- Always ensure the appliance is properly assembled before use. The appliance will not operate unless properly assembled.
- Do not use the appliance on a sink drain board.
- Keep hands, fingers, hair, clothing as well as spatulas and other utensils away from moving or rotating parts during operation.
- Do not use the appliance for anything other than food and/or beverage preparation.
- In order to avoid the possible hazard of the appliance starting by itself due to inadvertent resetting of the overload protection, do not attach an external switching device (such as a timer) or connect the appliance to a circuit that can regularly switch the appliance on and off.
- Carefully read all instructions before operation and save for future reference.
- The appliance can be used by persons with reduced physical or mental capabilities or a lack of experience and knowledge, only if they have been given supervision or instruction concerning use of the appliance in a safe way and understand the hazards involved.
- This appliance shall not be used by children.
- Do not leave the appliance unattended when in use.
- Allow the motor to rest for 1 minute between each use.
3
- Be careful when handling and cleaning blades, as they are very sharp. Mishandling of the blades may cause injury.
- Avoid putting the cup or jug on the motor base while the motor is still spinning.
- Do not operate without any ingredients in the cup or jug.
- Never attempt to operate with damaged blades, or with utensils, or any foreign objects inside the cup or jug.
- Do not put the cup or jug in extremes of heat or cold, for example placing a cold jug into hot water, or vice versa.
- Lid must be firmly secured to the jug before operation to ensure internal contents do not escape, spray or overflow.
- Do not remove the jug from the motor base while blender is in use.
- Do not process hot or boiling liquids. Allow to cool before placing into the blender jug.
- Do not use blender while OVERLOAD PROTECTION is flashing on the LCD. If this occurs, unplug the blender and wait for 30 minutes until the motor has cooled. Once cooled, you will be able to use the blender as usual again.
- Under heavy load the blender should not be operated for more than 1 minute. Heavy load for this blender is defined as: 6 ice cubes (120g), 3 frozen banana halves (250g), 180g frozen raspberries, 500mL milk, 3 scoops ice cream (140g). Under loading equivalent to this or heavier the blender should not be operated for more than 1 minute.

The symbol shown indicates that this appliance should not be disposed of in normal household waste. It should be taken to a local authority waste collection centre designated for this purpose or to a dealer providing this service. For more information, please contact your local council office.
To protect against electric shock, do not immerse the power plug, cord or appliance in water or any liquid.
SAVE THESE INSTRUCTIONS
4
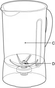
Components
![]()



A. Inner measuring cup
B. Sage® Assist™ lid
C. 1.5 litre BPA-free Eastman Tritan™ jug
Impact resistant, shatter proof, and dishwasher safe.
D. Kinetix® blade and bowl system
E. Blender Base
F. SMOOTHIES and AUTO PULSE/ICE CRUSH programs
G. 5 electronic speeds
H. Auto Clean Function
![]()
Rating Information
220-240V~ 50/60Hz 1200-1300W
5

Functions
BEFORE FIRST USE
Before using your Sage® Blender for the first time, remove any packaging material and promotional labels.
Wash the lid, inner lid, blender jug (refer to “Care & Cleaning”) in warm, soapy water with a soft cloth. Rinse and dry thoroughly. Do not place parts in the dishwasher (with the exception of the blender jug).
Please refer to the “Care & Cleaning” Section for further details. The motor base can be wiped with a damp cloth. Dry thoroughly.
ASSEMBLING AND ATTACHING THE BLENDER
Step 1
Place the motor base on a flat, dry surface such as a counter-top. Ensure that the motor base is turned off at the ON / OFF button and the power cord is unplugged.
Step 2
With the blender jug in the upright position place it on the motor base. The handle of the blender can be positioned to the left or right hand side of the appliance.

Step 3
Add food or liquid into the blender jug ensuring not to exceed the ‘MAX’ mark.
Place the blender lid firmly into position on the top of the blender jug. Insert the clear inner measuring lid into the blender lid and turn clockwise to lock into position.

Your Sage® Blender features a Sage® Assist™ Lid. This allows the lid to fit tightly onto the blender jug, avoiding displacement during operation. The ring pull design allows the user to easily remove the lid with a simple leverage action.
Step 4
Plug power cord into a 220-240V power outlet and turn on.
Step 5
Press the ON / OFF button on the far left of the control panel to turn the blender on.
The ON / OFF button will illuminate and flash. The LCD timer screen will illuminate with ’00’ displayed.
- Flashing light indicates ready to operate.
Avoid any contact with moveable parts while in operation. - Do not fill the blender jug above the ‘MAX’ line. When the blender jug is filled at or near the ‘MAX’ line place one hand on the blender lid to avoid displacement of the lid during operation.
![]()
WARNING
Oils in citrus rind can damage the material of your blender jug if being exposed to it for a longer period. Always clean your blender jug immediately after processing citrus rind.
6

MANUAL SPEED SELECTION ON / OFF
The ON / OFF button powers the unit into READY mode.
ELECTRONIC SPEED CONTROL
There are 5 electronic speed buttons from MIX through to LIQUIFY.
MIX combines more delicate foods with a folding motion, and is good for combining wet and dry ingredients.
LIQUIFY is the fastest setting, and is ideal for breaking down ingredients to make cocktails and other finely blended mixtures.
Select the required speed (1 to 5) by pressing the corresponding speed button. The blender will start to operate and the selected speed button will illuminate. The ON / OFF button will illuminate and cease to flash.
The LCD timer screen will start counting up in one second increments until 120 seconds is reached.
NOTE
Operate the blender only for the appropriate amount of time required do not over blend. When 120 seconds is reached, the blender will automatically stop blending and the selected speed button illumination will go out.
The ON / OFF button will illuminate and flash. After a few seconds the LCD timer screen will revert to ’00’.
- The Sage® Blender will automatically stop blending after 120 seconds. This is a safety feature and restricts wear on the motor.
- The speed can be changed at any time during the blending process. Each time a new speed is selected its button will illuminate and the previous speed button illumination will go out. The number of seconds on the LCD timer screen will continue to count upwards to 120 seconds unless interrupted.
Count-up timer
The blender timer counts up in seconds as it blends on one of the 5 electronic speeds from MIX to LIQUIFY. When using the timer this way, the blender will stop after 2 minutes.
PRESET PROGRAMS
Your Sage® Blender features three additional functions, ‘AUTO PULSE/ICE CRUSH’, ‘GREEN SMOOTHIE’ and ‘SMOOTHIE’. These three pre-programmed cycles automatically adjust the blending time and speeds to optimise blending results. The maximum amount of ice cubes the blender can blend at any one time is 1 standard ice tray or 250g. Select the required function by pressing the corresponding function button. The blender will start to operate and the selected function button will illuminate. The ON / OFF button will illuminate and stop flashing. The LCD timer screen will start counting down in one second increments until ’00’ is displayed.
AUTO CLEAN
Use to remove most of the ingredients off the blender walls and blades. Add 2 cups warm soapy water, and press the clean button.
For harder to clean, sticky or thick ingredients, add ½ teaspoon of dish liquid detergent for extra cleaning power. For best results, clean the blender jug this way immediately after use.
NOTE
If the blender is running and a different button is pressed, the speed will automatically switch to that program without stopping.
WARNING
Never place anything other than food and liquids in the blender while the motor is running.
NOTE
Use the PULSE button when the food that is being processed is too thick or coarse to circulate within the blender jug.
At the end of use, always ensure the blender is turned off by pressing the ON / OFF button on the control panel. Then unplug the cord. Ensure the motor and blades have completely stopped before attempting to move the appliance, or when the Sage® Blender is not in use and before disassembling, cleaning and storing.
7
Troubleshooting
| PROBLEM | EASY SOLUTION |
| Motor doesn’t start or blade doesn’t rotate | • Check the blender jug and lid are securely in place. • Check the ON / OFF button and selected function button is illuminated. • Check that the power plug is properly inserted into the power outlet. |
| Food is unevenly chopped | • This can happen when too much food is being blended at one time. Try a smaller amount, and work in batches if necessary. • The ingredients may be too large. Try cutting into smaller pieces. For best results, ingredients should be in pieces no larger than 2cm. |
| Food is chopped too fine or is watery | • Try blending for shorter period of time. Use the PULSE function for better control. |
| Food sticks to blade and jug | • The mixture may be too thick. Try adding more liquid and/or using a slower speed for blending. |
| Blender overloaded (all lights flashing) | • This blender has overload protection to prevent damage to the motor. OVERLOAD PROTECTION will flash on the LCD. Unplug and allow the blender to cool down for 30 minutes. Once cooled, you will be able to use the blender as usual again. • We recommend blending in smaller batches, or cutting ingredients into smaller batches. |
Care & Cleaning
Jug and lid
In order to keep your Jug clean and avoid food drying on the blades and jug, follow the below steps as soon as possible after use
- Rinse most of the ingredients off the jug and lid.
- Fill the jug with 500ml of warm water and press the AUTO CLEAN button. If thick or sticky ingredients require extra cleaning power add a few drops of dish liquid detergent.
- Rinse the jug and lid again and/or wash separately in warm soapy water with a soft cloth or bottle brush.
- It is most effective to clean the jug immediately after use.
Motor base
To clean the motor base, wipe with a soft, damp cloth then dry thoroughly. Wipe any excess food particles from the power cord.
Cleaning agents
Do not use abrasive scouring pads or cleaners on either the motor base or the jug, as they may scratch the surface. Use only warm soapy water with a soft cloth.
Dishwasher
The blender jug and lid can be washed in the dishwasher on a standard wash cycle. The jug can be placed on the bottom shelf, however the lid and inner measuring cap should be washed on the top shelf only. Be aware that washing parts on a regular base in the dishwasher can shorten the life of them due to prolonged exposure to harsh detergents, hot water and pressure.
Stubborn food stains and odours
Strong smelling foods such as garlic, fish and some vegetables such as carrots may leave an odour or stain on the blender jug and lid. To remove, soak blender jug and lid for 5 minutes in warm soapy water. Then wash with a mild detergent and warm water, rinse well and dry thoroughly. Store jug with the lid off.
Storage
Store your blender upright with the blender jug assembled on the motor base, or beside it. Do not place anything on top. To allow air to circulate, keep the lid off.
8
Notes
9
BRG Appliances Limited
Unit 3.2, Power Road Studios, 114 Power Road, London, W4 5PY
Freephone (UK Landline): 0808 178 1650
Mobile Calls (National Rate): 0333 0142 970

Registered in Germany No. HRB 81309 (AG Düsseldorf).
Registered in England & Wales No. 8223512.
Due to continued product improvement, the products illustrated or photographed in this document may vary slightly from the actual product.
Copyright BRG Appliances 2017.
SBL620 A18
Components



















