![]()
Model : 38115160

Foldable Sun Shelter
Operators’ Manual

Customer Service : 1-844-786-5691
Our Customer service staff is available to help you. For any problem with your purchase, or to receive further information about this product, please call our toll-free number.
SAVE THIS MANUAL
Keep this manual and the original sales invoice in a safe, dry place for future reference.

WARNING!
To reduce the risk of serious injury or damage to equipment, read all following safety instructions before assembling and using the sun shelter. Failure to follow these warnings may result in serious injury or death.
- Keep all children and pets away from the assembly area. Children and pets should be supervised while sun shelter is being assembled.
- The assembled sun shelter should be located at least 6 feet (2 m) from any obstruction such as fences, garage, house, overhanging branches, laundry lines or electrical wires. Consult with local municipal office for specific requirements.
- This product is for domestic outdoor use i.e. decorative and sunshade purpose only.
- Install the sun shelter on level ground. Stakes are provided to secure the sun shelter to the ground. Do not assemble the sun shelter on muddy, sandy or loose soil, as stakes do not have enough anchorage in these types of soil. If you wish to secure the sun shelter to a wood deck or concrete surface, use anchors suited to these surfaces (anchors not included).
- Some parts may contain sharp edges. Wear protective gloves if necessary during assembly.
- This unit is heavy. DO NOT assemble this item alone. Make sure there is sufficient manpower for safe assembling or moving the sun shelter.
- Check all nuts and bolts periodically for tightness and when required, tighten them again.
- While this sun shelter is manufactured to withstand winds through only the supplied ground stakes, in areas subject to frequent severe weather, securing the sun shelter to a deck, concrete patio or footings should be considered.
- Always ensure that the roof canvas is tensioned, so as to avoid water accumulation on the roof.
- Remove accumulated water on the roof immediately, or disassemble the sun shelter in order to avoid damages.
- DO NOT remove snow from inside the sun shelter by pushing on the fabric. Use a snow rake from the outside of the sun shelter
- Snow must be cleared off regularly during snowy days, remove the snow at the top when it is thicker than 4 in (10 cm). In order to avoid damages, use a plastic snow rake to remove excessive snow and ice buildup from roof and keep away from falling debris.
- ALWAYS DISASSEMBLE the sun shelter before experiencing heavy wind conditions, as it is semi-permanent construction and not designed to withstand harsh weather, including high wind, rain and snow.
- Please check your state and local regulations prior to purchasing. Some jurisdictions may require permits for installation and use. Some special procedures may be valid in your area.
CAUTION:
- DO NOT use or enter the sun shelter under harsh weather (e.g. thunderstorms, high winds, hail, heavy snow etc.). In these conditions, it might tip over and could cause serious injury to bystanders. Any damage or injury caused by which is not covered by the warranty.
- DO NOT install the sun shelter adjacent to trees or a sloped roof. Snow and ice may slide onto the sun shelter and cause it to collapse.
- DO NOT use or enter the sun shelter if there exist any of the following or of similar conditions:
- visible movement of support members, roofing panels or sagging roofline.
- creaks or audible noise from the sun shelter.
- cracks, fractures or malformation of support member or roof panels.
- damaged or missing fasteners.
- DO NOT hang any weights on the roof frame.
- DO NOT use ladder leaning against the sun shelter or climbing onto the roof.
- Keep away from heat or flame source.
- If the sun shelter will not be used for a long period of time (e.g. during winter time), disassemble and store it in a clean, dry environment.
PREPARATION:
Required for Assembly:

Before beginning assembly of the product, make sure all parts are present. Compare parts with package contents list and hardware contents list.
If any part is missing or damaged, do not attempt to assemble the product.
Arrange 2 or more manpower when assembling or moving the product. Estimated Assembly Time: 5 – 10 minutes.
CARE AND MAINTENANCE :
- Our steel components for sun shelter and garden accessories are treated with rust inhibiting paint that protects it from rusting. However, due to the nature of steel, surface oxidation (rusting) will occur if these protective coatings are scratched. This is not a defect and thus not covered by the warranty.
To minimize this condition, we recommend care when assembling & handling the product to prevent scratching the paint. Should any scratch or damage occurs, we recommend immediate touch-ups with rust inhibiting paint. Surface rust can also be easily removed with a very light application of regular cooking oil. If surface oxidation (rusting) occurs and if no measure is taken to prevent this, the oxidation may start dripping onto deck or patio and caused damaging stains, which may be difficult to remove. This can be prevented if the above-mentioned measures are taken to keep the product from oxidizing.
- Do not use bleach, acid, or other abrasive cleaners on the roof or frame parts.
- Keep instruction manual for future reference.
- Keep the original packaging to store the sun shelter.
Parts List
| Description | No. | Qty | Image |
| A | Sun shelter frame | 1 | ![]() |
| B | Canopy | 1 | |
| AA | Stakes | 4 | |
| BB | Bag | 1 | |
| CC | Large stakes | 4 | |
| DD | Rope | 4 |

Step 1: Take out the sun shelter frame (A) from the bag (BB) and place it upright. Attach the canopy (B) to the frame with Velcro straps. Have 4 people pull the four corners outwards.

Step 2: On each corner, pull the plastic connector up along the post until it’s secured with the spring buckle. All four corners should be lifted simultaneously for easier setup.

Step 3: Push the second tube up until the spring buckle secures it in place.

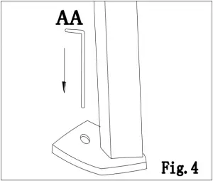
Step 4: Use the stakes (AA) to secure the sun shelter to the ground.

Step 5: Tighten rope (DD) on the four corners of the sun shelter and secure to the ground by using large stakes (CC).
WARRANTY
(1-year warranty)
Thank you for purchasing this UBERHAUS product. These products have been made to demanding, high-quality standards and are guaranteed for domestic use against manufacturing defects. This warranty does not affect your statutory rights.
In case of any malfunction of your UBERHAUS product (failure, missing part, etc.), please contact one of our service technicians at our toll-free service line at 11-844-786-5691 from 8:30 AM to 4:30 PM, Monday to Friday, Eastern time. The manufacturer reserves the right to repair or replace the defective product, at its discretion.
The product is guaranteed if used for normal trade purposes. Any warranty is invalid if the product has been overloaded or subject to neglect, improper use or an attempted repair other than by an authorized agent. Heavy-duty or daily professional/commercial usage is not guaranteed. Due to continuous product improvement, we reserve the right to change the product specifications without prior notice.
Production Number: xxxxxxxx




















