Wickes Bath Screens Half Frame Installation Guide

Important Note on Safety Glass
In order to comply with European Regulatory Requirements,all of our shower enclosures/bath screens undergo a thermal toughening process.
This process makes the glass significantly stronger compared to standard glass,however in the unlikely event the glass should break during use,the glass in its entirety will shatter into small manageable fragments, the intention of this ensures avoiding large dangerously sharp shards of glass
Important – Please Read
- Important: The wall plugs included in this pack are for solid walls only. If the product is to be mounted on a partition or stud wall, specialised fixings should be purchased separately-your local building merchant should be able to ensure you have the correct fixings for intended wall type. ecAUTION! Before drilling into any walls check that there are no hidden cables or pipes. Exercise great care when using power tools near water. The use of a residual current device (RCD) or cordless drill is recommended. Always double check the positioning and measurements before drilling holes.
- This product is heavy and requires two people during lifting and installation.
- Glass is delicate, support on cardboard to minimise the risk of damage
Product Information
- Adjustment=750mm panel adjustment ⇒ 730-750mm
Installation Tips
- Fixing tips; A piece of insulating tape or a couple of layers of masking tape applied to the wall before marking out the fixing holes will help stop the drill from wandering, particularly on tiled surfaces.
- When working near a basin or bath insert the plug into the waste, this will help you avoid losing small parts. Also take care not to drop accessories or tools onto the bath or basin, use a towel or bathmat to protect delicate surfaces.
- Do not fix the wall profile to newly plastered,painted or papered walls as chemical reaction may cause discolouration to surface finish.
Legal statement
- We have taken great care to ensure that this product reaches you in perfect condition. However should any parts be damaged or missing please contact your point of
purchase. This does not affect your statutory rights. In addition if you require replacement parts your point of purchase will be happy to assist.
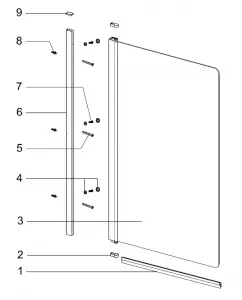
10ENTIFICATION OF PARTS

Fixings & fittings supplied

(Tools required(not supplied)

ASSEMBLY INSTRUCTIONS
-Position wall channel(6) with a spirit level to ensure Vertial alignment. -Mark the positions of pre-drilled fixing holes
on the wall profile (6) against the wall with a pencil. -Drill the marked holes using a 6mm masonry drill bit
-Install supplied wall plugs(8). -Fix the wall profile(6) onto the wall using screws(5).

2. ASSEMBL y INSTRUCTIONS
-Place top and bottom hinge covers(2) onto Screen frame(3).
-Install screen seal(1) onto the bottom of the
screen glass(3).

3 ASSEMBLY INSTRUCTIONS
-Insert frame(3) onto wall channel (6).
-Position the glass ensuring the bottom seal is in full and even contact with the bath.
-Drill holes into the wall channel using a 3mm HSS drill 03 HSS drill bit
Using screws (7) and caps (4) to fix the frame to wall profile (6). -Put cap(9) onto top of wall profile(6)
Apply silicone sealant to the outside of the bath screen.
Please note: Do not apply silicone sealant to the inside of the bath screen.

CLEANING -general
Use only warm soapy water and damp cloth/sponge on a regular basis. Do not use abrasive scouring powders, chemicals or aerosol cleaners-these
may result in damage to the surfaces, in particular, the plated component parts. sealant drying times may vary in cold damp conditions and will be extended where thicker beads of sealant are applied.Allow sealant to dry completely before exposing to water. We have taken great care to ensure that this product reaches you in perfect condition. However should any parts be damaged or missing please contact your point of purchase.This does not affect your statutory rights. In addition if you require replacement parts your point of purchase will be happy to assist.





















