AT-2500/AT-3200 – Automatic Washing Machine
User Manual
CAUTION: DO NOT CONNECT.TO THE HOT WATER SUPPLY THE MACHINE IS FOR COLD WATER CONNECTION ONLY!
PLEASE READ THE OPERATION MANUAL IN FULL BEFORE USING THIS UNIT.
NAME OF RESPECTIVE PARTS AND SPECIFICATIONS
Names of respective parts

Accessories

Specifications
| Size | 2.5 kg | 410 x 420 x6 40(mm) | Weight of the product | 16 kg |
| 3.2 kg | 410 x 420 x 740(mm) | 18.5 kg | ||
| Rated Input power | 235 W | Rated volume of wash and spinning | 2.5 kg(dry clothes) | |
| 3.2 kg(dry clothes) | ||||
| Rated voltage | 240V∼ | Maximum water pressure permitted in the water inlet | 0.6 Mpa | |
| Rated frequency | 50 Hz | Minimum water pressure penitent in the water inlet | 0.1 Mpa | |
NOTICE: Ensure that a Pressure limiting valve is used if the pressure is outside the above specifications.
Precautions
| Safe use of power This washing machine is to be used on Australian and New Zealand 3 pin 24 W outlets only. | Avoid from installing in damp areas To reduce the risk of Electric shock, do not place the washing machine in extremely high areas of moisture. |
![]() | ![]() |
| Don’t use hot water This washing machine is for cold water connection only! | Do not place your hands in the tub while spinning Please avoid from opening the lid while the unit is in operation. It is very dangerous to place your hands in the tub while it is spinning. |
![]() | ![]() |
| Avoid from spraying with water Do not spray the washing machine with water, to clean use a damp soft cloth and wipe as required. | Keep away from smoke and fire Don’t place lighted candles, cigarettes, mosquito-repellent incense and thermos bottles nearby to avoid fire accidents or deformation of the plastics. |
![]() | ![]() |
This appliance is not intended for use by persons (including children) with reduced physical, sensory or mental capabilities, or lack of experience and knowledge, unless they have been given supervision or instruction concerning use of the appliance by a person responsible for their safety.
Simple installation
Simple installation
Step 1: The washing machine should be placed inside the room with a flat floor, which is convenient for water supply and drain, has low moisture and no direct sunshine, and does not freeze in winter.
Step 2: All foam packing (including the fixing frame on the base foam) should be taken off, otherwise the washing machine will not work.
Step 3: Adjust by either screwing in or out the leg adjuster and when the machine is level on all 4 corners, lock off the outer adjustment to hold in place. (The Leg Adjuster is located on the front right hand side of the machine.)
NOTE:
If the washing machine is not placed flat (the inclination angle is over 2° ), it may cause great vibration or automatic check and rectification or other abnormal circumstances will often take place in the course of spinning.

Step 4: Installation of the base cover
Place the washing machine down to the front and rest on a soft blanket and screw in place the lower base cover.
NOTE: The washing machine must not be placed on carpet pile, to where this blocks the lower ventilation of the unit.

Step 5: Installation of the water inlet hose
- Connect the 90 Deg end of the water inlet hose to the washing machine.
- Connect the other end of the water inlet hose to the COLD Water outlet.
- Ensure that the fitting is not forced or cross threaded as this will damage the fitting.
- Open the tap to charge the line with water, check the hose fittings to make sure that no water leaks are noted. If water is found to be leaking, close the tap and you will need to check the connection correctly.

- NOTE: You must use new water inlet hose in the attachments . Old water inlet hose does not be used again and again.
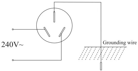
Step 6: Power source and grounding
The washing machine employs alternative current with the rated voltage and frequency. When the voltage fluctuates between 10% of rated voltage, the washing machine can work normally. A special power socket for the washing machine had better be set beside the washing machine for convenience and safety. The method of connection of the socket is as the figure below:
Notices:
- The socket and the grounding wire must be installed by an electrician to prevent incorrect installation or use of the socket, and to guarantee the safety of use of electricity.

- The power wire of the washing machine employs Y connection and the replacement of the power wire should be carried out by professionals.
- No connection of the grounding wire with the neutral wire, otherwise the cabinet will be charged, which is likely to cause the danger of electric shock.
Step 7: Alteration of the drain direction (Factory set for Right hand side connection)
- Put the washing machine down to the front, then screw off the screws by cross head screwdriver and remove the base cover.

- Pull the drain hose out from trench. Tune to left and put into the trench.

- Put the base cover back again.
Step 8: Installation of the drain hose(only upper-drain)
- The drain hose must be no higher than 100cm from the ground level.
NOTE: Make sure that the drain hose can not be blocked, as this will lead to a drain alarm fault.
CONTROL PANEL DESIGN
Control panel design

In order to protect controller, the interval of switching on and off power should be more than 30 seconds.
FULLY AUTOMATIC PROGRAM
Preparations before washing
- Check that the drain hose is correctly fitted.
- Connect the water inlet hose and open the tap.
- Put the power plug into the socket.
- Take out the coins and other sundries and shake off the mud and sand on the clothes.
- Place the clothes and the detergent into the tub.
Program Time List
| Process | Wash time(min) | Rinse times/time(min) | Spin time(min) | Total time(min) |
| Wash&Rinse&Spin | Subtly(10) | Normal for twice(15) | Normal(5) | About 30 |
| Wash&Rinse | Subtly(1 0) | Normal for twice(15) | About 25 | |
| Rinse&Spin | Normal for twice(15) | Normal(5) | About 20 | |
| Spin | Normal(5) | About 5 | ||
| Rapid | Subtly(6) | Normal for once(8) | Normal(4) | About 18 |
Program selection
- According to needs, press the “PROCESS” button, the indicating lights move in turn, you may optionally select “WASH&RINSE&SPIN”, “WASH&RINSE” “RINSE&SPIN” , single “WASH” single “RINSE”, single “SPIN” .
- After starting, If you want to re-set “PROGRAM” “PROCESS” “WATER LEVEL” , Please press the “PAUSE” button to re-set programs, then press the “START” button to run new program.
OPERATION METHOD
Operation method
Begin to wash clothes
- Select the proper water level according to the quantities of clothes.
- Select the programs and process.
- Close the lid and press “START/PAUSE” button.
Pre-wash of the dirty clothes
As for seriously stained dirty clothes with mud, one of the “Rinse-spin” program can be selected to perform pre-washing, and then add washing powder and select the fully automatic program to wash them.
This appliance is intended to be used in household and similar applications such as:
– staff kitchen areas in shops, office and other working environments;
– farm house;
– by clients in hotels, motels and other residential type environments;
– bed and breakfast type environments;
– areas for communal use in blocks of flats or in launderettes.
– Caravan and RV use where 240V power is available. Not intended to be used as 12V appliance.
Young children should be supervised to ensure that they do not play with the appliance.- If the supply cord is damaged, it must be replaced by the manufacturer, its service agent or similarly qualified persons in order to avoid a hazard.
- The instruction for appliances connected to the water mains by detachable hose-sets supplied with the appliance are to be used and that old hose-sets should not be reused.
- The washing machine has ventilation openings in the base, these openings must not obstructed by a carpet.
Volume of washing and detergent
For 2.5 kg
| Weight of washing | Water level | Water volume | Dosage of the washing powder |
| 1.0-2.5 kg | High | About 20 L | 25 g |
| <1.0 kg | Low | About 15 L | 18 g |
For 3.2 kg
| Weight of washing | Water level | Water volume | Dosage of the washing powder |
| 2.0-3.2 kg | High | About 26 L | 32 g |
| 1.0-2.0 kg | Med | About 20 L | 25g |
| <1.0 kg | Low | About 15 L | 18 g |
* Please follow the above as a guide, always read the usage and dosage instructions on the detergent used.
Weight standard of the washing
![]() | Union coat about 800g | ![]() | Jacket(cotton) about 800g |
![]() | Single bed sheet (cotton) about 600g | ![]() | Dungaree(lsets) about 1120g |
![]() | Short sleeves shirt (cotton) about 180g | ![]() | Trunks (cotton) about 70g |
![]() | Jeans about 800g | ![]() | Towel quilt (cotton) about CD 900g |
![]() | Pyjamas about 200g | ![]() | Long sleeves shirt (blended) about 300g |
![]() | Socks (blended) about 50g | ![]() | Bath towel (cotton) about 300g |
METHOD OF MAINTENANCE
Method of maintenance
Prior to any maintenance or service, please ensure that the power and water have been correctly isolated to the machine.
After ending of the program
* At the end of a completed washing program, the machine will sound to alert you that the cycle has been completed. Remove the clothes from the machine and insert the foam support if washing is completed.
* To reduce the risk of electric shock and water leaking, isolate the water and power supply while not in use.
Maintenance of shell
Use a damp gentle cloth to wipe clean the washing machine. Avoid the use of harsh detergents or chemicals as it may damage the surface of the washing machine.

Cleaning of the lint filter
After each completed washing cycle ensure that the Lint filter is cleaned.
- Remove the lint filter from the tub.
- Carefully open the filter and remove the lint.
- Refit the lint filter back into the unit.

Cleaning of the water inlet
Periodically clean the water inlet filter screen as this maybe blocked by debris.
- Turn off the water source and switch on the power.
- Start the washing machine cycle and continue for 5 seconds (this allows the water in the hose to flow and removes any pressure in the line) then power off the machine.
- Remove the water inlet hose, take out the water inlet filter screen from the inlet valve, clean the filter, refit the filter and reconnect the water inlet hose.

Troubleshooting
| Symptom | Cause | Solution |
| * No indication in controller. | * The power lead may be Disconnected. * The power point may be off. * The machine is not switched on or is in Auto power off function. * Fuse may have blown. | * Check the power lead to the machine and power point is on. * Check the Main safety switch in RV or Pole. * Press the “POWER” button. * Replace fuse. |
| * Leaking from the Water Inlet hose or fittings. | *Incorrect fitment of the inlet hose. * Faulty Water inlet hose. * Faucet or washing machine connection is loose. | * Check for correct fitment. * Replace water inlet hose. * Hand tighten the connections. |
| * Drain failure | * The Drain hose is mounted too high. * The drain hose is clogged or blogged. | * Adjust the drain hose. * Check that the drain hose is not blocked and can flow freely. |
| * Water fill failure | * Poor Water Flow * Restricted water inlet filter | * Check water supply connections. * Check water inlet filter screen. |
| * Water fill during Spin cycle | * Clothes are uneven in the tub | * If the clothes are uneven around the spin dry tub, the safety device will activate and may stop the spin process, the washer may automatically revert to rinse mode to help to adjust the washing load. After the tub is balanced the spin mode will resume. |
| * No spin mode after Rinse mode. | * The lid has been opened and may not be closed. | * Check to ensure that the lid is correctly closed. |
* All troubleshooting remedy and solution checking should be performed with the washing machine power in the off position, the mains power off and plug removed. Do not attempt troubleshooting check in a damp or wet area.
ERROR CODE
Other functions
| Error code | Indication of fault | Solution of alarm |
| The indicator flashes and shows “El” | No water flow | * Check that the water tap is open. * Check mains pressure connection to RV. * Check the water inlet filter screen After the above is rectified, open and close the lid to reset the washing machine. |
| The indicator flashes and shows “E2” | Lid is open | * Ensure that the lid is completely closed. * Open and re close the lid. * Clean debris from lid surround. |
| The indicator flashes and shows “E3” | Out of balance | * Ensure that the washing machine is level and stable, adjust as required. * If the clothes are uneven, adjust the washing load. After the above is rectified, open and close the lid to reset the washing machine. |
| The indicator flashes and shows “E4” | Drain alarm | * Ensure drain hose is no higher than 100cm from the ground level. * Do not cover the end of the drain pipe, this MUST drain freely. After the above is rectified, open and close the lid to to reset the washing machine. |
Should the display show an error “Fl” please isolate both power and water and contact the service centre for assistance.
Automatic power off function
- Should the machine be turned on, with no program selected within 10 minutes, the machine will power off automatically to save power
- After the washing program has finished the buzzer will sound six times to alert you that the cycle has finished and will power off to save power.
Out of balance adjustment
- If the clothes are uneven around the spin dry tub, the safety device will activate and may stop the spin process, the washer may automatically revert to rinse mode to help to adjust the washing load. After the tub is balanced the spin mode will resume.
- This function will activate twice if needed, if there is no change, the alarm “E3” will be activated.
Address:
Aussie Traveller Pty Ltd
11-15 Oasis Court
Clontarf, OLD, 4109
Website: www.aussietraveller.com.au
More information https://www.caravansplus.com.au











































