
KTTS505ESS Integrated Compactor
User Guide
INTEGRATED COMPACTOR
Use & Care Guide
For questions about features, operation/performance, parts, accessories or services, call: 1-800-422-1230 or visit our website at www.kitchenaid.com
In Canada, for assistance, installation or service, call: 1-800-807-6777 or visit our website at www.KitchenAid.ca
COMPACTOR SAFETY
Your safety and the safety of others are very important.
We have provided many important safety messages in this manual and on your appliance. Always read and obey all safety messages.
This is the safety alert symbol. This symbol alerts you to potential hazards that can kill or hurt you and others.
All safety messages will follow the safety alert symbol and either the word “DANGER” or “WARNING.” These words mean:
DANGER
You can be killed or seriously injured if you don’t immediately follow instructions.
WARNING
You can be killed or seriously injured if you don’t follow instructions.
All safety messages will tell you what the potential hazard is, tell you how to reduce the chance of injury, and tell you what can happen if the instructions are not followed.
IMPORTANT SAFETY INSTRUCTIONS
WARNING: When using an electrical appliance, basic precautions should always be followed, including the following:
- Read all instructions before using the compactor.
- Close supervision is necessary when used by or near children. Do not allow to be used as a toy, or to run unattended at any time. Lock Key Switch when not in use and store key out of reach of children.
- Do not touch moving parts.
- Do not operate with a damaged cord set, plug, motor, or after damage in any manner. Have the compactor examined, repaired or adjusted by an authorized serviceperson.
- Do not compact toxic or volatile flammable material such as oily rags and insect sprays. Do not compact lighted cigarettes, cigars, or other hot or burning items. Do not overload the compactor.
- Do not take apart the compactor. Incorrect reassembly can cause electric shock when subsequently used.
- Handle a loaded trash bag with care. Sharp objects can pierce the bag and cause injury. Do not overload the trash bag with heavy material such as glass.
- This compactor is intended for household use only.
- Use only for intended use as described in this manual. Do not use other than the manufacturer’s recommended attachments.
SAVE THESE INSTRUCTIONS
INSTALLATION INSTRUCTIONS
Installer: Leave Use and Care Guide with the homeowner.
Homeowner: Keep Use and Care Guide for future reference and for local electrical inspector’s use, if required.
Unpacking
WARNING
Excessive Weight Hazard
Use two or more people to move and install a compactor. Failure to do so can result in back or another injury.
IMPORTANT:
■ Do not grasp the console to move the compactor.
■ Begin in the room where the compactor will be located.
- Remove the compactor from the shipping carton.
- Remove all packaging materials such as tape and shipping pads.
- Use a mild detergent and warm water to remove waxy residue caused by shipping material.
- Dry thoroughly with a soft cloth. For more information, see “Cleaning.”
- Be sure the power cord is attached to the cord clip on the rear of the compactor.

- Place the 2 corner posts from the carton on the floor near the compactor.
- Open the compactor drawer and remove any shipping materials or other items from the drawer. NOTE: Do not remove the compactor bag.
- Grasp the handle and raise the front of the drawer until it clears the drawer stops.
- Grasp sides of drawer and lift drawer out of compactor.
- Place the drawer on the 2 corner posts.

- Place the other 2 corner posts on the floor to the side of the compactor.
- Grasp the sides of the compactor cabinet and put the compactor on its side on top of the corner posts.
- Remove the shipping base from the bottom of the compactor.

Location Requirements
Product Dimensions
Cutout Dimensions
A. Grounded electrical outlet must be a minimum of 3″ (7.6 cm) away from surrounding cabinets or nearby walls as shown. It can be placed either to the left or the right side of the compactor.
Clearance Dimensions
A. Leave 6″ (15.2 cm) of clearance space to the right side of the compactor in order to remove the compactor bags.
B. Leave 23″ (58.4 cm) of clearance in front of the compactor in order to fully open or remove the compactor drawer.
Electrical Requirements
WARNING![]()
- Electrical Shock Hazard
- Plug into a grounded 3 prong outlet.
- Do not remove the ground prong.
- Do not use an adapter.
- Do not use an extension cord.
- Failure to follow these instructions can result in death, fire, or electrical shock.
Recommended Grounding Method
This compactor is for use on a single-phase, 115 V, 60 Hz, AC only, 15 A or 20 A fused and properly grounded circuit and is equipped with a grounding plug as shown below. It is recommended that a separate circuit serving only this appliance be provided.
This compactor must be grounded while in use to reduce the risk of electric shock. The compactor is equipped with a three-conductor cord and 3 prong grounding-type plug to
fit the proper grounding-type receptacle. The green (or green and yellow) conductor in the cord is the grounding wire. NOTE: Do not connect the green (or green and yellow) wire to a live terminal.
Undercounter Installation
NOTE: Proper installation is your responsibility. Make sure you have everything necessary for the correct installation. It is the personal responsibility and obligation of the customer to contact a qualified installer to assure that electrical installation meets all National and Local codes and ordinances.
Tools Needed
Gather the required tools and parts before starting installation.
- Level
- Phillips screwdriver
- Tape measure
- Flat-blade screwdriver
- Pliers
- ⁵⁄₁₆” box-end wrench
- Scissors
- Utility knife
IMPORTANT:
- Do not grasp the control panel to move the compactor.
- Slide compactor onto cardboard or hardboard before moving compactor across the floor to avoid floor covering damage.
- Do not allow the rear frame of the compactor to touch the floor covering when lifting or moving the compactor.
Undercounter Installation
NOTE: Installation hardware is not provided with full cabinet models.
1. Measure the height of your cabinet opening. The top of the compactor should be at least 1 /8″ (3 mm) from the top of the cabinet opening.
The rear wheels are preset for a cabinet opening height of 34¹⁄₄” (87 cm) (Position 1).
To adjust for other cabinet opening heights:
- Loosen self-tapping screw just enough to clear stud from hole in position 1.
- Move the rear wheel and stud to position 2 or 3 as needed for your cabinet opening measurement:
Position 2: 34¹⁄₄” to 34⁷⁄₁₆” (87 to 87.5 cm)
Position 3: 34⁷⁄₁₆” to 34⁵⁄₈” (87.5 to 88 cm)
NOTE: To level the unit in position 3, you may need to add shims under the leveling legs. - Tighten screw.
- Repeat for another rear wheel.
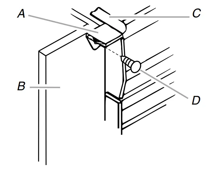
A. Wheel bracket assembly
B. Cabinet
C. Locating stud
D. Self-tapping screw (pivot)
2. Use pliers to lower the leveling legs away from the cabinet. Adjust the legs so there will be a 1 /8″ (3 mm) to 1 /4″ (6.4 mm) space between the top of the compactor and the top of the cabinet opening. Stand the compactor upright.
3. For the model with a cabinet, remove the plastic plugs from the compactor cabinet top.
4. Move the compactor close to its final position.
5. Plug into a grounded 3 prong outlet.
6. Determine if you want the compactor frame or drawer front flush with the cabinet front. Using the two #8-18 x 5 /16″ screws, install the retaining brackets to cabinet top as needed:
- If the compactor frame is to be flush with the cabinet front, place retaining bracket screws through “1.”
- If the compactor drawer front is to be flush with the cabinet front, place retaining bracket screws through “3.”
- If the compactor is to be midway between “1” and “3,” place the retaining bracket screws through “2.”

7. Slowly lift the front slightly and roll the compactor into the cabinet opening.
Using the two #8-18 x 1/2″ screws, fasten the retaining brackets to the countertop with the mounting screws.
If brackets cannot be attached to the underside of the countertop, attach mounting clips to the brackets. Fasten compactor to cabinet front with mounting screws through mounting clips.
Countertop Mounting
Cabinet-face Mounting
8. Grasp the sides of the compactor drawer and place the bottom of the drawer into the tracks.
9. Lift at the handle so the drawer will go over the drawer stops.
10. Close the drawer.
11. Check that the drawer opens freely. If the toe plate rubs against the floor, see “Adjusting the Toe Plate” for further instructions.
Adjusting the Toe Plate
If the toe plate rubs the floor covering, the toe plate clearance may be changed as follows:
- Mark on each side of the toe plate the amount of toe plate that rubs the floor covering.
- Remove the drawer from the unit. See Step 3 in the “Unpacking” section.
- Use a ruler and a pencil or chalk to draw a line between the marks on each side of the toe plate.
- Use scissors or a utility knife to cut the toe plate along the line.
- Replace the drawer. If the toe plate still rubs the floor covering, repeat steps 1 to 4.
Installing a Custom Panel
Dimensions
Use these dimension drawings to create a custom panel for use without a trim kit. The panel should be a minimum of 1/2″ (13 mm) thick.
Installation
- Remove the 2 rubber bumpers from the lower corners of the inside drawer front. Set aside the bumpers and discard the screws.
- Align the bottom of the custom panel with the bottom of the exterior drawer front and rest the panel on the rest tab.
NOTE: The bottom of the custom panel should not extend below the bottom rest tab at the lower center of the exterior drawer front. - Secure the custom panel to the exterior drawer front by using four #8 x 1″ wood screws from the inside drawer front.
■Install the top 2 wood screws as shown.
■ Use the bottom 2 wood screws to also re-install the 2 rubber bumpers on each side of the lower inside drawer while attaching to the custom panel. - Attach a 15″ x 1 /2″ (38.1 cm x 13 mm) quarter-round filler along the top inside edge of the drawer front using glue or screws.

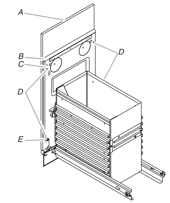
A. Custom panel
B. 15″ x 1/2″ (38.1 cm x 13 mm) quarter round filler
C. Drawer front
D. #8 x 1″ wood screws placement
E. Rubber bumper (one on each side)
COMPACTOR USE
How Your Compactor Works
The compacting ram is the part of the compactor which compresses the trash. The compacting ram does not go to the bottom of the drawer. You will not see compacting of trash the first few times you load the compactor. NOTE: The compactor drawer should be more than 1/2 full before the compactor can begin to compress the load. You may hear a noise when glass breaks. Strong glass bottles may not break at all. The trash in a full compactor bag will be about ¹⁄₄ the size of its original bulk. 
Load bulky trash, bottles, and cans in the center of the drawer. Bottles or cans not placed in the center may become caught between the ram and the drawer. The Drawer onitor Switch then senses a “misload” and causes the ram to return to the “up” position without compacting.
Loading
IMPORTANT: Do not push items down into the compactor with hands or feet. NOTE: You will not see compacting of trash the first few times you load the compactor. The compactor drawer should be about ¹⁄₂ full before the compactor can begin to compress the load.
- Open the drawer. Lift and pull the handle or press the toe bar to open the drawer. NOTE: Pressing the toe bar opens the container only 3″ to 6″ (7.6 cm to 15.2 cm), depending on the load.

2. Place trash in the compactor.
- Wrap or cover wet or messy trash.
- Do not compact items that may develop offensive odors such as raw meat, fish, grapefruit rinds, disposable diapers, or personal hygiene items.
- Load bottles or cans on their sides in the center of the drawer. Do not load bottles in an upright position.

3. Close the drawer.
WHISPER QUIET® Plus System The WHISPER QUIET ®
Plus system helps to maintain a quiet home environment during compactor operation. NOTE: The contents of the trash may affect the noise level of your compactor. See “Compactor Use.”
Starting the Compactor
- Open the container. Load trash.
- Leave the Key-Knob in the ON position.
- Set the Solid Cycle switch to OFF.
- Close the container.
- Press the foot-actuated START pedal to begin cycle.
Using Solid (Locked) Cycle
The Solid (Locked) Cycle extends the use of the bag by putting constant pressure on the trash to keep it from springing back. Regular use of solid cycle can increase bag capacity up to 25 percent. During Solid Cycle, the ram will stay in the down position for extra compacting. The drawer is locked and cannot be opened when the ram is down. For best results, use the Solid Cycle for at least 30 minutes at a time.
- Open the container. Load trash.
- Set the Solid Cycle switch to ON.

- Close the container.
- Press the foot-actuated START pedal to begin the cycle.
- The container remains LOCKED until you RESET by pressing the foot-actuated START pedal.
Using the Air Filter or Freshener
- Set the Air Filter switch to ON. The fan creates air movement in the compactor for odor removal.
NOTE: The charcoal Air Filter works only when the Key-Knob is in the ON position.
IMPORTANT: The air freshener will work with or without the fan. - Set the Air Filter switch to OFF to turn off the fan.

Removing a Filled Bag
When the trash is compacted to the top of the drawer, remove the bag. If the bag is too heavy, compact less trash before emptying it in the future.
IMPORTANT: Do not push items down into the compactor with hands or feet.
- Pull the drawer completely open.
- Remove the top of the bag from the bag retainer buttons. Pull up all bag cuffs. Close bag with twist tie provided.

- Push Side-Lock Latch down and tilt the drawer side open.

- Lift out bag.
Installing a New Bag
Do not use any kind of bag other than those designed especially for use in your compactor. Order replacement compactor bags through your local dealer or by calling the toll-free number on the cover or in the “Assistance or Service” section.
IMPORTANT:
Before installing a new bag, be sure:
■ The drawer side is securely locked.
■ The container is clean and free of debris.
- Place the folded bag into the drawer. Open the bag and pull the top edges over the drawer top.

- Lock the bag in place by pulling the 4 pre-punched holes over the bag retainer buttons. Holes will expand over the buttons without damaging the bag.

- Press inside of the bag against the drawer bottom, sides, and corners for a smooth fit.
COMPACTOR CARE
Your new compactor is designed to give you many years of dependable service. However, there are a few things you are expected to do in order to properly maintain your compactor.This section will tell you how to clean and care for your compactor.
Changing the Air Filter or Freshener
It is recommended that you use either the charcoal air filter or the air freshener in the filter compartment. The solid air freshener system is an alternative to the air filter and is designed to control odors that might develop in the trash. To order the correct replacement charcoal filters or air fresheners, call the toll-free number listed on the cover or in the “Assistance or Service” section.
- Insert fingertips in the air filter cover and pull until the side tabs release. Then, lift the cover to release the bottom tabs.

- Remove the air filter by pulling the top edge of the filter. The filter should pull out easily. Throw away the used filter. OR Remove the air freshener by simply lifting out of the filter compartment. Throw away used freshener.

- To replace the air filter, push the replacement filter into place. OR To replace the air freshener, place the replacement in the filter compartment.
- Insert the bottom tabs of the air filter cover and push in until the side tabs snap into place.
Cleaning
Before cleaning the compactor, turn the Key-Knob (or KeySwitch) to the OFF & LOCK position andremove it.
NOTE: Any services other than those outlined in this section should be performed by a designated service representative. Cleaning Exterior Surfaces
- Wash exterior surfaces (including stainless steel) with a clean sponge or soft cloth and a mild detergent in warm water. Do not use abrasive or harsh cleaners. Rinse and dry thoroughly with a soft cloth.
- Wipe up spills right away. Some foods can damage the finish if left on the compactor surface.
Cleaning Inside the Drawer
NOTE: You may want to wear gloves since there may be bits of glass in the drawer.
- Remove the bag. See “Removing a Filled Bag.”
- Press down on the lever-action lock (or Side-Lock latch).

- Hold the lever-action lock down and tilt the side of the drawer out until the lock clears the drawer front. NOTE: If desired, the drawer side can be removed by tilting it
up, then lifting it out.
- Wash the interior of the drawer with a clean sponge or soft cloth and a mild detergent in warm water. Rinse and dry thoroughly with a soft cloth.
- If the drawer side was removed, slide it back into the tilted position.
- Press the lever-action lock (or Side-Lock Latch) down while pushing the drawer side to the upright position.
- Latch the drawer side by pushing up the lever-action lock (or Side-Lock Latch).
Cleaning Inside the Cabinet
NOTE: You may want to wear gloves since there may be bits of glass in the cabinet.
- Pull the drawer out until it stops.
NOTE: Look to see how the drawer rollers move in the tracks. It will be easier to replace the drawer after you have finished cleaning.
- Lift the front of the drawer to clear the stops.
- Grasp the drawer on the sides and pull it out the rest of the way. Set the drawer down gently.

- Vacuum the inside of the cabinet. Liquid spills or wet trash should be cleaned up by hand, or by using a vacuum cleaner designed to pick up liquids.

- Wash the inside of the cabinet with a clean sponge or soft cloth and a mild detergent in warm water. Rinse and dry thoroughly with a soft cloth.
- To replace the drawer, grasp it by the sides and insert the rollers onto the tracks.
- Lift the front of the drawer and push it in fully past the stops.
Cleaning the Ram
NOTE: You may want to wear gloves since there may be bits of glass on the ram cover.
- Wipe glass particles off of the ram and cover with a cloth or paper towels.
- Remove foods with a clean sponge or soft cloth and a mild detergent in warm water. Rinse and dry thoroughly with a soft cloth.

Cleaning Before a Vacation
If you will be away for more than a couple of days, remove the compactor bag. Remove the Key-Knob (or Key-Switch) and store it out of children’s reach.
TROUBLESHOOTING
Try the solutions suggested here first in order to avoid the cost of an unnecessary service call.
Trash is not compacting
- Is the drawer less than half-full? The drawer must be more than half full before trash is compacted. Your compactor won’t operate
- Is the power supply cord unplugged? Plug into a grounded 3 prong outlet.
- Has a household fuse blown, or has a circuit breaker tripped? Replace the fuse or reset the circuit breaker. If the problem continues, call an electrician.
- Is the drawer completely closed? Close the drawer firmly and start the compactor again.
- Is the Key-Knob turned all the way to START? Tur n the Key-Knob (Key-Switch) fully to START and release (on some models). See “Starting the Compactor.”
- Did you press ON before pressing START? Press ON before pressing START (on some models). See “Starting the Compactor.”
The drawer won’t open
Is the ram all the way up? The drawer will open only when the ram is fully raised. To raise the ram on models with a Key-Knob (or KeySwitch): Turn the Key-Knob (Key-Switch) to START and release. See “Starting the Compactor.”
To raise the ram on models with push-button controls: Press OFF, and then press ON. See “Starting the Compactor.” Is the Solid Cycle engaged? Drawer remains LOCKED until you reset by lifting the foot pedal up. There is not enough compaction or force
Do you use the compacting cycle frequently enough?
Compacting works best when only a few items are loaded.
Bottles don’t break
How often do you notice this? Bottles will not break every time. The thickness of the bottle’s glass and the content of the trash load below it may keep the bottle from breaking.
ASSISTANCE OR SERVICE
Before calling for assistance or service, please check “Troubleshooting.” It may save you the cost of a service call. If you still need help, follow the instructions below. When calling, please know the purchase date and the complete model, and the serial number of your appliance. This information will help us to better respond to your request.
If you need replacement parts
If you need to order replacement parts, we recommend that you use only factory specified parts. These factory-specified parts will fit right and work right because they are made with the same precision used to build every new KITCHENAID ® appliance. To locate factory-specified parts in your area, call us or your nearest KitchenAid designated service center.
In the U.S.A.
Call the KitchenAid Customer eXperience Center toll free:
1-800-422-1230 or visit our website at www.kitchenaid.com.
Our Consultants Provide Assistance With:
- Features and specifications on our full line of appliances.
- Installation information.
- Use and maintenance procedures.
- Accessory and repair parts sales.
- Specialized customer assistance (Spanish speaking, hearing impaired, limited vision, etc.).
- Referrals to local dealers, repair parts distributors, and service companies. KitchenAid designated service technicians are trained to fulfill the product warranty and provide after warranty service, anywhere in the United States.
To locate the KitchenAid designated service company in your area, you can also look in your telephone directory Yellow Pages.
For Further Assistance
If you need further assistance, you can write to KitchenAid with any questions or concerns at: KitchenAid Brand Home Appliances Customer eXperience Center
553 Benson Road Benton Harbor, MI 49022-2692 Please include a daytime phone number in your correspondence.
In Canada
Call the KitchenAid Canada Customer eXperience Centre toll-free: 1-800-807-6777 or visit our website at www.kitchenaid.ca.
Our Consultants Provide Assistance With:
- Features and specifications on our full line of appliances.
- Use and maintenance procedures.
- Accessory and repair parts sales.
- Referrals to local dealers, repair parts distributors, and service companies. KitchenAid Canada designated service technicians are trained to fulfill the product warranty and
provide after-warranty service, anywhere in Canada.
For Further Assistance
If you need further assistance, you can write to KitchenAid Canada with any questions or concerns at: Customer eXperience Centre KitchenAid Canada 200 – 6750 Century Ave. Mississauga, Ontario L5N 0B7 Please include a daytime phone number in your correspondence.
Accessories
To ensure the proper functioning of your compactor, use KITCHENAID ® replacement parts only. To order replacement parts or accessories, call 1-800-462-3819 and ask for the appropriate part number listed below or contact your authorized KitchenAid dealer. In Canada, call 1-800-807-6777.
Replacement Part
- Replacement Bags: Call for Part Number.
- Charcoal Air Filters: Part Number WP4151750
Panel Kits and Handles
See section “Installing a Custom Panel” for custom panel dimensions.
Handles:
Brushed Stainless Steel—Part Number 9871564
KITCHENAID ® COMPACTOR WARRANTY
ONE YEAR LIMITED WARRANTY
For one year from the date of purchase, when this major appliance is operated and maintained according to instructions attached to or furnished with the product, KitchenAid or KitchenAid Canada (hereafter “KitchenAid”) will pay for factory specified parts and repair labor to correct defects in materials or workmanship. Service must be provided by a KitchenAid designated service company.
30 DAY LIMITED WARRANTY ON THE CHARCOAL FILTER AND AIR FRESHENER
For thirty days from the date of purchase, when the compactor is installed, operated, and maintained according to instructions attached to or furnished with the product, KitchenAid will provide a replacement filter or air freshener if the original filter or air freshener fails due to defects in materials or workmanship.
ITEMS KITCHENAID WILL NOT PAY FOR
- Service calls to correct the installation of your major appliance, to instruct you how to use your major appliance, to replace or repair house fuses or to correct house wiring or plumbing.
- Service calls to repair or replace appliance light bulbs or water filters. Those consumable parts are excluded from warranty coverage.
- Repairs when your major appliance is used for other than normal, single-family household use.
- Damage resulting from accident, alteration, misuse, abuse, fire, flood, acts of God, improper installation, installation not in
accordance with electrical or plumbing codes, or use of products not approved by KitchenAid. - Replacement parts or repair labor costs for units operated outside the United States or Canada.
- Pickup and delivery. This major appliance is designed to be repaired in the home.
- Repairs to parts or systems resulting from unauthorized modifications made to the appliance.
- Expenses for travel and transportation for product service in remote locations.
- The removal and reinstallation of your appliance if it is installed in an inaccessible location or is not installed in accordance with published installation instructions.
DISCLAIMER OF IMPLIED WARRANTIES; LIMITATION OF REMEDIES
THE CUSTOMER’S SOLE AND EXCLUSIVE REMEDY UNDER THIS LIMITED WARRANTY SHALL BE PRODUCT REPAIR AS PROVIDED HEREIN. IMPLIED WARRANTIES, INCLUDING WARRANTIES OF MERCHANTABILITY OR FITNESS FOR A PARTICULAR PURPOSE, ARE LIMITED TO ONE YEAR OR THE SHORTEST PERIOD ALLOWED BY LAW. KITCHENAID SHALL NOT BE LIABLE FOR INCIDENTAL OR CONSEQUENTIAL DAMAGES. SOME STATES AND PROVINCES DO NOT ALLOW THE EXCLUSION OR LIMITATION OF INCIDENTAL OR CONSEQUENTIAL DAMAGES, OR LIMITATIONS ON THE DURATION OF IMPLIED WARRANTIES OF MERCHANTABILITY OR FITNESS, SO THESE EXCLUSIONS OR LIMITATIONS MAY NOT APPLY TO YOU. THIS WARRANTY GIVES YOU SPECIFIC LEGAL RIGHTS AND YOU MAY ALSO HAVE OTHER RIGHTS, WHICH VARY FROM STATE TO STATE OR TO PROVINCE
TO PROVINCE.
Outside the 50 United States and Canada, this warranty does not apply. Contact your authorized KitchenAid dealer to determine if another warranty applies.
If you need service, first see the “Troubleshooting” section of the Use & Care Guide. After checking “Troubleshooting,” additional help can be found by checking the “Assistance or Service” section or by calling KitchenAid. In the U.S.A., call 1-800-422-1230. In Canada, call 1-800-807-6777.
Keep this book and your sales slip together for future reference. You must provide proof of purchase or installation date for in-warranty service.
Write down the following information about your major appliance to better help you obtain assistance or service if you ever need it. You will need to know your complete model number and serial number. You can find this information on the model and serial number label located on the product.
Dealer name____________________________________________________
Address ________________________________________________________
Phone number __________________________________________________
Model number __________________________________________________
Serial number __________________________________________________
Purchase date __________________________________________________































