BURG WACHTER SECUENTRY ENTRY 7711 Keypad PIN

Set contents

| I ENTRY 7711 Keypad PIN |
| II Screwdriver Tx8 |
| III Dowels 3x |
| IV Screws 3x |
| V Adhesive pads 4x |
| VI Quick Start Guide plus warranty and disposal instructions |
Technical details
| Keypad power supply | 2x Mignon LR6 AA Alkaline |
| Permitted ambient conditions | -15 °C/+50 °C / up to 95 % relative humidity non condensing |
| Radio standard | Bluetooth 5.2 |
| Range | Approx. 4 m |
| Weather protection class IP class | IP53 |
| Blocking times | After an incorrect code is entered 3x, 1 minute, thereafter always 3 minutes |
QR code/Administrator code
QR code I and security code SCD II are required for integrating the keypad into the BURG WACHTER KeyApp.

Attention
The QR code and the security code are not stored by BURG-WÄCHTER. Recovery is not possible if the codes are lost. Please store the sticker shown to the right in a safe place. In addition, it is recommended that you take a photo of the sticker and archive it digitally.
ENTRY 7711 Keypad PIN
The ENTRY 7711 Keypad PIN can be used to operate electronic secuENTRY cylinders from BURG WACHTER. Communication between the keypad and the profile cylinder is 128-bit AES encrypted. Operation on the illuminated keypad is carried out via push-buttons. Consequently the keypad can be easily operated even in poor lighting conditions. The ENTRY 7711 Keypad PIN enables the door to be opened and closed with the aid of a 6-digit PIN code. There are one million possible number combinations for generating the code. The integrated tamper protection locks the entry for one minute after three incorrect entry attempts. From the fourth incorrect entry, the keypad is locked for three minutes each time .The keypad is splash-proof on all sides according to IP53 certification.

![]() | ON button | Activates the keypad. Provided that the connected secuENTRY cylinder supports the function, an entry Opened (ON button) or CLOSE button) s generated in the history This allows for the “Open” and Close operations to be differentiated in the history. |
| CLOSE | CLOSE button | |
![]() | Error message | The two LEDs next to the X symbol will illuminate if an invalid number combination is entered or if general errors occur. |
![]() | Battery status | The system monitors the keypad and cylinder battery voltage. The user is alerted as soon as the battery voltage reaches a critical range. Batteries must be changed as soon as possible after the battery status symbol illuminates. |
![]() | Cylinder status | When the number combination entered is correct, the cylinder status symbol will illuminate and the door can be unlocked or locked. |
![]() | Status LED | The LEDs illuminate one after the other in a clockwise direction when the keypad is in programming mode. |
ENTRY 7711 Keypad PIN commissioning
To setup the ENTRY 7711 Keypad PIN, you must first download the secuENTRY KeyApp. This can be found in the App Store and Google Play Store.

Once you have successfully registered, you can start setting up the ENTRY 7711 Keypad PIN. Open the main menu.

Tap on the menu item ENTRY setup.

In the following menu, tap on Device Setup.

From here you can add and setup secu ENTRY units to the app. Use the selection menu displayed and tap on “secuENTRY KeyPad” to setup your secuENTRY keypad.

A list of any keypads that have already been registered is displayed. Add a new keypad by tapping on the + in the top right-hand corner.

A prompt will appear asking you to scan the QR code provided using your smartphone camera. The QR code is on the sticker enclosed in the packaging.
Tap on SCAN QR-CODE You may be asked to confirm the app’s access to the camera. The camera’s picture window will then open Scan the QR code.

A message appears containing data about your keypad, confirm this with OK at the bottom right.The following window gives you the option of assigning a name to the keypad. If you have several keypads in use, it is recommended that you name the keypad in such a way that you can directly recognise where the keypad is located or attached. Confirm the name with OK. Your ENTRY 7711 Keypad PIN is now fully setup. It will now appear in the list of setup keypads.

Connecting ENTRY 7711 Keypad PIN and secuENTRY profile cylinder
Once you have successfully registered the ENTRY 7711 Keypad PIN in the KeyApp, you can start connecting the keypad and a previously installed secuENTRY cylinder. Open the main menu.

Tap on the menu item secu ENTRY setup. In the following menu, tap on Device Setup. From here you can add and setup secuENTRY units to the app. Use the selection menu displayed and tap on secuENTRY KeyPad to display setup secuENTRY keypads.

Tap the keypad entry that is to be assigned to a cylinder 1.Then tap on Allocate a Lock (II)
A list of available secuENTRY cylinders appears. Select the required cylinder (I) and confirm with CONTINUE(II). This takes you to the menu illustrated.

Briefly lay the smartphone aside and set the keypad to program-ming mode using the following steps. First, remove the battery protection strip from the keypad.
Activate the keypad with the ON button. Enter the safety code (SCD) supplied. The safety code can be found on the sticker (I) enclosed with the keypad.

Press and hold the CLOSE button for five seconds (II) until the signal LEDs on the keypad illuminate one after the other in a clockwise direction.The keypad is now in programming mode. The next steps are carried out on the smartphone again.
Attention
For the following step, the smartphone keypad and cylinder must be in direct proximity to each other. Tap on the button LED BLINK FAST, CONTINUE.
If the link is successful, you will receive a completion message, which you confirm with OK. The keypad and cylinder are now successfully connected.

Opening the secuENTRY cylinder using the keypad

Activate the keypad by pressing either the ON key or the CLOSE key (I).Provided that the connected secuENTRY cylinder supports the function, an entry “Opened” (ON button) or Closed (CLOSE button) is generated in the history. This allows for the Open and Close operations to be differentiated in the history.
Note
Type in your 6 digit administrator code or user code (II).When the number combination entered is correct, the cylinder status symbol will illuminate and the door can be unlocked or locked. Depending on the door stop, the direction of rotation may be reversed.


ENTRY 7711 Keypad PIN installation
The installation of the ENTRY 7711 Keypad PIN is explained below
- There are two options to choose from for installation.
- The ENTRY 7711 can either be screwed or adhered directly to the wall.
- Prior to installation.
ENTRY 7711 Keypad PIN installation function test

ATTENTION
The distance between the cylinder and the keypad can be up to a maximum of four metres. This distance may vary, however, depending on external conditions. In order to ensure that the keypad functions correctly in the desired position, we recommend testing it first before installation. Place the keypad in the desired installation location. Enter your administrator or user code and check that the cylinder is activated.

Note
The administrator code, if you haven’t already changed it, can be found on the sticker enclosed with the secuENTRY cylinder.The master operating instructions for your secuENTRY cylinder describe how to create a user code. If the cylinder activates, the signal strength is sufficient and the keypad can be installed in the desired location. If not, try again with a shorter distance between cylinder and keypad.
QR code sticker forsecuENTRY cylinder Factory assigned administrator code.
ENTRY 7711 Keypad PIN installation screw mounting
Drill three holes according to the dimensions shown in the illustration. Use a 6 mm diameter drill bit.Insert the dowels supplied into the holes and screw in the screws provided.
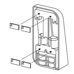
Remove the screw from the bottom ofMthe keypad using the Tx8 screwdriverMsupplied with the keypad and pullMthe battery compartment downwards.
Place the keypad on the screw heads as shown in the illustration.
Insert the battery compartment back into the housing and screw it tight.

ENTRY 7711 Keypad PIN installation adhesive mounting
Clean the surface to which the keypad is to be attached.
Attach the enclosed adhesive pads to the positions shown in the illustration and peel off the backing strips.
Mount the keypad on the wall in the desired position.
Press the keypad against the wall for approx. one minut.
Attention
Only press the outer edges of the housing. To avoid damage to the electronics, do not press within the keypad area.
Battery status display and replacing the batteries
The system monitors the keypad and cylinder battery voltage. The user is alerted as soon as the battery voltage reaches a critical range. Batteries must be changed as soon as possible after the battery status symbol illuminates on the keypad.Tip: It is recommended that the batteries in the cylinder and keypad are always replaced at the same time.
Nonetheless, the battery status of the cylinder can be checked separately at any time. This can be found on the main screen of the secuENTRY KeyApp. Instructions on replacing the batteries are given below
Remove the screw from the bottom of the keypad using the Tx8 screwdriversupplied with the keypad and pull the battery compartment downwards.Remove the old batteries and dispose of them appropriately.Insert two new batteries. Make sure that the polarity is correct according to the drawing Insert the battery compartment back into the housing and screw it tight.
Compatibility with other secuENTRY products
Whether for one front door, several doors or a complete locking system: Simply configure your individual unit with the secuENTRY modular system . The ENTRY 7711 Keypad PIN is designed to complement the following secuENTRY cylinders and secuENTRY add on components.
secuENTRY Cylinder ENTRY Home 5000 CYL
- Article number: 4003482500002

Further info available on our website www.burg.biz
secuENTRY Cylinder ENTRY 7100 CYL
Article number: 4003482572405
Further info available

secuENTRY Cylinder ENTRY 7116 DUO
Article number: 4003482571507
Further info available

secuENTRY Cylinder ENTRY 7600 CYL
Note: available from Q3/2022
Article number: 4003482506004
Further info available

secuENTRY Cylinder ENTRY 7650 CYL
Note: available from Q1/2023
Article number: 4003482506509
Further info available

secuENTRY Cylinder ENTRY 7000 CYL
Article number: 4003482571309
Further info available

secuENTRY Cylinder ENTRY 7010 TWIN
Article number: 4003482571408
Further info available

secuENTRY Cylinder ENTRY 7030 HALF
Article number: 4003482571606
Further info available

secuENTRY Add on ENTRY Home 7071 RELAY
Article number: 4003482571804
Further info available on our website

secuENTRY Add-on ENTRY Home 7171 RELAY
Article number: 4003482501719
Note
Available from Q4/2022
Further info available

Warranty
In order to deliver a flawless and high quality product to you and to better assist you in case of service or repair, it is necessary that faulty or defective devices along with the valid administrator code and the QR code(s) be presented to your dealer together with the original documentation. When returning goods due to your right of withdrawal, all parts of the appliance must also be in their factory settings. Failure to comply with this will invalidate the warranty.
Disposal of the deviceR
emember that many components of this device contain valuable materials that can be recycled. Please note that electrical and electronic devices as well as batteries must not be disposed of with household waste but rather apart from it or separately. Please obtain information on the collecting points for electrical waste from the responsible authority of your city/municipality. BURG-WACHTER KG hereby declares that this device complies with Directives 2014/53/ EU, (RED) 2014/30/EU, (EMC) and 2011/65/EU (RoHs) . The complete text of the EU Declaration of Conformity is available at the following Internet address: www.burg.biz























