Yapalong 5001 8-User Full-Duplex Radio

OVERVIEW

DualGroup is the function that divides all users of one Yapalong channel into 2 groups: group X and group O. The communication in one group will not interfere with the other. The group arrangement is set by Binding procedure via 2C cable (Page 4). X unit can switch groups dynamically. A 2C Cable is needed for the switching. Toggle the 2C Switch on 2C Cable to switch groups. O unit cannot switch groups. The number of total users cannot exceed 8. The number of users in either group is flexible. Yapalong-5001 is compatible with Yapalong-4000 or 5000, in single group or DualGroup. Yapalong-4000 or 5000 unit can only be bound as O unit
2C CABLE & DUALGROUP
Yapalong 2C Cable contains a 2C Switch. 2C Switch is a one-inch long waterproof rock switch. One end of 2C Cable is a two-pin plug that can be plugged into Yapalong dual audio jack, and the other end can be plugged into a Yapalong Heavy-Duty Headset

Click 2C button to switch between group “O” and “X”. The clicking of 2C button is accompanied with one “beep” sound from the headset and one flash of green LED. With a 2C cable, an X unit can hot swap between groups during usage. An O unit always stays in group O.
GET STARTED
- Turn the unit on by holding down POWER button for 2 seconds until RED LED turns on.
- If the AMBER LED blinks every 2 or 5 seconds or there is no LED light at all, the battery needs to be charged.
- If RED LED remains on with high intensity, it means it cannot detect other group unit due to various reasons:
- no group unit powered on;
- group unit out of range;
- unit in different group
(Refer to BINDING PROCEDURE to do binding).
- If RED LED remains on with normal intensity, it means it has detected group unit(s). Plug in the headset as shown. The unit is now ready to be used with other powered-on group units.
- To adjust the sound volume, click UP or DOWN button, until desired volume is reached.
- To adjust the microphone sensitivity, click UP or DOWN button while holding down MIC SENSITIVITY button, until desired sensitivity is reached. Now Yapalongs let every member in the group talk freely and listen at the same time.
POWER UP A GROUP
Power on one of the radios at the location where the radios to be used. Wait until the red light of the radio becomes solid, then power on the rest radios. Power on all the radios at the place where they will be used. It is not recommended to power on all the radios at one location (e.g., locker room), then use them at another (e.g., football field). This is needed because the radios auto scan the surroundings for the cleanest channel upon being powered on.
BINDING PROCEDURE
Note:
Binding needs to be done under minimum radio interference environment, which means no cellphone, no computer, no Bluetooth, and no electrical control panel nearby. After binding, there is NO need to do binding again next time for the same group, until new radio(s) being added to the group.
BINDING PROCEDURE FOR REGULAR UNITS
- Power down all units with good batteries installed.
- Power up 1st unit until RED LED is solid on. Hold down UP and DOWN buttons simultaneously for 3 seconds until GREEN and AMBER LEDs begin to flash alternately. Release buttons for 5 or more seconds, both LEDs stop blinking and all 3 LEDs remain solid on.
- Power up 2nd unit until RED LED is solid on. Hold down UP and DOWN buttons simultaneously for 3 seconds until GREEN and AMBER LEDs begin to flash alternately. Release buttons for 5 or more seconds, both LEDs stop blinking and only RED and GREEN remain solid on. If AMBER is also on, restart Binding from Step1.
- Repeat Step3 for the rest units until the binding for all the units is done. If in doubt, repeat the entire procedure.
Power off all the units to exit binding mode. The radios in binding mode cannot communicate.
ORDER FOR BINDING LISTENER UNITS
LISTENER units can be added to existing Yapalong group as listen-only units. Regardless of the previous grouping state, the entire group has to be bound again. The binding procedure is the same as the one for REGULAR units. In addition we need to follow the order below to bind:
- Set 1st REGULAR into Binding mode.
- Set 2nd REGULAR into Binding mode.
- Set all LISTENERs into Binding mode one by one.
- Set the rest REGULARs into Binding mode one by one.
ADDITIONAL INFO FOR BINDING DUALGROUP
The first binding unit must be Yapalong-5001. The brief procedure goes:
- Start binding with the first unit and continue to bind a number of units. Keep them in Binding Mode. They are now X units by default. Proceed to bind Listener units if needed.
- Plug 2C Cable into the first binding unit while it is still in Binding Mode (the only one with all 3 LEDs on). Set the 2C Switch at position. A bare 2C Cable without the headset is enough.
- Proceed to bind the rest of the units. Those are now O units.
Note:
- After binding, the first binding unit acts as a regular X unit.
- Only Yapalong-5001 radio can be bound as an X unit.
KEYPAD INSTRUCTIONS
Note: Any adjustment to the default settings is volatile. Once you restart your radio, the radio returns to the default setting.


BELT CLIP MOUNT
The belt clip can be mounted at 3 different positions as shown. The screw used is M3 machine screw, 4mm long, Philips head. When worn, always keep the top of the radio upwards and the front outwards for the best range.

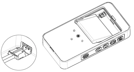
BATTERY REPLACEMENT
- Get a slotted screwdriver. Insert the tip of the screwdriver into the slot of the battery cover. With a little twist, pry the battery cover open.

- Pull gently on the battery connector and take the old battery out.
- Get the new battery and insert the battery connector as orientation indicated

- Put the battery cover back. Make sure the bump on the battery cover is close to the bottom of the radio.

HOW TO MAXIMIZE RANGE
When worn, always keep the top of the radio upwards and the front outwards for the best range. To obtain maximum range is to eliminate blocking obstacles at line of sight. The range is greatly reduced when the obstacle is very close to the antenna. We need to avoid the following scenarios
CLOSE BODY BLOCKING

- placing bodies in between antennas causes communication signs being blocked
ANTENNA TOUCHING BODY - Human body is mainly water so it absorbs RF wave. Water absorbs RF (radio frequency) wave.
WEARING POSITION ANALYSES
- No close body blocking No RF absorption
- No close body blocking Partial RF absorption
- Partial close body blocking due to low position Partial RF absorption

- Partial close body blocking due to low position Partial RF absorption
- Total close body blocking Partial RF absorption

SAFETY WARNING
Don’t hold Yapalong too close to your head when in use.
FCC
INDUSTRY CANADA COMPLIANCE STATEMENT
This device contains licence-exempt transmitter(s)/receiver(s) that comply with Innovation, Science and Economic Development Canada’s licence-exempt RSS(s). Operation is subject to the following two conditions:
- This device may not cause interference.
- This device must accept any interference, including interference that may cause undesired operation of the device
FCC INFORMATION TO USERS
This equipment has been tested and found to comply with the limits for Class B digital devices, pursuant to Part 15 of the FCC Rules. These limits are designed to provide reasonable protection against harmful interference in a residential installation. This equipment generates, uses, and can radiate radio frequency energy and, if not installed and used in accordance with the instruction manual, may cause harmful interference to radio communications. However, there is no guarantee that interference will not occur in a particular installation. If this equipment does cause harmful interference to radio or television reception, which can determined by turning the equipment off and on, the user is encouraged to try to correct the interference by one or more of the following measures:
- Reorient or relocate the receiving antenna;
- Increase the separation between the equipment and receiver;
- Connect the equipment into an outlet on a circuit different from that to which the receiver is connected
- Consult the dealer or an experienced radio/TV technician for help.
WARNING: Changes or modifications not expressly approved by Nautic Devices Inc. could void the user’s authority to operate the equipment.
FOR CLASS B – UNINTENTIONAL RADIATORS
This device complies with Part 15 of the FCC Rules. Operation is subject to the following two conditions: (1) this device may not cause harmful interference and (2) this device must accept any interference received, including interference that may cause undesired operations
SPECIFICATIONS
- Radio Frequency 900M Hz Unlicensed ISM band
- Group Size 8 talkers Unlimited listeners
- Wireless Network Auto channel selection no-master TDMA/peer-to-peer Encrypted communication
- Digital Modulation FSK/ GFSK
- No. of Channels 8
- Range 1,100 meters line-of-sight
- Overall Latency 25 ms
- Size 129mm x 66mm x 21mm
- Weight 138 grams
- Power Rating 27 dBm/ 500 mW
- Power Source Lithium polymer, 3.7 V, 1700 mAh
- Power Durability 8 hours or more after being fully charged
- Operating Temp Range -20 °C ~ 50 °C
- Sensitivity Adjustment 5-level
- Safety Lead free, RoHS compliance
- IP Rating IP67
Please activate your [email protected]/pages/warranty
7895 Tranmere Dr., Unit 13 Mississauga, Ontario L5S 1V9 Canada
- Email : [email protected]
- Phone : 1-(905)-405-0300

























