Artemide Logico Single Pendant Light Installation Guide
NOTE
Prior to any work on the fixture always switch off the mains. Only use bulbs of the type and wattage indicated on the rating plate. ARTEMIDE S.p.a. does not shoulder any responsibilities for products which are modified without prior authorisation.
INSTALLATION
LOGICO ve rsion
Unhook the ceiling rose A from the bottom plate B by inserting a screwdriver bit into one of the slots in the bottom plate. Then separate the ceiling rose A from the bottom plate B and make it slide over the feeding cable. Determinate the approximate distance between the illuminating body and the ceiling. Mark this distance with a felt-tip pen on the three cables C. Press retainer D and make the steel cable C slide up to the previous mark. Repeat the operation for the other two steel cables. Unscrew the two screws E and remove plate F from the bottom plate B. Connect the white cable coming from the fixture to the white cable of the j-box, the black cable coming from the fixture to the black cable of the j-box. Also connect the green cable coming from the fixture to the ground wire. Fix plate F to the j-box by means of the two screws supplied. Fix the bottom plate B to plate F by means of the two screws E.
LOGICO MICRO and LOGICO MINI v ersion s
Unhook the ceiling rose A from the bottom plate B by inserting a screwdriver bit into one of the slots in the bottom plate. Then separate the ceiling rose A from the bottom plate B and make it slide over the feeding cable. Determinate the approximate distance between the illuminating body and the ceiling. Mark this distance with a felt-tip pen on the three cables C. Press retainer D and make the steel cable C slide up to the previous mark. Repeat the operation for the other two steel cables. Connect the white cable coming from the fixture to the white cable of the j-box, the black cable coming from the fixture to the black cable of the j-box. Also connect the green cable coming from the fixture to the ground wire. Fix the bottom plate B to the j-box by means of the two screws E.

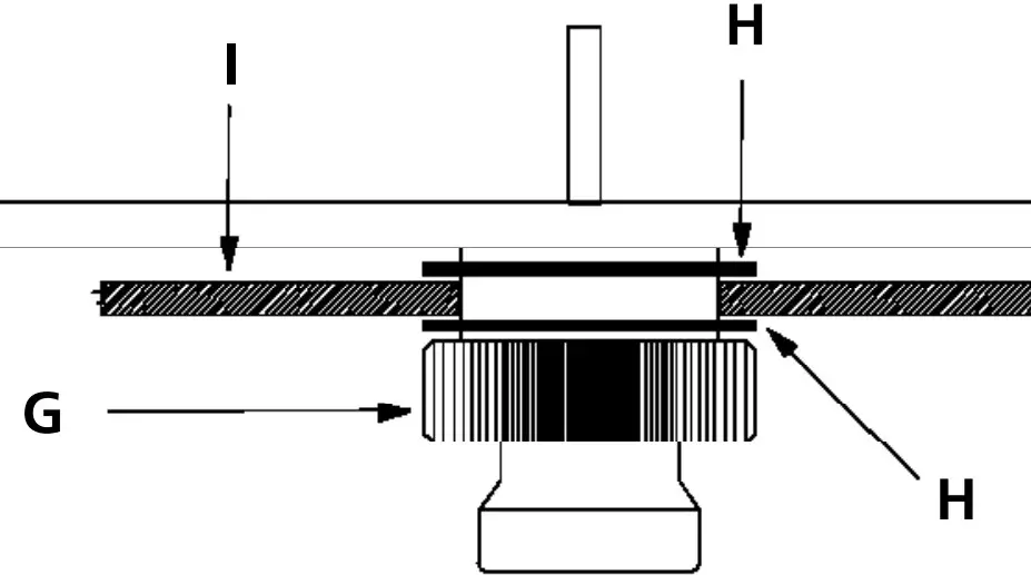
Unscrew the ring nut G and remove one gasket H. Place diffuser I, gasket H and screw the ring nut G. Insert the bulb. In case the fixture should be balanced, loosen one of the three retainers D, push the retainer towards the ceiling and make the support cable slide, screw the retainer D again. For a slight circular adjustment, loosen the three screws L, rotate the inner part of the bottom plate and tighten the three screws again. Snap shut the ceiling rose A on the bottom plate B.
| AMPOULE BULB | LOGICO MICRO | LOGICO MINI | LOGICO |
| MAX 60W G16 1/2 E12 | MAX 100W TYPE A19 E26 | MAX 150W TYPE G30 or/ou G40 E26 |
Warning: this equipment is guaranteed only when used as indicated in these instructions. Therefore they should be kept for future reference.
Artemide reserves the right to introduce all the technical and structural changes required for the improvement of the product















