Item#P196
READ AND SAVE THESE INSTRUCTIONS
INSTALLATION INSTRUCTIONS
P196 Alecia’s Necklace Mini Pendant Light
WARNING! SHUT POWER OFF AT FUSE OR CIRCUIT BREAKER BEFORE INSTALLATION.
HANGING THE FIXTURE (Fig. 1)

- Shut off the power at the circuit breaker box (avertissement! couper le courant au niveau des fusibles ou du disjoncteur) and remove the old fixture, including the mounting hardware..
- Shut off power at the circuit breaker and remove the old fixture including the mounting hardware
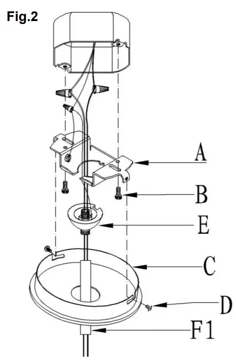
SUGGESTED INSTALLATION (Fig. 2)
- Attach the mounting plate (A)(Part#LTG BKT 10) to the junction box using mounting screws (B)(Size:8-32*1/2”L) as illustrated in (Fig. 2).
- Determine the desired hanging height and thread rods (F1(W30-1-084), F2(W30-1-084), F3(W30-H-084)) to nipple (M). Next place canopy (C) over rods (F) and thread hanger ball (E) to rod (F). Please remove the nipple if installing with one 6” rod only.
- While holding the fixture body, install the fixture into the mounting plate (A) by tilting at a slight angle so that the hanger ball (E) slips into the mounting plate (A) as shown.
Align the notch in the hanger ball (E) to the tab on the mounting plate (A) to prevent the fixture from turning.
CONNECTING THE WIRES (Fig. 3)
- At this point, connect the electrical wire as shown in figure 3, making sure that all wire connectors are secured. If your outlet has a ground wire (green or bare copper), connect the ground wire from the hanger ball and mounting plate to it. Otherwise, connect the ground wire from hanger ball directly to the mounting plate ground wire and secure with wire connectors provided.
- After the wires are connected, tuck them carefully into the ceiling junction box COMPLETING THE INSTALLATION (Fig. 1)
- Place canopy (C) over the mounting plate (A) and secure with screws (D).
- Slide the frame (N) onto glass (O).
- Slide glass (O) onto the socket and secure with spacer (P) and socket ring (Q) by tightening with tool (R).
- Install the light bulb (1-100W A19) (not included) in accordance with the fixture’s specification: (DO NOT EXCEED THE MAXIMUM WATTAGE RATING!) ( NE PAS DEPASSER LA PUISSANCE NOMINALE MAXIMALE)
- Your installation is now complete. Return power to the junction box and test the fixture.
Note: Illustration (Fig. 1) on this manual is for installation purposes only. It may or may not be identical to the fixture purchased.
IMPORTANT: FIXTURE SHOULD BE INSTALLED BY A QUALIFIED ELECTRICIAN TO ENSURE PROPER WIRING AND INSTALLATION.
a. Hardware Bag:
A. Mounting Plate*1
C. Canopy*1
D. Screw*2
E. Hanger Ball*1
b. Hardware Bag:
F1. ROD 12″*1 w/o nipple
F2. ROD 12″*2
F3. ROD 6″*1















