![]()
ScanPal™ Series
ScanPal™ Series Mobile Computers
EDA52-1
EDA52-0 Quick Start Guide

EDA52-EN-QS Rev A
Apr/06/2021
Out of the BOX
Make sure that your shipping box contains these items:
- ScanPal™ Mobile Computers (Model EDA52 1 or EDA52 0);
- Main battery (3.8V, lithium ion battery);
- 10-watt power adapter;
- Replaceable adapter plugs;
- USB charging cable;
- Quick Start Guide.
Remarks:
If you ordered accessories for your mobile computer, verify that they are also included with the order. Be sure to keep the original packaging in case you need to return the mobile computer for service.
Note:
End users should not arbitrarily replace the operating system with other operating systems. To update operating system installed on your device, you need to get license from the OS vendors.
EDA52-1/EDA52-0 belongs to ScanPal™ Series
Front Panel

A Power Indicator
B Scan Status LED
C Touch Panel
D Front camera
E Microphone
Front Panel (without fingerprint identification module)

A Scan Engine
B Rear camera
C Battery Latch
D Battery Cover Buckle Handle
E Battery Cover
F String Buckle
G Speaker

A Scan Engine
B Rear camera
C Battery Latch
D Battery Cover Buckle Handle
E Battery Cover
F String Buckle
G Fingerprint identification module
H Speaker
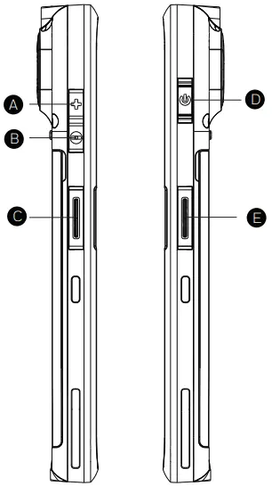
Left Side View Right Side View

(2-pin type)
(6-pin type)
A Volume+
B Volume-
C Scan Button
D Power Button
E Scan Button
F 2 Pin Charging Contact
G USB
H 6 Pin Charging Contact
Install the Main Battery
Replace the battery with wrong models may cause explosion. Please make sure to use and dispose the battery in accordance with local regulations. Please recycle the battery when possible. Do not dispose it as household waste. Please ensure all kits are dry when connect the mobile device or battery to external devices. Damages caused by connecting wet kits are not covered by the warranty.
ScanPal™ comes with a battery in a separate package.
Please follow the steps below to install the battery.
- Press down the battery cover safety button to move the battery cover safety lock to the unlock position at right;
- Open the battery cover with the battery cover buckle handle;
- Insert the battery (Insert the non-connector side first, then press the battery down to establish connection between the battery and the phone);
- Press down the battery cover (Insert the non-connector side first, then press the battery cover down)
- Press down the battery cover safety button to move the battery cover safety lock to the lock position at left
Remarks:
Refer to the illustrated installation steps on the following page.





Charging / Sync
Synchronous Communication
1. Connect ScanPal™ to the PC using the USB charging cable

- USB charging cable
Charging
- Open the USB cover at the bottom of ScanPal™;
- Connect ScanPal™ to the power adapter with USB charging cable;
- Make sure the replaceable adapter plug plugged into the power adapter;
- Connect the power adapter to the wall plug and start charging for ScanPal™.
Fully charge the ScanPal™ at least 4 hours (depending on the model) before using it for the first time.
Using the device while charging will significantly extend the time required to fully charge.

A Replaceable adapter plug
B Power adapter
C USB charging cable
Remarks:
It’s recommended to use Honeywell’s peripherals, batteries, USB charging cables and power adapters. Use of any non Honeywell peripherals, batteries, USB charging cables or power adapters may result in damage not covered by the warranty.
Warnings:
Ensure all components are dry prior to placing the battery in the computer. Mating wet components may cause damage not covered by the warranty.
Suspend / Wakeup the Mobile Computer
Suspend / Wakeup the Mobile Computer
- Press the power button and then release (less than 2 seconds)
- To wake up the device from sleep mode, press the power button and then release (less than 2 seconds)
Restart the Mobile Computer
Press the reset button and then release to restart ScanPal™ to correct conditions where an application stops responding to the system or the computer seems to be locked up.
Power Indicator
The status of power indicators in non-charging and charging process are illustrated as below:
| Non-charging process | |
| Off | Battery power is normal |
| Flashing orange | Battery power is low |
| Charging process | |
| Solid green | Charging complete |
| Flashing green | During charging process, and the charging is about to be completed |
| Orange | During charging process, and the battery power is still low |
| Flashing red | Battery is abnormal |
Install a Nano SIM Card
- Power off;
- Press down the battery cover safety button to move the lock to the unlock position at right;
- Open the battery cover with the battery cover buckle handle;
- Pull out the battery (First open the battery connector side, then pull out the battery);
- Pull out card slot and insert the Nano SIM/TF card one by one, and push the card slot into place;
- Insert the battery;
- Press down the battery cover;
- Press down the battery latch and move it to the lock position at left;
- Power on.

A Nano SIM card
B Micro SD card
Note:
- Only EDA 52 – 1 delivers this feature
- It’s recommended to use standard Nano SIM card. Using non-standard Nano SIM card may cause the network unusable and even damage the card and slot;
- Using non-standard Nano SIM card may cause damage not covered by the warranty.
Use Scan Engine
Align the aiming beam with the barcodes, and adjust the angle between the beam and the barcodes to get the best results. The recommended range from the mobile computer to the barcodes is 7 to 30cm.
- Select Demos > Scan Demo;
- Touch Scan on the screen or press and hold any Scan button;
- Point the mobile computer at the bar code;
- Adjust the aiming beam: for optimum performance, avoid reflections by scanning the barcode at a slight angle. Scan the barcode to slowly move the aiming beam over the bar code;
- The information is obtained when the barcode is successfully decoded and the mobile computer beeps.

A Scan Engine
Aiming Beam
The aiming beam gets narrower when the mobile computer gets closer to the barcodes, while it gets wider when the mobile computer gets farther from the barcodes.
The smaller the barcodes, the closer the aiming beams should get to the barcodes
The bigger the barcodes, the father the aiming beams should get to the barcodes
Beam positions when scan QR Code

Technical Support
For information about technical support, after-sales service and maintenance, please visit www.honeywellaidc.com.
Documentation
The local version of this article is available at www.honeywellaidc.com.
Patents
For patent information, please refer to www.honeywellaidc.com/patents.
Limited Warranty
For warranty information, go to www.honeywellaidc.com/warranty_information.
Disclaimer
Honeywell International Inc. (“HII”) reserves the right to make changes in specifications and other information contained in this document without prior notice, and the reader should in all cases consult HII to determine whether any such changes have been made. The information in this publication does not represent a commitment on the part of HII. HII is not responsible for direct or indirect loss caused by any technical or editing errors or omissions contained in this article.
This document contains proprietary information that is protected by copyright. All rights are reserved. No part of this document may be photocopied, reproduced, or translated into another language without the prior written consent of HII.
Copyright © 2021 Honeywell International Inc. All rights reserved.
Website: www.honeywellaidc.com

Preliminary Draft for Review, Not for Release, Not for Print
EDA52-ML-RS-01 (a prelim 2)
![]()
ScanPal EDA52 Handheld Computer
Agency Models: EDA52-0, EDA52-1
Publicly downloadable certificates are available at
www.honeywellaidc.com/compliance
Product documentation is available at
www.honeywellaidc.com
Caution: Any changes or modifications made to this equipment not expressly approved by Honeywell International Inc. may void the authorization to operate this equipment.
For body worn operation, this device has been tested and meets the limits regarding human exposure to electromagnetic radiation set forth in related FCC, IC and CE rules.
802.11 Caution: A Wireless Network Administrator should review the operating restrictions and use with a properly configured access point.
Models: EDA52-0, EDA52-1
FCC Part 15 Subpart B Class B
This device complies with Part 15 of the FCC Rules. Operation is subject to the following two conditions:
- This device may not cause harmful interference.
- This device must accept any interference received, including interference that may cause undesired operation.
This equipment has been tested and found to comply with the limits for a Class B digital device pursuant to Part 15 of the FCC Rules. These limits are designed to provide reasonable protection against harmful interference in a residential installation. This equipment generates, uses, and can radiate radio frequency
energy and, if not installed and used in accordance with the instructions, may cause harmful interference to radio communications. However, there is no guarantee that interference will not occur in a particular installation. If this equipment does cause harmful interference to radio or television reception, which can be
determined by turning the equipment off and on, the user is encouraged to try to correct the interference by one or more of the following measures:
- Reorient or relocate the receiving antenna.
- Increase the separation between the equipment and receiver.
- Connect the equipment into an outlet on a circuit different from that to which the receiver is connected.
- Consult the dealer or an experienced radio or television technician for help.
If necessary, the user should consult the dealer or an experienced radio/television technician for additional suggestions. Honeywell International Inc. is not responsible for any radio or television interference caused by unauthorized modifications of this equipment or the substitution or attachment of connecting cables and equipment other than those specified by Honeywell International Inc. The correction is the responsibility of the user.
Use only shielded data cables with this system.
Models: EDA52-0, EDA52-1
Canadian Compliance
This device complies with Industry Canada license-exempt RSS standard(s). Operation is subject to the following two conditions:
- This device may not cause harmful interference.
- This device must accept any interference received, including interference that may cause undesired operation.
CAN ICES-3 (B) /NMB-3 (B)
Models: EDA52-0, EDA52-1
802.11a Radio Precaution Statements (North America)
- 802.11a wireless LAN 5150 to 5250 MHz (5.15 to 5.25 GHz) (5 GHz radio channels 36 – 48) is restricted to indoor operations to reduce harmful interference to co-channel Mobile Satellite System (MSS) operations.
- The maximum antenna gain permitted for devices in the bands 5250-5350 MHz and 5470-5725 MHz shall comply with the EIRP limit.
- The maximum antenna gain permitted for devices in the band 5725-5850 MHz shall comply with the EIRP limits specified for point-to-point and non-point-to-point operation as appropriate.
- Be advised that high-power radars are allocated as primary users (i.e., priority users) of the bands 5250-5350 MHz and 5650-5850 MHz and that these radars could cause interference and/or damage to LE-LAN devices.
This device and its antenna(s) must not be co-located or operating in conjunction with any other antenna or transmitter, except tested built-in radios.
The County Code Selection feature is disabled for products marketed in the US/Canada.
Honeywell International Inc. hereby declares that the radio equipment types, non-specific SRD (Models: EDA52-0, EDA52-1) and cellular (Model: EDA52-1), are in compliance with the following directives:
- 2014/53/EU Radio Equipment
- 2011/65/EU RoHS (Recast)
The full text of the EU declaration of conformity is available at the following internet address:
www.honeywellaidc.com/compliance.
European contact:
Honeywell Productivity Solutions BV
Lagelandseweg 70
6545CG Nijmegen
The Netherlands
United Kingdom Contact: United Kingdom Honeywell Scanning and Mobility, Honeywell House, Skimped Hill Lane, Bracknell, Berkshire, RG12 1EB Phone: +44 (0)1344921052
The equipment is intended for use throughout the European Community.
Operating Frequency Ranges
Model: EDA52-1
- 13-14 MHz (NFC): -19.45 dBµA/m @10 m EIRP
- 2400-2483.5 MHz (PAN Bluetooth): 6.86 dBm EIRP
- 2400-2483.5 MHz (Bluetooth Low Energy): 6.79 dBm EIRP
- 2400-2483.5 MHz (WLAN IEEE 802.11b/g/n): 17.46 dBm EIRP
- 5150-5350 MHz, 5470-5725 MHz and 5725-5875 MHz (WLAN/RLAN IEEE 802.11a/n/ac): 17.93 dBm, 17.82 dBm, and 13.91 dBm (5G B4) EIRP
- 1710-1785 / 1805-1880 MHz (LTE Band 3, Tx/Rx): 23.21 dBm
- 2500-2570 / 2620-2690 MHz (LTE Band 7, Tx/Rx): 22.33 dBm
- 832-862 / 791-821 MHz (LTE Band 20, Tx/Rx): 24.27 dBm
- 1920-1980 / 2110-2170 MHz (LTE Band 1,Tx/Rx): 22.73 dBm
- 880-915 / 925-960 MHz (LTE Band 8, Tx/Rx): 22.15 dBm
- 703-748 / 758-803 MHz (LTE Band 28, Tx/Rx): 23.85 dBm
- 2570-2620 MHz (LTE Band 38): 22.92 dBm
- 2300-2400MHz (LTE Band 40): 22.64 dBm
- 880-915 / 925-960 MHz (UMTS 900 Band, Tx/Rx): 23.90 dBm
- 1920-1980 / 2110-2170 MHz (UMTS 2100 Band, Tx/Rx): 24.99 dBm
- 880-915 / 925-960 MHz (GSM/EGPRS GSM 900 Band, Tx/Rx): 33.71 dBm
- 1710-1785 / 1805-1880 MHz (GSM/EGPRS DCS 1800 Band, Tx/Rx): 30.89 dBm
| Restrictions (Revision ERC/REC 70-03 E 2017-02, Annex 3 Band A: 2400-2483.5 MHz): | |
| AZ | No license needed if used indoor and power not exceeding 30 mW. |
| IT | The public use is subject to general authorization by the respective service provider. |
| RU | SRD with FHSS modulation
SRD with DSSS and other than FHSS wideband modulation
|
| UA | EIRP =100 mW with built-in antenna with amplification factor up to 6 dBi |
Models: EDA52-0
• 13-14 MHz (NFC): -19.56 dBµA/m @10 m EIRP
• 2400-2483.5 MHz (PAN Bluetooth): 6.86 dBm EIRP
• 2400-2483.5 MHz (Bluetooth Low Energy): 6.79 dBm EIRP
• 2400-2483.5 MHz (WLAN IEEE 802.11b/g/n): 17.46 dBm EIRP
• 5150-5350 MHz, 5470-5725 MHz and 5725-5875 MHz (WLAN/RLAN IEEE 802.11a/n/ac): 17.93 dBm, 17.82 dBm, and 13.91 dBm (5G B4) EIRP
802.11a/b/g/n/ac, Bluetooth and NFC
European Community Restrictions: 5150-5350 MHz is for indoor use only.
![]() | AT | BE | BG | HR | CY | CZ | DK | EE | FI | FR | DE | GR |
| HU | IS | IE | IT | LV | LI | LT | LU | MT | NL | NO | PL | |
| PT | RO | SK | SI | ES | SE | CH | RU | RS | TR | UK | UK(NI) |
| Restrictions (Revision ERC/REC 70-03 E 2017-02, Annex 13 Band E1: 5150-5350 MHz, Band E2: 5470-5725 MHz): | |
| AZ | No license needed if used indoor and power not exceeding 30 mW |
| Restrictions (Revision ERC/REC 70-03 E 2017-02, Annex 9 Band J2: 13553-13567 kHz): | |
| AZ | Not implemented or no information. |
| BY | Not implemented. |
| GE | Not implemented. |
| RU | Maximum magnetic field strength is +42 dBµA/m at 10 m. |
| UA | The maximal strength of magnetic field on the distance of 10 m from a construction where the radiator is placed is 42 dBµA/m. |
Product Environmental Information
Refer to www.honeywellaidc.com/environmental for the RoHS / REACH / WEEE information.
Models: EDA52-0, EDA52-1
USA, Canada NRTL Safety
cTUVus listed: UL60950-1 2nd Edition, CSA C22.2 No. 60950-1-07 2nd Edition and UL62368-1 2nd Edition, CSA C22.2 No. 62368-1-14 2nd Edition.
Warning! To prevent possible hearing damage, do not listen at high volume levels for long periods.
Microwaves
The radio in the ScanPal EDA52 RF terminal operates on the same frequency band as a microwave oven. Therefore, if you use a microwave within range of the RF terminal you may notice performance degradation in your wireless network. However, both your microwave and your wireless network will continue to function.
LED Safety
LEDs have been tested and classified as “RISK GROUP 1 (Low Risk)” to the Standard: IEC 62471:2006.
Laser Compliance and Precaution
This device has been tested in accordance with and complies with IEC60825-1:2014, 21 CFR 1040.10 and 1040.11, except for conformance with IEC 60825-1 Ed. 3, as described in Laser Notice No. 56, dated May 08, 2019.
EDA52 devices that include a laser caution label (see far right) affixed to housing are a CLASS 2 LASER PRODUCT. This product has a maximum output of 1 mW at 630-680 nm.
Caution: Use of controls or adjustments or performance of procedures other than those specified herein may result in hazardous radiation exposure.
CAUTION CLASER RADIATION DO NOT STARE INTO BEAM. CLA -SS 2 LASER PRODUCT.
MAX.
1mW. 630-680nm. Pulse duration of 16.8m Sec. IEC 60825-1:2014 Complies with 21 CFR 1040. 10 and 1040.11 except for conformance with IEC 60825-1 Ed. 3.,as described in Laser Notice No. 56, dated May 8, 2019.
MAX: 1mW. 630-680nm
GB 7247.1-2012
CAUTION: Improper battery replacement or incompatible device usage may result in risk of burns, fire, explosion, or other hazard. Dispose of batteries according to local regulations.
RF Exposure Information (SAR)
This mobile phone meets the government’s requirements for exposure to radio waves. This phone is designed and manufactured not to exceed the emission limits for exposure to radio frequency (RF) energy set by the Federal Communications Commission of the U.S. Government and Canadian Government.
The exposure standard for wireless mobile phones employs a unit of measurement known as the Specific Absorption Rate, or SAR. The SAR limit set by the government FCC/IC is 1.6 W/kg and for Europe 2 W/Kg. Although the SAR is determined at the highest certified power level, the actual SAR level of the phone while operating can be well below the maximum value. This is because the phone is designed to operate at multiple power levels so as to use only the power required to reach the network. In general, the closer you are to a wireless base station antenna, the lower the power output.
Model EDA52-1
FCC SAR
The highest reported FCC SAR values for head and body-worn accessory use conditions are: 0.70 W/kg (1g) and 1.43 W/kg (1g).
Model EDA52-0
FCC SAR
The highest reported FCC SAR values for head and body-worn accessory use conditions are: 0.27 W/kg (1g) and 0.67 W/kg (1g).
IC SAR
The highest reported IC SAR values for head and body-worn accessory use conditions are: 0.27 W/kg (1g) and 0.67 W/kg (1g).
The FCC has granted an Equipment Authorization for this model phone with all reported SAR levels evaluated as in compliance with the FCC RF exposure guidelines. SAR information on this model phone is on file with the FCC and can be found under the Display Grant section of www.fcc.gov/oet/ea/fccid after searching on FCC ID/IC ID:
HD5-EDA520/1693B-EDA520/HD5-EDA521
Model EDA52-0
CE SAR
The highest reported CE SAR value for head and body-worn accessory use conditions are: 0.13 W/kg (10 g) and 0.20 W/kg (1g).
Model EDA52-1
CE SAR
The highest reported CE SAR The highest reported FCC SAR values for head, body-worn accessory and simultaneous transmission use conditions are: 0.31 W/kg (1g), 1.63 W/kg (1g), and 1.77 W/kg (1g).
For body-worn operation, this device has been tested and meets the ICNIRP guidelines and the European Standard EN62209-2, for use with dedicated accessories. SAR is measured with this device at a separation of 5mm to the body. While there may be differences between the SAR levels of various phones and at various positions, they all meet the government requirement.
Caution: If a body worn accessory is not purchased from Honeywell, the accessory must contain no metal and provide a 1.5 cm (0.6 in) space between the device and the body. Use of antennas and accessories not authorized may void the compliance of this product and may result in RF exposures beyond the limits established for this equipment.
Hearing Aid Compatibility (HAC) Consumer Information
a) This equipment complies with Part 68 of the FCC rules and the requirements adopted by the ACTA. In the battery well of this equipment is a label that contains, among other information, a product identifier in the format US: HD5IPNANEDA52-0. If requested, this number must be provided to the telephone company.
b) The telephone company may make changes in its facilities, equipment, operations or procedures that could affect the operation of the equipment. If this happens the telephone company will provide advance notice in order for you to make necessary modifications to maintain uninterrupted service.
c) Should you experience trouble with this equipment, please contact Honeywell International Inc, 13509 South Point Blvd, Ste.100, Charlotte, NC 28273, Tel: 800-782-4263 for repair or warranty information. If the equipment is causing harm to the telephone network, the telephone company may request that you disconnect the equipment until the problem is resolved.
d) Please follow instructions for repairing if any (e.g. battery replacement section); otherwise do not alternate or repair any parts of device except specified.
e) This equipment is hearing aid compatible.
(Models) : EDA52-0, EDA52-1
(Names and Content of Hazardous Substances in the Product)
| Parts Name | Hazardous Substance | |||||
| Pb | Hg | Cd | Cr6+ | PBB | PBDE | |
| Metal parts | X | O | O | O | O | O |
| Circuit module | X | O | O | O | O | O |
| Cable assembly | O | O | O | O | O | O |
| Plastic and polymer parts | O | O | O | O | O | O |
| Optical components | O | O | O | O | O | O |
| Battery | X | O | O | O | O | O |
| SJ/T 11364 (The table is created in accordance to SJ/T 11364.) O: (Indicates that this hazardous substance contained in all of the homogeneous materials for this part is below the limit requirement in China’s GB/T 26572.) X: (Indicates that this hazardous substance contained in at least one of the homogeneous materials for this part is above the limit requirement in China’s GB/T 26572.) | ||||||
Patents
For patent information, refer to www.hsmpats.com.
For warranty information, go to www.honeywellaidc.com and click Resources> Product Warranty.
This document was prepared and executed in the English language. In the event this document is translated into another language and a conflict arises between the English version and a non-English version, the English version shall prevail, it being recognized and acknowledged that the English language version most clearly expresses the intent of the parties. Any notice or communication given in connection with this document must include a version in the English language.
Honeywell International Inc.
9680 Old Bailes Road
Fort Mill, SC 29707 USA
© 2021 Honeywell International Inc. All rights reserved.
EDA52-ML-RS-01 (a prelim 2)
References
FCC ID Search | Federal Communications Commission
honeywellaicd.com/
Safety and Productivity Solutions | Honeywell
Productivity Product Certifications
Safety and Productivity Solutions | Honeywell
Safety and Productivity Solutions | Honeywell
Safety and Productivity Solutions | Honeywell
Safety and Productivity Solutions | Honeywell
Productivity products and associated patents | Honeywell
Models: EDA52-0, EDA52-1

















