LE100 Solar Panels
User Manual
LE100 Solar Panels
Thank you for choosing the VIKING solar panel.
Read all instructions and warnings in this manual carefully before first use.
The VIKING solar charging panel is an ideal helper for charging any electronics.
The solar panel does not contain a rechargeable battery and is therefore unable to store energy. It generates energy only in direct sunlight. Without direct sunlight, the production of el. energy is limited and thus its functionality and ability to create el. energy.
Instructions for using the VIKING solar system
- Unfold the solar panel and expose it to direct sunlight without obstruction. Do not place it in the shade or in places where the shadow will appear in the future.
- For maximum performance, the open solar panel should face the sun.
Tip: To achieve the maximum output power of the solar modules, it is recommended to set the solar modules to the south based on the solar path.
CHARGING BATTERY GENERATORS
When using solar panels to charge VIKING battery generators, follow these steps:
- Remove the solar panel from the protective packaging and open it toward the sun
- Connect the solar cable with MC4 terminals to the rechargeable MC4 solar terminals from the battery generator (VIKING L50 -JACK 5.5 / 2.1 terminals)
- If everything is connected correctly, the solar panel is open and produces energy, the battery generator starts charging
Warning – Caution:
- Do not disassemble the device and its accessories
- Do not modify, disassemble, open, puncture, or otherwise tamper with the salt. panel
- Protect from fire, direct rain, and prolonged direct sunlight
- Protect against high-voltage equipment
- Do not throw or shake the device
- This appliance is not intended for use by persons (including children) whose physical, sensory, or mental disability or lack of experience and knowledge prevents them from using the appliance safely.
- Do not use chemical cleaners, etc. Ignoring the following safety instructions may result in fire, electric shock, or damage to digital equipment.
Stop using this device immediately if it is damaged in any way.
Keep out of reach of children.
This device complies with Part 15 of the FCC Rules. Operation is subject to the following two conditions:
- This device may not cause harmful interference, and
- This device must accept any interference received, including interference that may cause undesired operation of the device.
Notice:
Do not dispose of the product at the end of its useful life as unsorted municipal waste, use separate waste collection points. By ensuring this product is disposed of correctly, you will help prevent potential negative consequences for the environment and human health, which could otherwise be caused by inappropriate waste handling of this product. The recycling of materials will help to conserve natural resources. For more detailed information about recycling this product, please contact your local city office, your household waste disposal service, or the shop where you purchased the product.
Loss of warranty:
The warranty expires under the following conditions:
- Damage due to improper use or use in unsuitable conditions.
- The current, voltage, or power of the PV or DC system is outside the nominal values of the solar panel.
- An attempt by the user to perform improper repair or disassembly.
- The solar panel or any part of it is damaged by natural elements, such as lightning, water, mechanical damage, etc.
- The solar panel or any part of it is damaged due to careless handling.
Declaration:
All rights reserved. Reproduction of this document in any form and by any means without the written permission of the owner of BONA SPES s.r.o. is prohibited. All other trademarks are trademarks of their respective owners.
Features and specifications are subject to change without notice.
Special instructions for the VIKING SCM120 solar panel
- For both horizontal and vertical panel mounting, the wiring box (on the back of the panel) should always be at the top. When mounting vertically, always try to keep the wiring box on top, otherwise, water may be trapped in or around it.
- Use only stainless steel mounting parts. The groove for the cables and their fastening should be arranged at the bottom of the panel. Make sure that no water is trapped there.
- The installed panel must not cover any ventilation opening of the existing equipment on the roof.
- The working range of mounted satellite dishes and similar devices should also not be limited.
- The mounting surface must be flat, do not mount the device on a rounded or sloping surface.
- Despite the safe construction of this product, we recommend handling it with care.
- When installing the solar panel, make sure that the wind cannot get under the solar panel and thus cause it to tear off and be damaged.
- Do not use high-pressure cleaners! The panels are usually cleaned by rain.
- If the surface of the panel is dirty with attached leaves, bird droppings, pollen, etc., we recommend cleaning it with a sufficient amount of water, but without detergent. It is best to clean a garden hose and a soft object, such as a sponge or car wash brush, to clean it.
- Never scrape or wipe dry dirt to avoid micro-scratches that can cause the performance of the device to decline or be permanently damaged.
Technical specifications and description of VIKING panels
| type | specifikace | ||||||
| dimension (folded) | weight | max. power | max. supply voltage | max. current | open circuit voltage | short-circuit current | |
| L50 (4×12.5W) L110 (2x55W) | mm | Kg | W | V | A | V | A |
| 355*290*25 | 2.57 | 50 | 17.8 | 2.80 | 21.3 | 3.03 | |
| 660*520*15 | 3.87 | 110 | 17.8 | 6.18 | 21.0 | 6.59 | |
| L80 (2x40W) | 560*440*15 | 1.6 | 80 | 20.88 | 3.98 | 24.64 | 4.22 |
| LVP80 (2x40W) | 510*515*50 | 4.5 | 80 | 19.8 | 4.37 | 22.3 | 4.72 |
| LVP120 (2x60W) | 715*515*50 | 6.3 | 120 | 19.8 | 6.06 | 23.4 | 6.42 |
| SCM120 (1x120W) | 355*290*25 | 2.57 | 50 | 17.8 | 6.06 | 21.3 | 6.42 |
Image No.3 – Technical description of the VIKING LVP80 and LVP120 solar panel
| no. | description |
| 1 | Protective elements |
| 2 | Protective elements |
| 3 | Support legs |
| 4 | Solar panel |
| 5 | Cable clamps |
| 6 | Connecting hinges sol. panels |
| 7 | MC4 connector |
Image No.2 – Technical description of the VIKING L80 and L110 solar panel
| no. | description |
| 1 | Solar panel |
| 2 | Protect. textile cover |
| 3 | Handle |
| 4 | Support legs |
| 5 | Charging cable pocket |
| 6 | Charging cable 5m |
| 7 | MC4 connector |
Image No.1 – Technical description of the VIKING L50 solar panel
| no. | description |
| 1 | Solar panel |
| 2 | Protect. textile cover |
| 3 | Handle |
| 4 | Charging cable pocket |
| 5 | Charging cable 5m |
| 6 | Konektor typu Jack 5.5/2.1 mm |
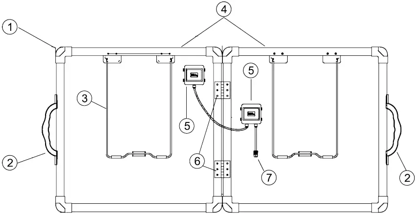
Image No.4 – Technical description of the VIKING LE60 and LE100 solar panel
| no. | Solar panel |
| 1 | description |
| 2 | MC4 connector |
When the bracket is unfolded to the extreme position, avoid using force to prevent the solar panels from deforming and sticking together!
user manual
CZ/SK/EN/DE/HU
https://www.best-power.cz/solarni-panely/
VIKING products are distributed and serviced by:
BONA SPES s.r.o.,
Řepčín 250, Olomouc 77900, Czechia
VAT No.: 03476774, +420 777 109 009,
www.best-power.cz,
[email protected]![]()


















