INSTRUCTION MANUAL
RS0301
RS0301 Accu Winder
THANK YOU FOR CHOOSING DYNELLO!
If you have any questions, please go to www.dynello.com
INTENDED USE
Your Dynello-product has been designed for rewinding applications of cargo straps, following design specifications in EN 12195-2, as well as other rewinding applications specified by Dynello.
SAFETY INTRUCTIONS
WARNING! Read all safety warnings and all instructions. Failure to follow the warnings and instructions may result in electric shock, fire and/or serious injury.
WARNING: Read all safety warnings and all instructions provided with your Power Unit before using this attachment. Failure to follow the warnings and instructions may result in electric shock,fire and/or serious injury.
Safety warnings and instructions
Save all warnings and instructions for future reference. The term “Power Unit” in the warnings refers to your mainsoperated (corded) power tool or batteryoperated (cordless) power tool.
- Do not use product for other than its intended use. Other uses can may result in serious personal injury.
- Stay alert, watch what you are doing and use common sense when operating a Power Unit. Do not use a Power Unit while you are tired or under the influence of drugs, alcohol or medication. A moment of inattention while operating Power Units may result in serious personal injury.
- Use personal protective equipment. Always wear eye protection. Protective equipment such as dust mask, nonskid safety shoes, hard hat, or hearing protection used for appropriate conditions will reduce personal injuries.
- Dress properly. Do not wear loose clothing or jewelry. Keep your hair, clothing and gloves away from moving parts. Loose clothes,jewelry or long hair can be caught in
moving parts.
Additional safety warnings
- Ensure that the cargo strap is gathered so its metal hook cannot grip any surrounding objects. This can lead to dangerous situations and risk of injury if the cargo strap is not gathered before rewinding.
- Do not move while the Power Unit is used. It can cause injury if control of the Power Unit is lost.
- When rewinding, note the cargo strap hook and reduce the tool speed when the hook is approaching the tool. It may cause risk of injury if the attention on the hook is lost. • Do not touch the rotating parts of the Power Unit and tool while it is being used, as this may cause risk of injury.
- The Power Units torque and speed control must be set to the lowest until you are familiar with the function of the tool. It may cause risk of injury if highest speed and torque are used.
Safety of others
- This tool is not intended for use by persons (including children) with reduced physical, sensory or mental capabilities, or lack of experience and knowledge, unless they have been given supervision or instruction concerning use of the tool by a person responsible for their safety.
- Children should be supervised to ensure that they do not play with the tool.
- Be aware of your surroundings and never use the tool if there is a risk that might result in dangerous situations.
Residual risks
Additional residual risks may arise when using the tool which may not be included in the enclosed safety warnings. These risks can arise from misuse, prolonged use etc. Even with the application of the relevant safety regulations and the implementation of safety devices, certain residual risks can not be avoided. These include:
- Injuries caused by touching any rotating/moving parts.
- Injuries caused when attaching the tool to the Power Unit.
- Injuries caused by prolonged use of a tool. When using any tool for prolonged periods ensure you take regular breaks.
- Injuries caused by external parts or appliances when operating the tool. When using the tool be aware of external rotating/moving parts to avoid injury.
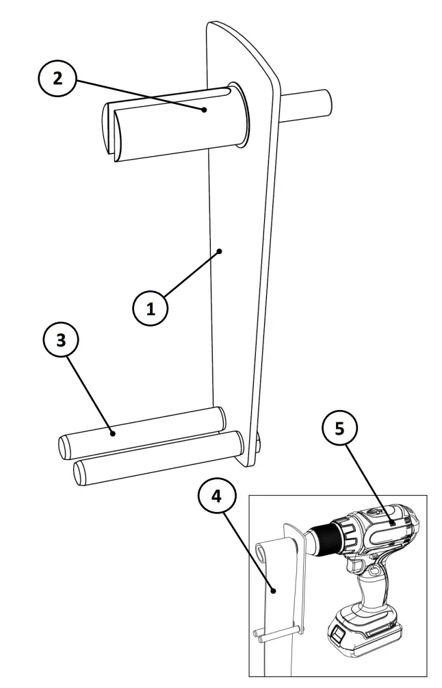
FEATURES
This tool includes the following features:
- Base plate
- Fork shaft / shaft bit
- Guide pins Other references:
- Cargo strap (not included)
- Power Unit (not included)
USE
WARNING! The Power Units torque and speed control must be set to the lowest until you are familiar with the function of the tool. It may cause risk of injury if highest speed and torque are used.
WARNING! Do not use the tool for other than its intended use. Other usage can cause personal injury and damage.
Attaching/removing the tool
- Open the chuck on the Power Unit (5). The chuck must fit with a minimum Ø10mm shaft bit.
- Insert the shaft bit (2) into the chuck, and tighten the chuck properly.
- To remove the tool, untighten the chuck on the Power Unit and remove the tool.
Insert strap and rewinding (Fig. A – B – C – D)
- Insert strap (4) between guide pins (3) and next into fork shaft (2) (Fig. A & Fig. B).
- Hold and control the tool during winding with your free hand (Fig. C & Fig. D).
- Control speed of rewinding with the adjustable switch on the Power Unit. To stop winding, release the switch.
- When the strap is wound to the end, immediately release the switch.
Removing a strap
- First, remove the strap from the guide pins.
- Second, pull off the strap from the fork shaft.
MAINTENANCE
- Regularly oil the joint between the base plate (1) and the fork shaft (2).
- Keep the tool free from water if not used for a longer period of time.
PROTECTING THE
ENVIRONMENT
Should you find one day that your Dynello product needs replacement, or if it is of no further use to you, do not dispose of it with household waste. Make this product available for separate collection.
Separate collection of used products and packaging allows materials to be recycled and used again.
Re-use of recycled materials helps prevent environ- mental pollution and reduces thedemand for raw materials.
Local regulations may provide for separate collection of hardware products from the household, at municipal waste sites or by the retailer when you purchase a new product.
Dynello provides a facility for the collection and recycling of Dynello products once they have reached the end of their working life. To take advantage of this service please return your product to any authorised repair agent who will collect them on our behalf.
TECHNICAL DATA
| RS0301 | |
| Weight | Kg. 0.35 |
GUARANTEE
Dynello is confident of the quality of its products and offers an outstanding guarantee. This statement is in addition to and in no way prejudices your statutory rights. The guarantee is valid within the territories of the Member States of the European Union and the European Free Trade Area. If your Dynello tool becomes defective due to faulty materials, workmanship or lack of conformity, within 24 months from the date of purchase, Dynello guarantees to replace defective parts, repair products subjected to fair wear and tear or replace such tool to ensure minimum inconvenience to the customer unless:
- The tool or equipment has been subjected to misuse or neglect;
- The tool or equipment has sustained damage through foreign objects, substances or accidents;
- Repairs have been attempted by persons other than authorised repair agents or Dynello service staff.
To claim on the guarantee, you will need to submit proof of purchase to the seller or an authorised repair agent.
You can check the location of your nearest authorised repair agent at our website www.dynello.com
Further information on the Dynello brand and our range of products is also availableat www.dynello.com
EC DECLARATION OF CONFORMITY
MACHINERY DIRECTIVE
RS0301
Dynello declares that these products described under “Technical data” are in compliance with: 2006/42/EC
For more information please visit our website: www.dynello.com
The undersigned is responsible for compilation of the technical file and makes this declaration on behalf of Dynello.
Jens Kjærulff
CEO
Dynello, Rudemøllevej 78A
7800 Skive
Denmark
24.02.2020
THANK YOU
Thank you for buying a Dynello-quality product. This product is manufactured on modern production- and quality management methods. We will do everything to ensure that you are satisfied and can use it without any problems. If you have any questions regarding the tool, please contact your seller or Dynello. Best regards, Jens Kjærulff, Founder of Dynello
DYNELLO PRO
www.dynello.com/pro
This site will consist of tips and tricks to how you can improve your working life with Dynello Products. At Dynello we are continuously pushing the boundaries for working nvironment technology and tools within load securing, and we want to share that progress with you. Are you ready to take a part in this journey, then sign up for our newsletter to get the latest product news.
All rights reserved. Copyright © Dynello 2020



















