OASE 50409 Pondovac 4 Pond Vacuum Cleaner

PRODUCT INFORMATION
The PondoVac 3 is an electrical appliance designed for household use only. It is a powerful pond vacuum that can be used to remove debris from ponds, fountains, and other water features. The appliance is equipped with a cord having an equipment-grounding conductor and grounding plug, which provides a path of least resistance for electric current to reduce the risk of electric shock.
Important Safety Instructions
Before using the PondoVac 3, it is important to read all instructions carefully and follow the safety precautions listed below:
- Do not leave appliance plugged in when not in use or before servicing.
- Do not expose to rain and store indoors.
- Do not allow children to use the appliance without close supervision.
- Use only as described in the manual and with manufacturer’s recommended attachments.
- Do not use with damaged cord or plug and return it to a service center if it has been dropped, damaged, or left outdoors.
- Do not pull or carry by cord, use cord as a handle, close a door on cord, or pull cord around sharp edges or corners.
- Do not unplug by pulling on cord and handle plug or appliance with dry hands only.
- Do not put any object into openings and keep free of dust, lint, hair, and anything that may reduce air flow.
- Turn off all controls before unplugging.
- Use extra care when cleaning on stairs and do not use to pick up flammable or combustible liquids.
- Connect to a properly grounded outlet only.
- Unplug before connecting hose and accessories.
- Do not pick up anything that is burning or smoking, such as cigarettes, matches, or hot ashes.
- Do not use without dust bag and/or filters in place.
Save these instructions for future reference.
Grounding Instructions
The PondoVac 3 must be grounded to reduce the risk of electric shock. The appliance is equipped with a grounding attachment plug that must be inserted into an appropriate outlet that is properly installed and grounded in accordance with all local codes and ordinances. The appliance is designed for use on a nominal 120-V circuit and no adaptor should be used with this appliance.
Reminder
If you experience any issues with the PondoVac 3, call 1-866-627-3435 before returning it to the store.
Symbols Used in These Instructions
- Risk of injury to persons due to dangerous electrical voltage: This symbol indicates an imminent danger, which can lead to death or severe injuries if the appropriate measures are not taken.
- Risk of personal injury caused by a general source of danger: This symbol indicates an imminent danger, which can lead to death or severe injuries if the appropriate measures are not taken.
Product Usage Instructions
- Before using the PondoVac 3, read all instructions carefully and follow the safety precautions listed above.
- Connect the appliance to a properly grounded outlet.
- Insert the dust bag and/or filters in place before using the appliance.
- Turn on all controls before using the appliance.
- Use the appliance to remove debris from ponds, fountains, and other water features.
- Turn off all controls before unplugging the appliance.
- Unplug the appliance before disconnecting the hose and accessories.
- After using the appliance, remove the dust bag and/or filters and clean them thoroughly.
- Store the appliance indoors in a dry and safe place.
IMPORTANT SAFETY INSTRUCTIONS
When using an electrical appliance, basic precautions should always be followed, including the following:
READ ALL INSTRUCTIONS BEFORE USING (THIS APPLIANCE)
WARNING – To reduce the risk of fire, electric shock, or injury:
- Do not leave appliance when plugged in. Unplug from outlet when not in use and before servicing.
- Do not expose to rain, store indoors.
- Do not allow to be used as a toy. Close attention is necessary when used by or near children.
- Use only as described in this manual. Use only manufacturer’s recommended attachments.
- Do not use with damaged cord or plug. If appliance is not working as it should, has been dropped, damaged, left outdoors, or dropped into water, return it to a service center.
- Do not pull or carry by cord, use cord as a handle, close a door on cord, or pull cord around sharp edges or corners. Do not run appliance over cord. Keep cord away from heated surfaces.
- Do not unplug by pulling on cord. To unplug, grasp the plug, not the cord.
- Do not handle plug or appliance with wet hands.
- Do not put any object into openings. Do not use with any opening blocked; keep free of dust, lint, hair, and anything that may reduce air flow.
- Keep hair, loose clothing, fingers, and all parts of body away from openings and moving parts.
- Turn off all controls before unplugging.
- Use extra care when cleaning on stairs.
- Do not use to pick up flammable or combustible liquids, such as gasoline, or use in areas where they may be pre-sent.
- Connect to a properly grounded outlet only. See Grounding Instructions.
- Unplug before connecting hose and accessories
- Do not pick up anything that is burning or smoking, such as cigarettes, matches, or hot ashes.
- Do not use without dust bag and/or filters in place.
SAVE THESE INSTRUCTIONS
GROUNDING INSTRUCTIONS
- This appliance must be grounded. If it should malfunction or breakdown, grounding provides a path of least resistance for electric current to reduce the risk of electric shock. This appliance is equipped with a cord having an equipment-grounding conductor and grounding plug. The plug must be inserted into an appropriate outlet that is properly installed and grounded in accordance with all local codes and ordinances.
WARNING – Improper connection of the equipment-grounding conductor can result in a risk of electric shock. Check with a qualified electrician or service person if you are in doubt as to whether the outlet is properly grounded. Do not modify the plug provided with the appliance – if it will not fit the outlet, have a proper outlet installed by a qualified electrician. - This appliance is for use on a nominal 120-V circuit and has a grounding attachment plug that looks like the plug illustrated in sketch A. Make sure that the appliance is connected to an outlet having the same configuration as the plug. No adaptor should be used with this appliance.

Information about these operating instructions
- Welcome to OASE Living Water. You made a good choice with the purchase of this product PondoVac 3.
- Prior to commissioning the unit, please read the instructions of use carefully and fully familiarise yourself with the unit. Ensure that all work on and with this unit is only carried out in accordance with these instructions.
- Please strictly follow the enclosed instructions to ensure safe and correct handling of the product.
- Keep these instructions in a safe place! Please also hand over the instructions when passing the unit on to a new owner.
Symbols used in these instructions
The symbols used in this operating manual have the following meanings:

Scope of delivery

| Figure (A) | Number | Description | |
| 1 | 1 | PondoVac 3 Sludge suction unit | |
| 2 | 1 | 13 ft (4 m) suction hose | |
| 3 | 1 | 8 ft (2.5 m) drain hose | |
| 4 | 1 | Inlet distributor | |
| 6 | 1 | Extension tube, transparent | |
| 7 | 4 | Extension tubes, plastic (PP) | |
| 8 | 1 | Dirt catcher bag | |
| 9 | Set of tools | ||
| a | 1 | Universal tool | |
| b | 1 | Thread algae tool | |
| c | 1 | Wet suction tool | |
| d | 1 | ||
| 1 | Operating instructions | ||
Intended use
- PondoVac 3 , in the following text termed unit, is restricted to draw out pond sludge. This also applies to all other components being part of our scope of delivery. The attendant filter is only suitable for fluids.
- Taking in of dust or dirt will lead to its destruction.
- The unit is only intended for private domestic use, not for commercial purposes or rental.
- Never use the unit to collect flammable or toxic substances
- (e.g. benzene, asbestos, asbestos dust, copier toner),
- volatile substances,
- acids,
- hot or glowing ash,
- dust, sand or similar dirt.
Hazard in explosive environments
The unit is not explosion protected. Never use the unit in the presence of explosive dust, fluids or vapours!
Use other than that intended
This unit can be dangerous and cause harm to persons if not used in accordance with these instructions. Any use not in accordance with these instructions or modification(s) to the unit will void the limited warranty.
Questions, problems, missing parts?
Before returning to your retailer, call us at 1-866-627-3435, 8 a.m.-6 p.m., EST, Monday-Friday, or email us at [email protected]. Or visit our website at www.oase-livingwater.com
Installation
Preparation (Fig. C, D, E):
- Fit the wheels (11) on the housing.
- Bring the transport brace (12) into the desired position. For this purpose, loosen and retighten the hand screw (13).
- Fit the intake distributor (4) into the inlet (14) by performing a plug-turn movement (bayonet closure).
- Connect the suction hose (2) to the intake distributor (4).
- Fit the extension tube (Fig. A, 6, 7) at the hand-held nozzle of the tube (2). The transparent tube (6) allows a flow control to be able to detect blockages earlier.
- Slide on the tool (9) appropriate for the task.
Note: The higher the number of tubes used, the higher the tube frictional resistance. This leads to a reduction of the suction capacity.

Operation as a sludge suction unit (Fig. B, E)
Note: When the unit is used as a sludge suction unit, the waste water is directly drained through the drain hose (Fig. B, 3). The water is not collected in the container.

How to proceed:
- Place the unit at a minimum distance of 6.5 ft.(2 m) from the water.
- Route the drain hose (3) with a slight gravity: Places the unit slightly higher. Ensure a safe and stable position. Ensure that the drain opening (15) is above the water level.
- Plug the drain hose (3) into the drain opening (15) of the collection container.
- Ensure that the hose lies straight: Avoid kinks or bends caused by unevenness of the ground. Allow unrestricted draining of the water, which has to be disposed of in accordance with the local conditions.
Note: When you pull the dirt catcher bag (Fig. A, 8) over the free end of the drain hose (3), you can return the water, then free from coarse particles, such as dead leaves or algae, into the pond. As an alternative, the removed pond sludge can be used as plant fertiliser. In this case, lay the drain hose directly on a plant bed. Otherwise dispose of in accordance with the local conditions.
Use of the tools (Fig. A, 9):
- Universal tool (a): To remove pond sludge without taking in the pond gravel.
- Thread algae tool (b): For the separation and removal of thread algae.
- Wet suction tool (c): Only to be used when operating the unit as a wet vacuum cleaner to remove soiled water or residual water.
Note: Always work slowly, performing smooth, uniform movements. This largely prevents sediments from being swirled up.
Start-up
Connect the unit to the power supply. The unit is equipped with a power switch (Fig. F, 16):
- Position I: Automatic mode. Continuous operation.
- Position 0: The unit is switched off.

Operation
Abnormalities
Unusual behaviour could be encountered during operation.
- The unit heavily vibrates. Turn the unit off at the power switch (16) and on again after 20 seconds. If vibration per-sists, probably either
- the tank is full (when operated as a wet vacuum cleaner, plug inserted),
- or the intake distributor, the drain or the foam filter is soiled.
- In this case, clean and service the unit.
- Vapour develops. No reason to worry. This is condensate released through the ventilation slots in the form of water vapour. This effect is particularly encountered in cold weather.
Remedy of faults
| Malfunction | Cause | Remedy |
| Vapour escapes from the unit | In cold weather, condensate forms in the unit, which is released in the form of water vapour. | This is normal. No remedy necessary |
| The unit develops noise and/or heavy vibration | The tank is full | Drain tank |
| Intake distributor, drain or foam filter is soiled | Switch off the unit, wait 20 s, then switch on again. If the malfunction reoccurs, clean the unit. | |
| The unit does not suck or its performance reduces | No mains voltage | Check mains voltage |
| Excessive height difference between water level and unit | We recommend that the outlet height is slightly above the water level | |
| Both containers are full of water. The float bodies seal completely | Drain the unit | |
| Dirt plugs foam filters, the suction tube or the suction hose | Remove dirt | |
| The flap at the intake distributor is jammed or soiled | Remove the intake distributor. Check the flap seating (Fig. H, 25) | |
| O ring at the inlet distributor not properly seated | Check the O-ring seating (Fig. H, 25) | |
| The flap at the outlet valve is jammed or soiled | Remove the drain hose. Check the flap seating | |
| O ring at the distributor unit not properly seated | Check the O-ring seating (Fig. I, 28) | |
| O ring at the inner tank not properly seated | Check the O-ring seating (Fig. I, 27) | |
| Low suction capacity | Increased tube friction resistance | Keep the suction hose as short and flat as possible. |
| Suction depth too large. Due to the design, the suction capacity reduces as from a suction depth of 6.5 ft (2 m) | Reduce the suction depth | |
| The container does not empty | The drain hose is kinked or was not laid with an incline | Route the hose correctly. See Installation. |
| Drain hose or drain valve plugged with dirt | Remove dirt from the drain hose and the drain valve | |
| Poor unit switching behaviour between the containers, or no switch-over | Dirt film on the pistons after an extended down time | Remove motor housing (G, 17). Start the switching cycle manually by holding the motor head overhead. |
Maintenance and cleaning
Standard cleaning (Fig. F – H)
- Switch the unit off at the power switch (16) and pull out the power plug.
- Remove all hoses.
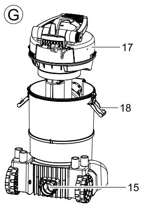
- Unlock the container lock (18).
- Remove the motor housing (17).
- Flush the inner tank (19), but do not remove.
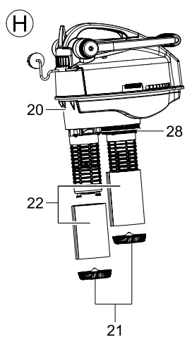
- Unlock the engagement plates (21) beneath the foam filters (22).
- Remove the foam filters (22) and wash out with clean water.
Note: Foam filters are wear parts. Check the foam filters at the same time. If damaged, only replace with original OASE spare parts.

Clean inner tank, collector, intake distributor and drain valve (Fig. I – K)
- Intake distributor (Fig. J): Turn the intake distributor (4) out of the bayonet closure (14). Check the completeness and condition of the rubber seals (25) in the intake distributor.
- Rinse the intake distributor.
- Remove the inner tank (Fig. I 19) and rinse.
- Check the condition of the rubber seal (27).
- Rinse the collector (Fig. K 24) and drain valve (23).
- Check seating and ease of movement of the flap (26) in the drain opening.
Note: Sealing rings and valve rubber elements are wear parts. If damaged or lost, only replace with original OASE spare parts.


Reassembling the unit
Subsequently, reassemble the unit in the reverse order. Do not forget to lock the motor housing using the engagement hooks (Fig. J, 18).
Wear parts
Foam filters, sealing rings and valve rubber parts are wear parts and are, therefore, not covered by our warranty.
Storage
Empty out the collection container and clean the unit. Store in a dry, frost protected room, inaccessible to children.
Disposal
Foam filters and seals no longer used can be disposed of with the household waste.
DISPOSAL
- Do not dispose of this unit with domestic waste! For disposal purposes, please use the return system provided.
- Disable the unit beforehand by cutting off the cables.
SPECIFICATION
| Dimensions | Rated voltage | Power consumption | Noise level when in operation | Suction hose | Draining hose | Cable length |
| 15 inch x 16.4 inch x 26.6 inch 390 mm x 415 mm x 670 mm | AC 120 V / 60 Hz | 10 A nominal 11 A max. | < 85 dB(A) | 13.2 ft 4 m | 8.2 ft 2.5 m | 13.2 ft 4 m |
PART LIST


| 1 2 3 4 5 6 7 8 9 10 11 | 13911 | |
| 28203 | ||
| 26760 | ||
| 27183 | ||
| 13912 | ||
| 29464 | ||
| 14102 | ||
| 13910 | ||
| 27989 | ||
| 13436 | ||
| 27546 | ||
| 12 | 27303 | |
| 13 | 35398 | |
| 14 | 27756 | |
| 15 | 33480 | |
| 16 | 25389 | |
| 27157 | ||
ABOUT COMPANY
- OASE North America Inc
- www.oase-livingwater.com





























